公布日:2023.01.03
申請日:2022.10.11
分類號:C02F11/12(2019.01)I;C02F11/121(2019.01)I;C02F103/06(2006.01)N
摘要
本申請涉及一種垃圾焚燒發電廠滲濾液處理方法及處理裝置,應用于廢水處理的技術領域,其包括如下步驟:預處理;厭氧處理;反硝化反應、硝化反應;膜生化處理;納濾處理,且得到的納濾清液達標排放;將超濾設備中的剩余污泥和納濾處理后產生的納濾濃縮液均由污泥泵抽取并通過引導組件導入污泥濃縮池池體的底部,污泥濃縮后,得到的上清液溢流回調節池,得到的濃縮污泥經過脫水處理后送入焚燒爐進行焚燒處理,完成污泥處理。本申請具有減小污泥進入污泥濃縮池時對上清液的濁度的影響的效果。

權利要求書
1.一種垃圾焚燒發電廠滲濾液處理方法,其特征在于:包括如下步驟:將滲濾液導入初沉池進行沉淀,沉淀后的雜質與污泥重新導入垃圾儲存坑,澄清后的滲濾液溢流到調節池中進行調質與調量,完成預處理;將調節池內的滲濾液導入厭氧反應器進行厭氧反應,沉淀性能良好的污泥經三相分離器的沉降面返回厭氧反應器主體,含有少量較輕污泥的污水從厭氧反應器上部排出,完成厭氧處理;將厭氧處理后的污水導入反硝化池進行反硝化反應,厭氧處理后的污水從反硝化池溢流至硝化池進行硝化反應;將硝化反應后的污水導入超濾設備,通過超濾設備對污水進行固液分離,完成膜生化處理;將超濾設備分離后的超濾清液送入納濾設備中,通過納濾設備的納濾膜組件對超濾清液進行過濾,完成納濾處理,且得到的納濾清液達標排放;將超濾設備中的剩余污泥和納濾處理后產生的納濾濃縮液均由污泥泵抽取至引導組件(12)并導入污泥濃縮池,引導組件(12)背離污泥泵的一端伸入污泥濃縮池的池體(1)底部,得到的上清液溢流回調節池,得到的濃縮污泥經過脫水處理后送入焚燒爐進行焚燒處理,完成污泥處理。
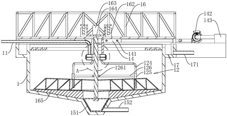
2.根據權利要求1所述的垃圾焚燒發電廠滲濾液處理方法用處理裝置,包括依次連通的初沉池、調節池、厭氧反應器、反硝化池、硝化池、超濾設備、納濾設備和板框壓濾機,硝化池連接有污泥濃縮池,所述污泥濃縮池連通所述調節池,所述污泥濃縮池包括池體(1)、進泥管(11)、安裝架(16)、攪拌板(165)和驅動電機(163),所述安裝架(16)設置于所述池體(1)的池口處,所述攪拌板(165)轉動設置于所述池體(1)的底部,所述驅動電機(163)用于驅動所述攪拌板(165)轉動,其特征在于:所述污泥濃縮池與超濾設備之間連接有引導組件(12),所述引導組件(12)包括固定環(121)、轉動環(123)和至少一根導泥管(125),所述固定環(121)固定于安裝架(16)上,所述固定環(121)同軸心轉動連接所述轉動環(123),所述固定環(121)的底壁開設有過泥槽一(1211),所述轉動環(123)的頂壁開設有過泥槽二(1231),所述轉動環(123)的頂壁與所述固定環(121)的底壁貼合,且所述過泥槽一(1211)連通所述過泥槽二(1231),所述導泥管(125)的一端連接所述轉動環(123)并連通所述過泥槽二(1231)、另一端伸入所述池體(1)的底部,所述進泥管(11)的一端連接用于抽取超濾設備中剩余污泥的污泥泵的輸出端,另一端連接所述固定環(121)并連通過泥槽一(1211)。
3.根據權利要求2所述的垃圾焚燒發電廠滲濾液處理方法用處理裝置,其特征在于:所述導泥管(125)內設置有螺旋板(1221)。
4.根據權利要求3所述的垃圾焚燒發電廠滲濾液處理方法用處理裝置,其特征在于:所述導泥管(125)的側壁開設有若干濾孔(1223)。
5.根據權利要求2所述的垃圾焚燒發電廠滲濾液處理方法用處理裝置,其特征在于:所述導泥管(125)的底端設置有壓泥板(13),所述導泥管(125)的底端與所述壓泥板(13)之間連接有用于拉動所述壓泥板(13)封蓋所述導泥管(125)底端的彈簧(133)。
6.根據權利要求5所述的垃圾焚燒發電廠滲濾液處理方法用處理裝置,其特征在于:所述壓泥板(13)朝向所述導泥管(125)的一側設置有錐形塊。
7.根據權利要求2所述的垃圾焚燒發電廠滲濾液處理方法用處理裝置,其特征在于:所述固定環(121)與所述轉動環(123)之間連接有連接環(122),所述固定環(121)的側壁開設有供所述連接環(122)滑動連接的環槽一(1212),所述轉動環(123)的側壁開設有供所述連接環(122)滑動連接的環槽二(1232)。
8.根據權利要求2所述的垃圾焚燒發電廠滲濾液處理方法用處理裝置,其特征在于:所述安裝架(16)上滑動設置有安裝板(161),所述驅動電機(163)固定于安裝板(161)上,所述驅動電機(163)的輸出軸連接有轉動軸(164),所述轉動軸(164)豎直設置,所述轉動軸(164)的底端連接所述攪拌板(165),所述安裝架(16)上設置有液壓缸(162),所述液壓缸(162)用于驅動所述安裝板(161)沿豎直方向滑動,所述轉動環(123)與所述導泥管(125)之間連接有連接管(124),所述連接管(124)的一端連接所述轉動環(123),所述導泥管(125)同軸心滑動套設于所述連接管(124)的另一端,所述轉動軸(164)上套設有升降環(1261),所述轉動軸(164)的側壁固定有用于抵貼所述升降環(1261)底壁的升降塊(1641),所述導泥管(125)連接所述升降環(1261)。
9.根據權利要求2所述的垃圾焚燒發電廠滲濾液處理方法用處理裝置,其特征在于:所述池體(1)的池口設置有若干集氣盒(14),所述集氣盒(14)的側壁連接有若干集氣管(141),所述集氣盒(14)連接有集氣室(143),所述集氣盒(14)與所述集氣室(143)之間連接有負壓風機(142)。
10.根據權利要求9所述的垃圾焚燒發電廠滲濾液處理方法用處理裝置,其特征在于:所述集氣室(143)連接有沼氣發電機,所述沼氣發電機連接有蓄電池。
發明內容
為了減小污泥進入污泥濃縮池時對上清液的濁度的影響,本申請提供一種垃圾焚燒發電廠滲濾液處理方法及處理裝置。
第一方面,本申請提供的一種垃圾焚燒發電廠滲濾液處理方法,采用如下的技術方案:一種垃圾焚燒發電廠滲濾液處理方法,包括如下步驟:將滲濾液導入初沉池進行沉淀,沉淀后的雜質與污泥重新導入垃圾儲存坑,澄清后的滲濾液溢流到調節池中進行調質與調量,完成預處理;將調節池內的滲濾液導入厭氧反應器進行厭氧反應,沉淀性能良好的污泥經三相分離器的沉降面返回厭氧反應器主體,含有少量較輕污泥的污水從厭氧反應器上部排出,完成厭氧處理;將厭氧處理后的污水導入反硝化池進行反硝化反應,厭氧處理后的污水從反硝化池溢流至硝化池進行硝化反應;將硝化反應后的污水導入超濾設備,通過超濾設備對污水進行固液分離,完成膜生化處理;將超濾設備分離后的超濾清液送入納濾設備中,通過納濾設備的納濾膜組件對超濾清液進行過濾,完成納濾處理,且得到的納濾清液達標排放;將超濾設備中的剩余污泥和納濾處理后產生的納濾濃縮液均由污泥泵抽取并通過引導組件導入污泥濃縮池池體的底部,污泥濃縮后,得到的上清液溢流回調節池,得到的濃縮污泥經過脫水處理后送入焚燒爐進行焚燒處理,完成污泥處理。
通過采用上述技術方案,污泥泵抽取超濾設備中的污泥和納濾濃縮液,污泥和納濾濃縮液由引導組件直接導入污泥濃縮池的池體底部,避免因污泥和納濾濃縮液從池體的池口落入池內導致池體內的上清液翻滾變得更加渾濁,有利于減小污泥進入污泥濃縮池時對上清液的濁度的影響。
第二方面,本申請提供的一種垃圾焚燒發電廠滲濾液處理方法用處理裝置,包括依次連通的初沉池、調節池、厭氧反應器、反硝化池、硝化池、超濾設備、納濾設備和板框壓濾機,硝化池連接有污泥濃縮池,所述污泥濃縮池連通所述調節池,所述污泥濃縮池包括池體、進泥管、安裝架、攪拌板和驅動電機,所述安裝架設置于所述池體的池口處,所述攪拌板轉動設置于所述池體的底部,所述驅動電機用于驅動所述攪拌板轉動;所述污泥濃縮池與超濾設備之間連接有引導組件,所述引導組件包括固定環、轉動環和至少一根導泥管,所述固定環固定于安裝架上,所述固定環同軸心轉動連接所述轉動環,所述固定環的底壁開設有過泥槽一,所述轉動環的頂壁開設有過泥槽二,所述轉動環的頂壁與所述固定環的底壁貼合,且所述過泥槽一連通所述過泥槽二,所述導泥管的一端連接所述轉動環并連通所述過泥槽二、另一端伸入所述池體的底部,所述進泥管的一端連接用于抽取超濾設備中剩余污泥的污泥泵的輸出端,另一端連接所述固定環并連通過泥槽一。
通過采用上述技術方案,污泥泵抽取超濾設備中的污泥并導入進泥管,污泥由進泥管導入至過泥槽一,接著過泥槽一內的污泥經過過泥槽二并進入導泥管內,進入導泥管的污泥由導泥管直接導入池體的底部,避免因污泥和納濾濃縮液從池體的池口落入池內導致池體內的上清液翻滾變得更加渾濁,有利于減小污泥進入污泥濃縮池時對上清液的濁度的影響,當驅動電機驅動攪拌板轉動至抵貼導泥管時,攪拌板能夠推動導泥管和轉動環轉動,降低了導泥管與攪拌板產生干涉的可能性。
可選的,所述導泥管內設置有螺旋板。
通過采用上述技術方案,污泥經過螺旋板時,由于污泥的流動方向由豎直流動轉變為傾斜回轉流動,導致污泥的流動阻力增加,從而消耗了污泥的動能,減小了污泥從導泥管底端導出時翻起濃縮池底部的污泥的可能性,有利于進一步減小污泥進入污泥濃縮池時對上清液的濁度的影響。
可選的,所述導泥管的側壁開設有若干濾孔。
通過采用上述技術方案,污泥經過螺旋板時由于阻力增大,而污泥泵仍保持正常功率輸出,導致污泥在螺旋板處受壓,污泥受壓后會有部分滲濾液滲出并通過濾孔進入上清液中,有利于提升污泥濃縮池的濃縮效率。
可選的,所述導泥管的底端設置有壓泥板,所述導泥管的底端與所述壓泥板之間連接有用于拉動所述壓泥板封蓋所述導泥管底端的彈簧。
通過采用上述技術方案,污泥流動至抵貼壓泥板時,污泥需克服彈簧的拉力推動壓泥板下行后流出,從而實現在導出污泥時再次對污泥進行壓縮,擠壓出污泥中殘留的部分滲濾液,有利于進一步提升污泥濃縮池的濃縮效率。
可選的,所述壓泥板朝向所述導泥管的一側設置有錐形塊。
通過采用上述技術方案,錐形塊的側面傾角減小了污泥導出導泥管底端時的阻力,減少了殘留在錐形塊上的污泥,有利于降低污泥在壓泥板上堆積的可能性。
可選的,所述固定環與所述轉動環之間連接有連接環,所述固定環的側壁開設有供所述連接環滑動連接的環槽一,所述轉動環的側壁開設有供所述連接環滑動連接的環槽二。
通過采用上述技術方案,由于固定環固定于安裝架上,故連接環僅能沿環槽一繞著固定環的軸線轉動,又由于固定環與轉動環同軸心設置,且連接環僅能沿環槽二與轉動環產生相對轉動,實現轉動環與固定環的轉動連接,有利于降低導泥管與攪拌板產生干涉的可能性。
可選的,所述安裝架上滑動設置有安裝板,所述驅動電機固定于安裝板上,所述驅動電機的輸出軸連接有轉動軸,所述轉動軸豎直設置,所述轉動軸的底端連接所述攪拌板,所述安裝架上設置有液壓缸,所述液壓缸用于驅動所述安裝板沿豎直方向滑動,所述轉動環與所述導泥管之間連接有連接管,所述連接管的一端連接所述轉動環,所述導泥管同軸心滑動套設于所述連接管的另一端,所述轉動軸上套設有升降環,所述轉動軸的側壁固定有用于抵貼所述升降環底壁的升降塊,所述導泥管連接所述升降環。
通過采用上述技術方案,當池體內的污泥層高度增加時,啟動液壓缸驅動安裝板上行時,安裝板帶動轉動軸上行,使得轉動軸帶動攪拌板上行,同時轉動軸帶動升降塊上行并抵推升降環上行,升降環帶動導泥管上行,實現在調節攪拌板高度的同時調節導泥管底部的高度,降低了因污泥層沒過導泥管底端導致污泥管堵塞的可能性。
可選的,所述池體的池口設置有若干集氣盒,所述集氣盒的側壁連接有若干集氣管,所述集氣盒連接有集氣室,所述集氣盒與所述集氣室之間連接有負壓風機。
通過采用上述技術方案,污泥濃縮池正常運行時,啟動負壓風機,負壓風機抽取集氣盒內的空氣,使得集氣盒內形成負壓,從而集氣管吸取池體中產生的沼氣,有利于減少對池體周圍環境的空氣影響。
可選的,所述集氣室連接有沼氣發電機,所述沼氣發電機連接有蓄電池。
通過采用上述技術方案,沼氣依次經過集氣管、集氣盒進入集氣室中,利用沼氣發電機可將集氣室中的沼氣燃燒利用并轉化為電能儲存于蓄電池中,有利于節約資源。
綜上所述,本申請包括以下至少一種有益技術效果:污泥經過螺旋板時由于阻力增大,而污泥泵仍保持正常功率輸出,導致污泥在螺旋板處受壓,污泥受壓后會有部分滲濾液滲出并通過濾孔進入上清液中,有利于提升污泥濃縮池的濃縮效率;污泥流動至抵貼壓泥板時,污泥需克服彈簧的拉力推動壓泥板下行后流出,從而實現在導出污泥時再次對污泥進行壓縮,擠壓出污泥中殘留的部分滲濾液,有利于進一步提升污泥濃縮池的濃縮效率;當池體內的污泥層高度增加時,啟動液壓缸驅動安裝板上行時,安裝板帶動轉動軸上行,使得轉動軸帶動攪拌板上行,同時轉動軸帶動升降塊上行并抵推升降環上行,升降環帶動導泥管上行,實現在調節攪拌板高度的同時調節導泥管底部的高度,降低了因污泥層沒過導泥管底端導致污泥管堵塞的可能性。
(發明人:沙俊鵬;武文瑞;田杰;鄧婕;鄧志剛)






