公布日:2023.01.03
申請日:2022.10.17
分類號:B01D25/32(2006.01)I;B01D25/38(2006.01)I;C02F11/122(2019.01)I
摘要
本發明涉及污泥處理相關技術領域,具體為一種過濾裝置,過濾裝置包括壓濾板、龍門支架、前位清理組件和后位清理組件,壓濾板設置在壓濾機的壓濾腔之中,且壓濾板在壓濾腔之中均布設置有多塊,龍門支架活動安裝在壓濾機上,且龍門支架通過驅動結構進行驅動,前位清理組件通過一級液壓組件安裝在龍門支架的橫梁上,且前位清理組件由安裝架、清理噴頭和清理刷組合構成,安裝架上固定連接有安裝板;通過設置由壓濾板、龍門支架、前位清理組件和后位清理組件組合構成的過濾裝置,以通過前位清理組件和后位清理組件對壓濾板的表面進行清潔,以避免人工清理壓濾板效率過慢及清理效果較差的問題,從而達到提高污泥壓濾濃縮效率的目的。

權利要求書
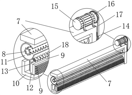
1.一種過濾裝置,其特征在于:所述過濾裝置包括:壓濾板(1),所述壓濾板(1)設置在壓濾機的壓濾腔之中,且壓濾板(1)在壓濾腔之中均布設置有多塊;龍門支架(2),所述龍門支架(2)活動安裝在壓濾機上,且龍門支架(2)通過驅動結構進行驅動;前位清理組件(3),所述前位清理組件(3)通過一級液壓組件(5)安裝在龍門支架(2)的橫梁上,且前位清理組件(3)由安裝架(7)、清理噴頭(8)和清理刷(9)組合構成,所述安裝架(7)上固定連接有安裝板(10),所述清理刷(9)固定在支撐板(12)上,且支撐板(12)通過連接件(13)與安裝板(10)相連接;后位清理組件(4),所述后位清理組件(4)通過二級液壓組件(6)安裝在龍門支架(2)的橫梁上,且后位清理組件(4)與前位清理組件(3)的結構相同。
2.根據權利要求1所述的一種過濾裝置,其特征在于:所述安裝架(7)與液壓組件的伸縮桿相連接,且安裝架(7)兩側邊的豎板上均固定安裝有滾珠軸承(23),所述清理噴頭(8)呈圓管結構,且清理噴頭(8)的側壁上均勻設置有噴孔,且清理噴頭(8)的右側端為封口設置,且清理噴頭(8)的左側端連接有進液管(25)。
3.根據權利要求2所述的一種過濾裝置,其特征在于:所述清理噴頭(8)的左側端內腔之中固定安裝有密封軸承(24),所述進液管(25)固定在密封軸承(24)的內圈之中,且進液管(25)為硬質管道,且進液管(25)的管身通過定位座(26)定位在安裝架(7)上。
4.根據權利要求3所述的一種過濾裝置,其特征在于:所述清理噴頭(8)的左側端設置有從動鏈輪(14),所述安裝架(7)的橫梁上固定安裝有驅動電機(15),所述驅動電機(15)的轉子上固定安裝有傳動鏈輪(16),所述傳動鏈輪(16)、從動鏈輪(14)之間通過傳動鏈條(17)進行傳動連接。
5.根據權利要求4所述的一種過濾裝置,其特征在于:所述清理噴頭(8)的邊緣設置有弧形擋板(11),所述弧形擋板(11)為六分之五圓管,且弧形擋板(11)的兩側均與安裝架(7)固定連接,其弧形擋板(11)與清理噴頭(8)同軸線設置,且弧形擋板(11)上的開口朝向壓濾板(1)設置。
6.根據權利要求5所述的一種過濾裝置,其特征在于:所述弧形擋板(11)的邊緣設置有引流管(18),所述引流管(18)為向下傾斜設置,且引流管(18)的末端靠向清理刷(9)的刷毛根部。
7.根據權利要求6所述的一種過濾裝置,其特征在于:所述后位清理組件(4)、前位清理組件(3)在實際運行時,其清理刷(9)的刷毛與壓濾板(1)相抵設置,且引流管(18)的端部與壓濾板(1)并未接觸。
8.根據權利要求1所述的一種過濾裝置,其特征在于:所述安裝板(10)上開設有導桿孔,且支撐板(12)的后端面設置有導桿(19),所述導桿(19)活動設置在安裝板(10)上的導桿孔之中,且導桿(19)的末端螺紋連接有限位螺母(20),且連接件(13)為彈性連接結構。
9.根據權利要求8所述的一種過濾裝置,其特征在于:所述連接件(13)由一級支撐體(21)和二級支撐體(22)組合構成,所述一級支撐體(21)為梭子形框體結構,且二級支撐體(22)為菱形框體結構,所述一級支撐體(21)、二級支撐體(22)均為彈簧鋼一體鑄造成型,且后位清理組件(4)、前位清理組件(3)實際運行時,其連接件(13)處于受壓狀態。
10.一種生活污泥改性加工設備,其特征在于:所述生活污泥改性加工設備具有上述權利要求1-9的任意一種所述過濾裝置。
發明內容
本發明的目的在于提供一種過濾裝置及生活污泥改性加工設備,以解決上述背景技術中提出的問題。
為實現上述目的,本發明提供如下技術方案:一種過濾裝置,所述過濾裝置包括:
壓濾板,所述壓濾板設置在壓濾機的壓濾腔之中,且壓濾板在壓濾腔之中均布設置有多塊;
龍門支架,所述龍門支架活動安裝在壓濾機上,且龍門支架通過驅動結構進行驅動;
前位清理組件,所述前位清理組件通過一級液壓組件安裝在龍門支架的橫梁上,且前位清理組件由安裝架、清理噴頭和清理刷組合構成,所述安裝架上固定連接有安裝板,所述清理刷固定在支撐板上,且支撐板通過連接件與安裝板相連接;
后位清理組件,所述后位清理組件通過二級液壓組件安裝在龍門支架的橫梁上,且后位清理組件與前位清理組件的結構相同。
優選的,所述安裝架與液壓組件的伸縮桿相連接,且安裝架兩側邊的豎板上均固定安裝有滾珠軸承,所述清理噴頭呈圓管結構,且清理噴頭的側壁上均勻設置有噴孔,且清理噴頭的右側端為封口設置,且清理噴頭的左側端連接有進液管。
優選的,所述清理噴頭的左側端內腔之中固定安裝有密封軸承,所述進液管固定在密封軸承的內圈之中,且進液管為硬質管道,且進液管的管身通過定位座定位在安裝架上。
優選的,所述清理噴頭的左側端設置有從動鏈輪,所述安裝架的橫梁上固定安裝有驅動電機,所述驅動電機的轉子上固定安裝有傳動鏈輪,所述傳動鏈輪、從動鏈輪之間通過傳動鏈條進行傳動連接。
優選的,所述清理噴頭的邊緣設置有弧形擋板,所述弧形擋板為六分之五圓管,且弧形擋板的兩側均與安裝架固定連接,其弧形擋板與清理噴頭同軸線設置,且弧形擋板上的開口朝向壓濾板設置。
優選的,所述弧形擋板的邊緣設置有引流管,所述引流管為向下傾斜設置,且引流管的末端靠向清理刷的刷毛根部。
優選的,所述后位清理組件、前位清理組件在實際運行時,其清理刷的刷毛與壓濾板相抵設置,且引流管的端部與壓濾板并未接觸。
優選的,所述安裝板上開設有導桿孔,且支撐板的后端面設置有導桿,所述導桿活動設置在安裝板上的導桿孔之中,且導桿的末端螺紋連接有限位螺母,且連接件為彈性連接結構。
優選的,所述連接件由一級支撐體和二級支撐體組合構成,所述一級支撐體為梭子形框體結構,且二級支撐體為菱形框體結構,所述一級支撐體、二級支撐體均為彈簧鋼一體鑄造成型,且后位清理組件、前位清理組件實際運行時,其連接件處于受壓狀態。
一種生活污泥改性加工設備,所述生活污泥改性加工設備具有上述過濾裝置。
與現有技術相比,本發明的有益效果是:
1.通過設置由壓濾板、龍門支架、前位清理組件和后位清理組件組合構成的過濾裝置,以通過前位清理組件和后位清理組件對壓濾板的表面進行清潔,以避免人工清理壓濾板效率過慢及清理效果較差的問題,從而達到提高污泥壓濾濃縮效率的目的;
2.并通過將清理噴頭轉動安裝在安裝架上,從而讓清理噴頭對壓濾板起到旋轉式沖刷作用,從而讓沖洗液可以呈不同角度對壓濾板的表面進行沖洗,從而提高對壓濾板的整體清洗效果,并且弧形擋板的設置,可以有效避免清洗液濺射,并且弧形擋板上引流管的設置,可以對清理刷起到濕潤清潔的作用,從而進一步保證清洗效果。
(發明人:胡躍偉;陳興華;洪斌;王玉才;齊先田;楊婷婷;申廣耀)






