公布日:2023.01.10
申請日:2022.11.14
分類號:C02F3/30(2006.01)I;B08B1/00(2006.01)I
摘要
本申請涉及污水處理設備的技術領域,針對回流至厭氧池的污泥容易流入缺氧池的情況,提出了一種分散式污水處理設備,包括箱體,箱體內腔通過第一隔板、第二隔板、第三隔板分隔成依次連通的厭氧池、缺氧池、好氧池以及分離池,第一隔板與箱體內頂壁留有間距第二隔板底部開設有若干主通孔,厭氧池內豎直設置有副隔板,副隔板將厭氧池內腔分隔成主腔與副腔;副隔板底部開設有若干副通孔;箱體還連通有進水管,進水管與主腔連通;分離池內架設有MBR膜件,MBR膜件將分離池內腔分隔成污泥腔與清水腔;污泥腔內連通有氣提回流管組,氣提回流管組遠離污泥腔的一端延伸至副腔上方。本申請具有延長回流污泥在厭氧池時間的效果。

權利要求書
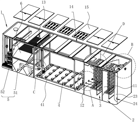
1.一種分散式污水處理設備,包括箱體(1),所述箱體(1)內腔通過第一隔板(11)、第二隔板(12)、第三隔板(13)分隔成依次連通的厭氧池(2)、缺氧池(3)、好氧池(4)以及分離池(5),所述第一隔板(11)與箱體(1)內頂壁留有間距以使厭氧池(2)與缺氧池(3)連通,所述第二隔板(12)底部開設有若干主通孔(121)以使缺氧池(3)與好氧池(4)連通;其特征在于:所述厭氧池(2)內豎直設置有副隔板(23),所述副隔板(23)高于第一隔板(11);所述副隔板(23)將厭氧池(2)內腔分隔成主腔(21)與副腔(22);所述副隔板(23)底部開設有若干副通孔(24);所述箱體(1)還連通有進水管(16),所述進水管(16)與主腔(21)連通;所述分離池(5)內架設有MBR膜件(6),所述MBR膜件(6)將分離池(5)內腔分隔成污泥腔(51)與清水腔(52);所述好氧池(4)與污泥腔(51)連通;所述污泥腔(51)內還連通有氣提回流管組(7),所述氣提回流管組(7)遠離污泥腔(51)的一端延伸至副腔(22)上方;所述缺氧池(3)內架設有支撐框(8),所述支撐框(8)上豎直向下可拆卸連接有若干掛接桿(82),所述掛接桿(82)上均穿設有若干生物填料球(83),所述掛接桿(82)底端可拆卸連接有限位塊(84);所述箱體(1)頂部對應缺氧池(3)開設有檢修口(14);所述支撐框(8)相對兩側均設置有掛接塊(86),所述缺氧池(3)內腔固定有兩組相對的支撐板(87),所述支撐框(8)通過兩組掛接塊(86)搭接在兩組支撐板(87)上;所述支撐框(8)底部設置有機架(85);所述第二隔板(12)背離第一隔板(11)的一側對應若干主通孔(121)設置有若干固定塊(9),所述固定塊(9)底部固定有彈簧(92),所述彈簧(92)遠離固定塊(9)的一端連接有連接繩(94);所述連接繩(94)遠離彈簧(92)的一端穿設于主通孔(121)并與機架(85)相連接,所述連接繩(94)靠近彈簧(92)的一端還同軸固定有柔性連接套(93),所述柔性連接套(93)外周固定有若干刷毛。
2.根據權利要求1所述的一種分散式污水處理設備,其特征在于:所述進水管(16)連通有布水箱(161),所述布水箱(161)連通有若干布水管(162),所述布水管(162)遠離布水箱(161)的一端延伸至主腔(21)底部。
3.根據權利要求2所述的一種分散式污水處理設備,其特征在于:所述支撐框(8)內設置有若干支撐桿(81),所述掛接桿(82)頂端彎曲成勾狀并掛接在支撐桿(81)上。
4.根據權利要求3所述的一種分散式污水處理設備,其特征在于:所述掛接桿(82)底端螺紋連接于限位塊(84)。
5.根據權利要求1所述的一種分散式污水處理設備,其特征在于:所述箱體(1)內還架設有主氣管(17),所述厭氧池(2)與缺氧池(3)底部均設置有副氣管(18),所述副氣管(18)均與主氣管(17)連通。
發明內容
為了使回流至厭氧池的污泥不易隨污水流入缺氧池,提升回流污泥在厭氧池的停留時間,本申請提供了一種分散式污水處理設備。
本申請提供的一種分散式污水處理設備,采用如下的技術方案:
一種分散式污水處理設備,包括箱體,所述箱體內腔通過第一隔板、第二隔板、第三隔板分隔成依次連通的厭氧池、缺氧池、好氧池以及分離池,所述第一隔板與箱體內頂壁留有間距以使厭氧池與缺氧池連通,所述第二隔板底部開設有若干主通孔以使缺氧池與好氧池連通;所述厭氧池內豎直設置有副隔板,所述副隔板高于第一隔板;所述副隔板將厭氧池內腔分隔成主腔與副腔;所述副隔板底部開設有若干副通孔;所述箱體還連通有進水管,所述進水管與主腔連通;所述分離池內架設有MBR膜件,所述MBR膜件將分離池內腔分隔成污泥腔與清水腔;所述好氧池與污泥腔連通;所述污泥腔內還連通有氣提回流管組,所述氣提回流管組遠離污泥腔的一端延伸至副腔上方。
通過采用上述技術方案,通過厭氧池內設置副隔板,利用副隔板將的厭氧池內腔分割成主腔與內腔,氣提回流管組遠離污泥腔的一端延伸至副腔上方,使得由污泥腔通過氣提回流管組回流至厭氧池的污泥可以落入副腔內再經由副隔板底部的副通孔流入主腔,有利于延長污泥在厭氧池內的時間,便于更好地通過回流污泥補充厭氧池內的微生物;通過副隔板高度高于主隔板高度,使得回流至副腔頂部的污水以及污泥不易漫過副隔板進入主腔。
優選的,所述進水管連通有布水箱,所述布水箱連通有若干布水管,所述布水管遠離布水箱的一端延伸至主腔底部。
通過采用上述技術方案,通過若干布水管延伸至厭氧池的主腔底部,便于延長污水在厭氧池內的時間,進而有利于流入厭氧池的污水中的有機物可以更加充分地與厭氧池內的微生物反應,減少因污水流動導致污水中的有機物過快流出厭氧池的情況。
優選的,所述缺氧池內架設有支撐框,所述支撐框上豎直向下可拆卸連接有若干掛接桿,所述掛接桿上均穿設有若干生物填料球,所述掛接桿底端可拆卸連接有限位塊。
通過采用上述技術方案,通過生物填料球的設置,便于缺氧池內的微生物附著在的生物填料球上繁殖生長,有利于減少缺氧池內的微生物因污水流動導致不斷流失的情況。
優選的,所述支撐框內設置有若干支撐桿,所述掛接桿頂端彎曲成勾狀并掛接在支撐桿上。
通過采用上述技術方案,使得掛接桿無需與支撐框一體成型,便于生物填料球的日常清洗,當需要清洗生物填料球時,將支撐框移出水面,將掛接桿從支撐桿上移出,便可進行生物填料球的清洗。
優選的,所述支撐框底部設置有機架;所述第二隔板背離第一隔板的一側對應若干主通孔設置有若干固定塊,所述固定塊底部固定有彈簧,所述彈簧遠離固定塊的一端連接有連接繩;所述連接繩遠離彈簧的一端穿設于主通孔并與機架相連接,所述連接繩靠近彈簧的一端還同軸固定有柔性連接套,所述柔性連接套外周固定有若干刷毛。
通過采用上述技術方案,將支撐框移出缺氧池液面以清洗缺氧池內的生物填料球時,支撐框上移時通過連接繩帶動柔性連接套通過主通孔穿入至第二隔板背離第一隔板的一側;將支撐框移回缺氧池內后,柔性連接套在彈簧的作用下復位至第二隔板背離第一隔板的一側。柔性連接套往復穿設于主通孔時,通過自身刷毛實現對主通孔的清淤,使得主通孔的清淤更加簡單方便,同時,使得主通孔不易被污泥堵塞。
優選的,所述掛接桿底端螺紋連接于限位塊。
通過采用上述技術方案,實現掛接桿與限位塊的可拆卸連接,當需要更換生物填料球時,將限位塊從掛接桿上旋出,便可將生物填料球從掛接桿上移出,將生物填料球套入掛接桿后,將限位塊旋入掛接桿底端,便可限制生物填料球從掛接桿上脫離。
優選的,所述箱體頂部對應缺氧池開設有檢修口,所述支撐框相對兩側均設置有掛接塊,所述缺氧池內腔固定有兩組相對的支撐板,所述支撐框通過兩組掛接塊搭接在兩組支撐板上。
通過采用上述技術方案,安裝支撐框時,打開檢修口,將支撐框移入缺氧池內,并使支撐框相對兩側的支撐桿分別抵接在缺氧池內相對兩支撐板上,便可實現將支撐框架設在缺氧池內。
優選的,所述箱體內還架設有主氣管,所述厭氧池與缺氧池底部均設置有副氣管,所述副氣管均與主氣管連通。
通過采用上述技術方案,通過在厭氧池與缺氧池底部設置副氣管,可定期通過主氣管與副氣管往厭氧池與缺氧池內通入氣體,利用氣體攪動厭氧池與缺氧池底部的污泥,減少污泥大量沉積在厭氧池與缺氧池的情況。
綜上所述,本申請包括以下至少一種有益技術效果:
1.通過厭氧池內設置有副隔板且副隔板將厭氧池內腔分隔成主腔與副腔,副隔板底部開設有若干副通孔,氣提回流管組遠離污泥腔的一端延伸至副腔上方,使得由污泥腔回流至厭氧池的污泥可以流入副腔,再經由副隔板底部的副通孔進入主腔,有利于減少回流至厭氧池的污泥過快隨厭氧池頂部的污水流入缺氧池的情況,有利于延長回流至厭氧池的污泥在厭氧池內的停留時間,便于延長回流污泥中的微生物更好地在厭氧池內生長。
2.通過缺氧池內架設有支撐框,支撐框可拆卸連接有若干掛接桿,且掛接桿上設置有若干生物填料球,便于缺氧池內微生物可以更好地在生物填料球上生長繁殖。
3.通過支撐框底部設置有機架,第二隔板背離第一隔板的一側對應若干主通孔設置有若干固定塊,固定塊頂部均設置有彈簧,彈簧遠離固定塊的一端設置有連接繩,連接繩遠離彈簧的一端穿設于對應的主通孔并與機架相連接,連接繩靠近彈簧的一端還固定有柔性連接套且柔性連接套外周設置有若干刷毛,將支撐框上移時,支撐框通過連接繩將柔性連接管通過副通孔移入至第二隔板朝向第一隔板的一側,而將支撐框下移時柔性連接套在彈簧的作用下復位至第二隔板背離第一隔板的一側,柔性連接套往復穿設于主通孔時通過自身的刷毛實現對主通孔的刷洗,使得主通孔不易發生堵塞。
(發明人:葉長飛)






