公布日:2023.12.22
申請日:2023.09.27
分類號:C02F3/34(2023.01)I;C12M1/02(2006.01)I;C12M1/00(2006.01)I;C12M1/04(2006.01)I;C02F3/30(2023.01)I;C02F101/16(2006.01)N
摘要
本申請公開了一種生物擴培一體化設備及廢水處理工藝,涉及廢水處理的技術領域,包括擴培罐、均質池以及生物擴培池,所述擴培罐內具有內腔,所述均質池內具有第一容腔,所述生物擴培池內具有第二容腔,所述均質池與所述生物擴培池連接相通;所述擴培罐與所述生物擴培池連接相通;所述擴培罐上設置有第一攪拌器、布氣裝置以及加熱件;所述均質池上設置有第二攪拌器;所述生物擴培池上設置有曝氣裝置、第三攪拌器以及若干懸浮填料,所述曝氣裝置包括主氣管以及若干支氣管,所述支氣管與所述主氣管相通,且所述支氣管與所述第二容腔相通。本申請能夠源源不斷為廢水處理提供所需的生物菌群,提高生物去除氨氮的效果,從而提高廢水處理的效果。

權利要求書
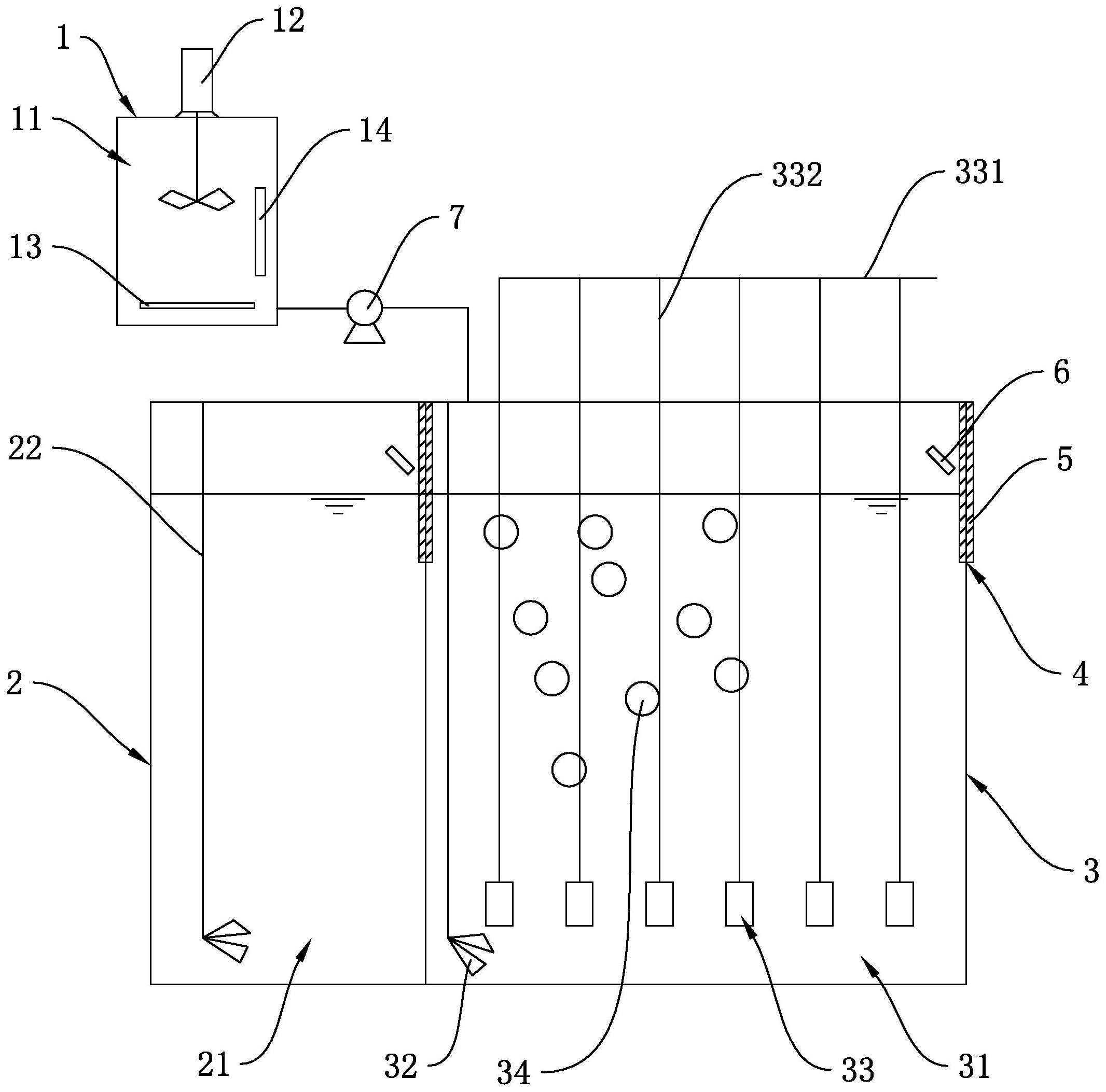
1.一種生物擴培一體化設備,其特征在于,包括擴培罐(1)、均質池(2)以及生物擴培池(3),所述擴培罐(1)內具有供生物菌群初步繁殖的內腔(11),所述均質池(2)內具有供多種物質混合的第一容腔(21),所述生物擴培池(3)內具有供生物菌群大量繁殖的第二容腔(31),所述均質池(2)與所述生物擴培池(3)連接,且所述第一容腔(21)與所述第二容腔(31)相通;所述擴培罐(1)與所述生物擴培池(3)連接,且所述內腔(11)與所述第二容腔(31)相通;所述擴培罐(1)上設置有第一攪拌器(12)、布氣裝置(13)以及加熱件(14),所述第一攪拌器(12)用于對所述內腔(11)中的物質進行攪拌,所述布氣裝置(13)以及所述加熱件(14)均設置于內腔(11)中;所述均質池(2)上設置有第二攪拌器(22),所述第二攪拌器(22)用于對所述第一容腔(21)中的物質進行攪拌;所述生物擴培池(3)上設置有曝氣裝置(33)、第三攪拌器(32)以及若干懸浮填料(34),所述曝氣裝置(33)包括主氣管(331)以及若干支氣管(332),所述主氣管(331)位于所述第二容腔(31)的上方,所述支氣管(332)的一端與所述主氣管(331)可拆卸連接且相通,且所述支氣管(332)的另一端位于所述第二容腔(31)中與所述第二容腔(31)相通;所述第三攪拌器(32)用于對所述第二容腔(31)中的物質進行攪拌;所述懸浮填料(34)位于所述第二容腔(31)中且于所述第二容腔(31)中懸浮。
2.根據權利要求1所述的一種生物擴培一體化設備,其特征在于,還包括計量泵(7),所述計量泵(7)的兩端分別與所述擴培罐(1)以及所述生物擴培池(3)連接,且所述計量泵(7)的兩端分別與所述內腔(11)以及所述第二容腔(31)相通。
3.根據權利要求1所述的一種生物擴培一體化設備,其特征在于,所述布氣裝置(13)包括第一氣管(131)以及若干第二氣管(132),所述第一氣管(131)位于所述內腔(11)的上方,所述第二氣管(132)的一端與所述第一氣管(131)連接相通,所述第二氣管(132)的另一端靠近所述內腔(11)的底部,且所述第二氣管(132)遠離所述第一氣管(131)的一端開設有若干與所述內腔(11)相通的氣孔(1321);所述第一攪拌器(12)相對于所述內腔(11)居中設置,若干所述第二氣管(132)圍繞所述第一攪拌器(12)設置。
4.根據權利要求3所述的一種生物擴培一體化設備,其特征在于,所述第一氣管(131)為環裝,且所述第一氣管(131)環繞所述第一攪拌器(12);所述第一氣管(131)與所述擴培罐(1)轉動連接,所述第一氣管(131)的轉動軸線與所述第一攪拌器(12)的軸線重合,且所述第一氣管(131)隨所述第一攪拌器(12)攪拌而同步反向轉動。
5.根據權利要求4所述的一種生物擴培一體化設備,其特征在于,所述第二氣管(132)遠離所述第一氣管(131)的一端設置有翻攪件(15),所述翻攪件(15)包括若干具有彈性形變能力的刷毛(151),所述刷毛(151)與所述內腔(11)底部的腔壁相抵且受擠壓彎曲變形。
6.根據權利要求5所述的一種生物擴培一體化設備,其特征在于,所述擴培罐(1)于所述內腔(11)底部的腔壁上具有若干凸起(111),若干所述凸起(111)沿所述翻攪件(15)的移動軌跡分布,且所述翻攪件(15)移動的過程中,所述凸起(111)與所述刷毛(151)接觸。
7.根據權利要求6所述的一種生物擴培一體化設備,其特征在于,所述第二氣管(132)垂直于所述第一氣管(131),所述第二氣管(132)與所述第一氣管(131)轉動連接,且所述第二氣管(132)的轉動軸線與自身的軸線重合;所述翻攪件(15)與所述凸起(111)接觸后,所述凸起(111)對所述翻攪件(15)的作用力驅使所述第二氣管(132)轉動。
8.一種廢水處理工藝,其特征在于,基于如權利要求1-7任意一項所述的一種生物擴培一體化設備,具體步驟如下:S1、廢水預處理,減少廢水中的雜質;S2、廢水進入所述生物擴培一體化設備中與生物菌群混合;S21、往所述擴培罐(1)中投加微生物以及營養物質,使微生物于所述內腔(11)中初步繁殖;S22、廢水進入所述均質池(2)中,并往所述均質池(2)中投加營養物質;S23、廢水于所述均質池(2)中與其他物質混合后進入所述生物擴培池(3)中,且所述擴培罐(1)中初步繁殖的微生物進入所述生物擴培池(3)中大量繁殖;S3、兩級A/O處理系統,降低廢水中COD及總氮濃度;S4、超濾系統過濾分離,實現固液分離,且部分污泥回流至所述均質池(2)中;S5、對分離后的固體和液體分別進行處理;S51、膜深度處理,使出水達標;S52、污泥脫水排出。
9.根據權利要求8所述的一種廢水處理工藝,其特征在于,S3中兩級A/O處理產生的部分硝化液將回流至所述均質池(2)中。
10.根據權利要求8所述的一種廢水處理工藝,其特征在于,S2中另將原水超越后的液體與廢水一同進入所述生物擴培一體化設備中,使均質池(2)中的物質更適于生物菌群繁殖。
發明內容
本申請提供一種生物擴培一體化設備及廢水處理工藝,能夠源源不斷為廢水處理提供所需的生物菌群,提高生物去除氨氮的效果,從而提高廢水處理的效果。
一方面,本申請提供一種生物擴培一體化設備,采用如下的技術方案:一種生物擴培一體化設備,包括擴培罐、均質池以及生物擴培池,所述擴培罐內具有供生物菌群初步繁殖的內腔,所述均質池內具有供多種物質混合的第一容腔,所述生物擴培池內具有供生物菌群大量繁殖的第二容腔,所述均質池與所述生物擴培池連接,且所述第一容腔與所述第二容腔相通;所述擴培罐與所述生物擴培池連接,且所述內腔與所述第二容腔相通;所述擴培罐上設置有第一攪拌器、布氣裝置以及加熱件,所述第一攪拌器用于對所述內腔中的物質進行攪拌,所述布氣裝置以及所述加熱件均設置于內腔中;所述均質池上設置有第二攪拌器,所述第二攪拌器用于對所述第一容腔中的物質進行攪拌;所述生物擴培池上設置有曝氣裝置、第三攪拌器以及若干懸浮填料,所述曝氣裝置包括主氣管以及若干支氣管,所述主氣管位于所述第二容腔的上方,所述支氣管的一端與所述主氣管可拆卸連接且相通,且所述支氣管的另一端位于所述第二容腔中與所述第二容腔相通;所述第三攪拌器用于對所述第二容腔中的物質進行攪拌;所述懸浮填料位于所述第二容腔中且于所述第二容腔中懸浮。
通過采用上述技術方案,微生物和營養物質投加至擴培罐的內腔中后,由第一攪拌器將其攪拌均勻,同時布氣裝置以及加熱件為微生物的繁殖提供適宜條件,使得微生物能夠在內腔中快速穩定實現初步繁殖;均質池中具有從后續步驟產生并回流的污泥等物質,部分生物菌群也將隨污泥等物質回到第一容腔中,并另外投加營養物質,廢水預處理后進入第一容腔,且第二攪拌器對多種物質進行攪拌混合等待進入生物擴培池中,使生物菌群回到均質池后仍能夠保持較高的活性;初步繁殖后的微生物投加進入生物擴培池的第二容腔中,同時第一容腔中的物質也將進入第一容腔中,第三攪拌器使兩股來源不同的物質攪拌均勻,同時曝氣裝置將為生物菌群繁殖提供充足的氧氣,且若干懸浮填料為生物菌群繁殖提供了適宜的場所,從而使得生物菌群能夠于第二容腔中快速穩定實現大量繁殖;最終使得生物擴培一體化設備能夠源源不斷地為后續生物去除氨氮提供高活性的生物菌群,提高生物去除氨氮的效果,從而提高最終廢水處理的效果;并且能夠充分利用廢水處理過程中產生的廢棄物,循環利用資源,降低成本。
可選的,還包括計量泵,所述計量泵的兩端分別與所述擴培罐以及所述生物擴培池連接,且所述計量泵的兩端分別與所述內腔以及所述第二容腔相通。
通過采用上述技術方案,計量泵能夠根據第二容腔中生物菌群的相關情況,對從擴培罐中進入生物擴培池中的生物菌群的數量進行控制,從而使第二容腔中的生物菌群濃度保持在一定水平,有助于生物菌群于第二容腔中大量繁殖,能夠降低生物菌群濃度較低導致繁殖速度較慢以及生物菌群濃度較高導致活性降低的概率。
可選的,所述布氣裝置包括第一氣管以及若干第二氣管,所述第一氣管位于所述內腔的上方,所述第二氣管的一端與所述第一氣管連接相通,所述第二氣管的另一端靠近所述內腔的底部,且所述第二氣管遠離所述第一氣管的一端開設有若干與所述內腔相通的氣孔;所述第一攪拌器相對于所述內腔居中設置,若干所述第二氣管圍繞所述第一攪拌器設置。
通過采用上述技術方案,能夠提高第一攪拌器對內腔中多種物質的攪拌效果,從而提高內腔中多種物質的混合效果,減少內腔中的攪拌死角;若干第二氣管圍繞第一攪拌器于內腔中布氣,能夠使布氣裝置于內腔中的布氣效果更加均勻。
可選的,所述第一氣管為環裝,且所述第一氣管環繞所述第一攪拌器;所述第一氣管與所述擴培罐轉動連接,所述第一氣管的轉動軸線與所述第一攪拌器的軸線重合,且所述第一氣管隨所述第一攪拌器攪拌而同步反向轉動。
通過采用上述技術方案,第一攪拌器對內腔中的物質進行攪拌的過程中,第一氣管隨之轉動帶動若干第二氣管活動,若干第二氣管活動也能夠對內腔中的物質進行攪拌,從而進一步提高多種物質于內腔中的混合效果,幫助生物菌群與其繁殖所需的物質接觸,有助于生物菌群初步繁殖;同時,若干第二氣管活動能夠使布氣裝置于內腔中的布氣效果更加均勻,從而能夠進一步幫助生物菌群于內腔中初步繁殖。
可選的,所述第二氣管遠離所述第一氣管的一端設置有翻攪件,所述翻攪件包括若干具有彈性形變能力的刷毛,所述刷毛與所述內腔底部的腔壁相抵且受擠壓彎曲變形。
通過采用上述技術方案,第二氣管活動的過程中,翻攪件能夠對沉積于內腔底部的物質進行翻攪,從而進一步提高多種物質于內腔中混合的效果,減少生物菌群等物質沉底,同時提高生物菌群對其初步繁殖所需物質的利用率。
可選的,所述擴培罐于所述內腔底部的腔壁上具有若干凸起,若干所述凸起沿所述翻攪件的移動軌跡分布,且所述翻攪件移動的過程中,所述凸起與所述刷毛接觸。
通過采用上述技術方案,第二氣管活動的過程中將帶動翻攪件依次與若干凸起接觸,刷毛與凸起接觸時,凸起將使刷毛進一步彎曲變形;刷毛與凸起分離時,刷毛恢復形變一定程度,此過程中刷毛能夠進一步對于內腔中沉底的物質進行翻攪,從而提高翻攪件的翻攪效果。
可選的,所述第二氣管垂直于所述第一氣管,所述第二氣管與所述第一氣管轉動連接,且所述第二氣管的轉動軸線與自身的軸線重合;所述翻攪件與所述凸起接觸后,所述凸起對所述翻攪件的作用力驅使所述第二氣管轉動。
通過采用上述技術方案,第二氣管活動帶動翻攪件依次與若干凸起接觸的過程中,第二氣管將在凸起的作用力下驅使自身相對于第一氣管轉動,往內腔中補充的氣體將通過若干氣孔進入,使得布氣效果更加均勻,從而進一步幫助生物菌群與補充的氣體接觸,進而使得內腔中的環境更加適合生物菌群初步繁殖。
另一方面,本申請還提供一種廢水處理工藝,采用如下的技術方案:一種廢水處理工藝,基于上述的一種生物擴培一體化設備,具體步驟如下:S1、廢水預處理,減少廢水中的雜質;S2、廢水進入所述生物擴培一體化設備中與生物菌群混合;S21、往所述擴培罐中投加微生物以及營養物質,使微生物于所述內腔中初步繁殖;S22、廢水進入所述均質池中,并往所述均質池中投加營養物質;S23、廢水于所述均質池中與其他物質混合后進入所述生物擴培池中,且所述擴培罐中初步繁殖的微生物進入所述生物擴培池中大量繁殖;S3、兩級A/O處理系統,降低廢水中COD及總氮濃度;S4、超濾系統過濾分離,實現固液分離,且部分污泥回流至所述均質池中;S5、對分離后的固體和液體分別進行處理;S51、膜深度處理,使出水達標;S52、污泥脫水排出。
通過采用上述技術方案,在原有的生物去除氨氮的工藝中,增加了生物擴培的步驟,使用于去除氨氮的生物菌群能夠源源不斷補充至兩級A/O處理的過程中,同時能夠對活性較高的生物菌群重復利用,提高生物去除氨氮的效果,使兩級A/O處理能夠保持較高的廢水處理效果,對于高濃度的氨氮廢水也具有足夠的處理能力,從而提高廢水處理的效果。
可選的,S3中兩級A/O處理產生的部分硝化液將回流至所述均質池中。
通過采用上述技術方案,部分硝化液回流至第一容腔中,能夠使預處理后的廢水在進入第二容腔之前與其混合,既能夠使隨污泥回到第一容腔的生物菌群保持活性,使預處理后的污水于第一容腔中即可實現初步減少氨氮,同時也方便后續廢水在生物菌群的作用下減少氨氮。
可選的,S2中另將原水超越后的液體與廢水一同進入所述生物擴培一體化設備中,使均質池中的物質更適于生物菌群繁殖。
通過采用上述技術方案,能夠對均質池中的物質進行調節,使第一容腔中的物質條件更適宜生物菌群繁殖,從而便于第一容腔中的物質進入到第二容腔中后,生物菌群能夠于第二容腔中實現大量繁殖。
綜上所述,本申請包括以下至少一種有益效果:1.生物擴培罐可以將有益的微生物菌種擴大培養,接種至生物擴培池中,進行一步的擴大培養;2.由于生物擴培池中懸浮填料表面的生物膜有一定厚度,存在營養物質及溶解氧濃度的梯度分布,懸浮填料可以保存良好的微生物菌種,包括接種的芽孢桿菌群、酵母菌群、乳酸菌群以及生化系統馴化培養的硝化菌/反硝化菌或氨氧化菌/亞硝酸菌氧化菌;3.在生物擴培罐不投加微生物的情況下,生物擴培池中的懸浮填料上生物膜也可以為后端兩級A/O系統提供良好的微生物菌種;4.均質池中設置有第二攪拌器,保證投加的營養物質、預處理出水、回流污泥及硝化液能完全混合;5.能夠使生物菌群及其繁殖所需物質于擴培罐中分布更加均勻,有助于生物菌群充分與自身繁殖所需的物質接觸,進一步幫助其初步繁殖,并提高初步繁殖得到的生物菌群的活性。
(發明人:劉毅勐;高延明;陳新芳;鄭力飛;劉信源;鄒敏)






