公布日:2023.11.07
申請日:2023.09.12
分類號:C02F1/02(2023.01)I;C02F1/00(2023.01)I;C02F1/28(2023.01)I;B01D29/86(2006.01)I
摘要
本發明提供一種一體式污水消毒處理設備,涉及污水處理領域。該發明包括處理箱,所述處理箱內部從上到下依次設置有箱體、鍋爐、兩個輔助過濾網、過濾網和攪動架,所述處理箱一側底部固定連接有三通閥,所述鍋爐輸出端設置有排氣預熱組件,排氣預熱組件與箱體之間設置有導氣組件。該發明多級過濾結構對污水中顆粒物雜質進行處理后,鍋爐將初步處理后污水加熱成為水蒸氣,對病毒進行高溫殺除,縮短污水處理需要的時間成本投入,通過導氣之間與傳動組件配合,使藥劑和水蒸氣在箱體內部混合后對處理箱內部暫存的污水進行消毒處理,減少污水沉淀時間的同時,保證污水消毒的質量,滿足對含有不同病毒污水在處理箱內部進行消毒的需要。

權利要求書
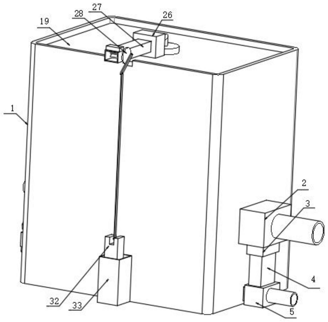
1.一種一體式污水消毒處理設備,包括處理箱(1),其特征在于:所述處理箱(1)內部從上到下依次設置有箱體(19)、鍋爐(8)、兩個輔助過濾網(7)、過濾網(6)和攪動架(36),所述處理箱(1)一側底部固定連接有三通閥(5);所述鍋爐(8)輸出端設置有排氣預熱組件,排氣預熱組件包括蒸汽管道(11)、散氣管(12)、多個散熱管(13)和閘閥(15),多個所述散熱管(13)均設置于兩個輔助過濾網(7)之間;排氣預熱組件與箱體(19)之間設置有導氣組件,導氣組件包括控制閥(16)、增壓泵(17)、導氣豎管(18)、排水閥(21)和多個細管(20),多個所述細管(20)底端設置于鍋爐(8)底部,所述排水閥(21)設置于上部的輔助過濾網(7)頂部一側;所述箱體(19)與攪動架(36)之間設置有傳動組件,傳動組件包括霧化噴頭(24)、泵體(26)、供水管道(27)、T形桿(28)和變向組件。
2.根據權利要求1所述的一種一體式污水消毒處理設備,其特征在于:所述箱體(19)、鍋爐(8)、兩個輔助過濾網(7)、過濾網(6)均與處理箱(1)固定連接,所述三通閥(5)常開端固定連接有水管(4),所述水管(4)頂部固定連接有電磁閥(3),所述電磁閥(3)頂部與處理箱(1)之間固定連接有進水泵(2),所述進水泵(2)進水端固定連接有污水供給管道。
3.根據權利要求1所述的一種一體式污水消毒處理設備,其特征在于:所述鍋爐(8)包括抽水泵(9),所述抽水泵(9)進水端固定連接有進水管(10),所述進水管(10)設置為L形,所述蒸汽管道(11)固定連接于鍋爐(8)輸出端,所述散氣管(12)固定連接于蒸汽管道(11)與處理箱(1)之間,多個所述散熱管(13)均固定連接于散氣管(12)一側。
4.根據權利要求1所述的一種一體式污水消毒處理設備,其特征在于:所述處理箱(1)內部一側固定連接有匯集管(14),多個所述散熱管(13)一端均與匯集管(14)固定連接,所述閘閥(15)固定連接于匯集管(14)一側,所述排水閥(21)與閘閥(15)之間固定連接有凈水箱(22),所述凈水箱(22)一端固定連接有圓管(23)。
5.根據權利要求1所述的一種一體式污水消毒處理設備,其特征在于:所述控制閥(16)固定連接于蒸汽管道(11)頂部與增壓泵(17)進氣端之間,所述導氣豎管(18)固定連接于增壓泵(17)出氣端與箱體(19)之間,所述增壓泵(17)與蒸汽管道(11)之間固定連接有多個安裝豎桿。
6.根據權利要求1所述的一種一體式污水消毒處理設備,其特征在于:多個所述細管(20)均固定連接于箱體(19)底部,所述霧化噴頭(24)固定連接于箱體(19)頂部,所述霧化噴頭(24)與泵體(26)之間固定連接有連接管(25),所述供水管道(27)固定連接于泵體(26)進水端。
7.根據權利要求1所述的一種一體式污水消毒處理設備,其特征在于:所述T形桿(28)轉動連接于供水管道(27)一側,所述T形桿(28)一端設置于供水管道(27)內部,所述T形桿(28)一端外側固定連接有多個葉片(29)。
8.根據權利要求1所述的一種一體式污水消毒處理設備,其特征在于:變向組件包括短桿(30)、長桿(31)、T形活塞(32)、儲氣缸(33)、活塞缸(34)和傳動活塞(35),所述短桿(30)一端與T形桿(28)一側轉動連接,所述短桿(30)另一端與長桿(31)轉動連接,所述長桿(31)固定連接于T形活塞(32)頂部,所述儲氣缸(33)套設于T形活塞(32)外側,所述T形活塞(32)固定連接于處理箱(1)一側底部。
9.根據權利要求8所述的一種一體式污水消毒處理設備,其特征在于:所述活塞缸(34)固定連接于儲氣缸(33)與處理箱(1)之間,所述傳動活塞(35)一端設置于活塞缸(34)內部,所述傳動活塞(35)另一端與攪動架(36)固定連接。
10.根據權利要求1所述的一種一體式污水消毒處理設備,其特征在于:所述過濾網(6)頂部一側設置有密封擋板(37),所述密封擋板(37)固定連接有多個卡板(39),所述處理箱(1)一側固定連接有多個安裝螺帽(38),多個所述卡板(39)分別與多個安裝螺帽(38)之間螺紋連接有安裝螺栓。
發明內容
為實現以上目的,本發明通過以下技術方案予以實現:一種一體式污水消毒處理設備,包括處理箱,所述處理箱內部從上到下依次設置有箱體、鍋爐、兩個輔助過濾網、過濾網和攪動架,所述處理箱一側底部固定連接有三通閥,控制三通閥常開端關閉而常閉端打開,攪動架攪動的沉淀物凈水混合物通過三通閥排出處理箱內部,對處理箱內部清理;
所述鍋爐輸出端設置有排氣預熱組件,排氣預熱組件包括蒸汽管道、散氣管、多個散熱管和閘閥,多個所述散熱管均設置于兩個輔助過濾網之間,散熱管內部水蒸氣與污水進行熱交換,對污水進行加熱,對水蒸氣中余熱進行利用,減少鍋爐工作需要的資源投入;
排氣預熱組件與箱體之間設置有導氣組件,導氣組件包括控制閥、增壓泵、導氣豎管、排水閥和多個細管,多個所述細管底端設置于鍋爐底部,水蒸氣最終通過細管排放到污水中,水蒸氣在壓力的作用下擴散對污水進行加熱,對污水進行加熱高溫消毒,所述排水閥設置于上部的輔助過濾網頂部一側;
所述箱體與攪動架之間設置有傳動組件,傳動組件包括霧化噴頭、泵體、供水管道、T形桿和變向組件,供水管道內部流動的液體向多個T形桿底部的多個葉片施加力,使多個葉片帶動T形桿進行旋轉,變向組件傳動后攪動架隨著T形活塞的上下運動,在處理箱內腔底部進行往復運動。
優選地,所述箱體、鍋爐、兩個輔助過濾網、過濾網均與處理箱固定連接,所述三通閥常開端固定連接有水管,所述水管頂部固定連接有電磁閥,所述電磁閥頂部與處理箱之間固定連接有進水泵,所述進水泵進水端固定連接有污水供給管道。
優選地,所述鍋爐包括抽水泵,所述抽水泵進水端固定連接有進水管,所述進水管設置為L形,所述蒸汽管道固定連接于鍋爐輸出端,所述散氣管固定連接于蒸汽管道與處理箱之間,多個散熱管內部水蒸氣與污水進行熱交換,對污水進行加熱,使污水進入鍋爐內部之前被預熱升溫,多個所述散熱管均固定連接于散氣管一側,減少鍋爐將污水加工成水蒸氣需要的時間和資源投入。
優選地,所述處理箱內部一側固定連接有匯集管,多個所述散熱管一端均與匯集管固定連接,所述閘閥固定連接于匯集管一側,所述排水閥與閘閥之間固定連接有凈水箱,所述凈水箱一端固定連接有圓管,凈水匯集到多個散熱管一端固定的匯集管內部,凈水通過閘閥進入凈水箱內部,凈水和水蒸氣通過圓管排出。
優選地,所述控制閥固定連接于蒸汽管道頂部與增壓泵進氣端之間,所述導氣豎管固定連接于增壓泵出氣端與箱體之間,所述增壓泵與蒸汽管道之間固定連接有多個安裝豎桿,水蒸氣被增壓泵加壓加速后通過導氣豎管輸送到箱體內部。
優選地,多個所述細管均固定連接于箱體底部,水蒸氣最終通過細管排放到污水中,水蒸氣在壓力的作用下擴散對污水進行加熱,對污水進行加熱高溫消毒,霧化噴頭固定連接于箱體頂部,所述霧化噴頭與泵體之間固定連接有連接管,泵體通過供水管道抽取藥劑,藥劑被霧化噴頭霧化后噴射到箱體內部,所述供水管道固定連接于泵體進水端。
優選地,所述T形桿轉動連接于供水管道一側,所述T形桿一端設置于供水管道內部,所述T形桿一端外側固定連接有多個葉片,供水管道內部流動的液體向多個T形桿底部的多個葉片施加力,使多個葉片帶動T形桿進行旋轉。
優選地,變向組件包括短桿、長桿、T形活塞、儲氣缸、活塞缸和傳動活塞,所述短桿一端與T形桿一側轉動連接,所述短桿另一端與長桿轉動連接,旋轉的T形桿帶動短桿一端以圓形軌跡旋轉時,短桿轉動連接的長桿進行上下運動,所述長桿固定連接于T形活塞頂部,所述儲氣缸套設于T形活塞外側,T形活塞在儲氣缸的限位下只能夠進行上下運動,因此長桿只能夠進行上下運動,所述T形活塞固定連接于處理箱一側底部,T形活塞在儲氣缸內部進行上下運動。
優選地,所述活塞缸固定連接于儲氣缸與處理箱之間,所述傳動活塞一端設置于活塞缸內部,攪動架隨著T形活塞的上下運動,在處理箱內腔底部進行往復運動,攪動架對處理箱內腔底部的沉淀物進行攪動,所述傳動活塞另一端與攪動架固定連接。
優選地,所述過濾網頂部一側設置有密封擋板,所述密封擋板固定連接有多個卡板,所述處理箱一側固定連接有多個安裝螺帽,多個所述卡板分別與多個安裝螺帽之間螺紋連接有安裝螺栓,安裝螺栓旋轉離開多個安裝螺帽內部,使卡板與處理箱之間的固定被去除,將過濾網與輔助過濾網之間的活性炭吸附料掏出后更換新的。
本發明提供了一種一體式污水消毒處理設備,其具備的有益效果如下:
1、該一體式污水消毒處理設備,過濾網、過濾網與輔助過濾網之間的活性炭吸附料、兩個輔助過濾網組成的多級過濾結構對污水中顆粒物雜質進行處理后,鍋爐將初步處理后污水加熱成為水蒸氣,對病毒進行高溫殺除,完成過濾消毒的污水立即排出處理箱內部,縮短污水處理需要的時間成本投入。并且在鍋爐輸出端設置的排氣預熱組件對水蒸氣中余熱進行利用,減少鍋爐工作需要的資源投入。而且在排氣預熱組件頂部連通有導氣組件,通過導氣之間與傳動組件配合,使藥劑和水蒸氣在箱體內部混合后對處理箱內部暫存的污水進行消毒處理,保證污水消毒的質量。通過在鍋爐周圍設置排氣預熱組件、導氣組件和傳動組件,滿足對含有不同病毒的污水在處理箱內部進行消毒的需要。
2、該一體式污水消毒處理設備,處理箱內部污水液位升高,污水被過濾網截留大顆粒物質后,污水被過濾網與輔助過濾網之間的活性炭吸附料吸附一部分病毒和細小顆粒物,最終污水被兩個輔助過濾網過濾截留顆粒物雜質,多次多級漸進式對污水中顆粒物雜質和一部分病毒截留過濾后,形成初步處理后污水,通過過濾網、過濾網與輔助過濾網之間的活性炭吸附料、兩個輔助過濾網組成的多級過濾雜質對污水中顆粒物雜質進行處理。
3、該一體式污水消毒處理設備,鍋爐將初步處理后污水加熱成為水蒸氣,將初步處理后污水中病毒進行高溫處理,完成污水的消毒凈化,水蒸氣通過鍋爐輸出端設置的排氣預熱組件(排氣預熱組件工作如下文所示)引導,水蒸氣通過多個散熱管與流經兩個輔助過濾網之間的污水進行熱交換,對污水進行預熱加熱減少污水高溫消毒需要的成本投入。將顆粒物過濾、雜質吸附、細菌病毒進行一體化處理,避免沉淀反應步驟需要的時間成本投入,縮短污水處理的周期,高溫將污水蒸發成為水蒸氣,保證污水處理的質量。
4、該一體式污水消毒處理設備,增壓泵抽取水蒸氣加壓加速后通過導氣豎管輸送到箱體內部,隨著箱體和多個細管內部水蒸氣增多氣壓增高,水蒸氣最終通過多個細管排放到處理箱內部。排放到處理箱內部的高溫水蒸氣與初步處理后污水混合,高溫水蒸氣對初步處理后污水中病毒細菌進行殺除。
5、該一體式污水消毒處理設備,導氣組件工作的同時,藥劑被泵體輸出端設置的霧化噴頭霧化后噴灑到箱體內部,霧化的藥劑與箱體內部水蒸氣混合后進入處理箱內部污水內部,通過高溫殺菌的同時藥劑對高溫難以殺死的細菌進行殺除,保證在處理箱內部對污水過濾消毒處理的質量。
6、該一體式污水消毒處理設備,T形桿與變向組件配合使攪動架在處理箱內腔底部進行往復運動,往復運動的攪動架對處理箱內腔底部的沉淀物進行攪動,避免沉淀物結塊將三通閥和過濾網堵塞。可以通過傳動組件向處理箱內部灌輸凈水,從上到下對輔助過濾網和過濾網進行沖洗,并且此時控制三通閥常開端關閉而常閉端打開,此時處理箱內部的被攪動架攪動的沉淀物凈水混合物通過三通閥排出處理箱內部,完成對處理箱內部基礎清理,避免過濾網、輔助過濾網堵塞和處理箱內腔底部沉淀物過多影響處理箱內部進行污水過濾消毒一體化處理的速度。
(發明人:余衛民;朱昌富)






