公布日:2023.12.22
申請日:2023.09.22
分類號:B01D29/54(2006.01)I;B01D29/27(2006.01)I;B01D29/90(2006.01)I
摘要
本發明涉及廢水處理裝置技術領域,公開了一種生化廢水高效處理裝置,本發明包括向上敞口的廢水分離筒,以及通過螺釘蓋裝在所述廢水分離筒上端口的端蓋,在所述廢水分離筒內轉動設有一個碗狀的透水缽,所述透水缽的上端固定設有穿出所述端蓋并與固定在所述端蓋上的減速器同軸連接的轉軸,驅動所述減速器的是安裝在所述端蓋上的直驅電機。本發明通過獨特的濾網結構和離心旋轉的配合使得固體廢棄物在過濾時盡可能的遠離濾網,這樣使得過濾效果更好,另外有效的減少了對濾網的清洗頻率,提高生產效率。

權利要求書
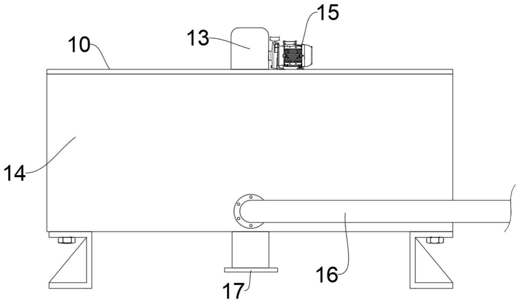
1.一種生化廢水高效處理裝置,其特征在于:包括向上敞口的廢水分離筒(14),以及通過螺釘蓋裝在所述廢水分離筒(14)上端口的端蓋(10),在所述廢水分離筒(14)內轉動設有一個碗狀的透水缽(21),所述透水缽(21)的上端固定設有穿出所述端蓋(10)并與固定在所述端蓋(10)上的減速器(13)同軸連接的轉軸(22),驅動所述減速器(13)的是安裝在所述端蓋(10)上的直驅電機(15),經過所述減速器(13)的減速后所述直驅電機(15)的轉矩驅動所述轉軸(22)以及透水缽(21)轉動,在所述透水缽(21)上間隔固定設有貫穿的六邊形濾孔(23),在所述廢水分離筒(14)的外部通過法蘭連通著一根供污水管(16)用于向所述廢水分離筒(14)內供污水。
2.根據權利要求1所述的一種生化廢水高效處理裝置,其特征在于:在所述廢水分離筒(14)的內腔還設有廢渣網兜(24),所述廢渣網兜(24)的作業面與所述廢水分離筒(14)內污水流向垂直,用于將污水中的固體顆粒物截留并匯集處理,并且在所述端蓋(10)上環形間隔設有若干鉸接蓋裝在所述端蓋(10)上的密封翻蓋(11),通過將所述密封翻蓋(11)翻開可對所述廢渣網兜(24)進行取放更換。
3.根據權利要求2所述的一種生化廢水高效處理裝置,其特征在于:所述廢渣網兜(24)包括彈性網布(25)以及和所述彈性網布(25)縫合連接為一體的無彈網布(26),所述彈性網布(25)和所述無彈網布(26)形成一個向上敞口的布袋并且所述無彈網布(26)的高度只有所述彈性網布(25)的一半,所述彈性網布(25)的兩側邊縫合固定在展桿(27)上,并通過所述展桿(27)插裝在所述廢水分離筒(14)內實現固定,當污水裹挾著固體污漬回旋時,在離心力的作用下固體物質向外甩并被設置在外圍的廢渣網兜(24)攔截。
4.根據權利要求3所述的一種生化廢水高效處理裝置,其特征在于:所述彈性網布(25)為氨綸布料編織成型,而所述無彈網布(26)有石英纖維材料編織成型,這樣具有較好彈性的氨綸編織布料受到水流沖擊后會向后變形,而所述無彈網布(26)的變形較小,使得所述無彈網布(26)和所述彈性網布(25)的端口之間形成一個較大的敞口供固體物進入,并隨著水流的減速落入所述廢渣網兜(24)內。
5.根據權利要求4所述的一種生化廢水高效處理裝置,其特征在于:在所述廢水分離筒(14)的底壁上還焊接固定設有若干掀背坡(12),所述掀背坡(12)設置在所述廢渣網兜(24)的前方,所述掀背坡(12)與所述廢渣網兜(24)一一匹配并且設置方向平行。
6.根據權利要求5所述的一種生化廢水高效處理裝置,其特征在于:所述掀背坡(12)具有至少三十度的斜面坡度,其將旋轉中的水流向上帶起使得固體廢物能更多的進入所述廢渣網兜(24)內。
7.根據權利要求6所述的一種生化廢水高效處理裝置,其特征在于:在所述廢水分離筒(14)的底壁內焊接固定設有若干供所述展桿(27)插裝的軸座,用于固定所述展桿(27)的下端,另外所述密封翻蓋(11)的下端面固定設有供所述展桿(27)上端插裝的軸座用于固定所述展桿(27)的上端。
8.根據權利要求7所述的一種生化廢水高效處理裝置,其特征在于:在所述透水缽(21)的外側壁焊接固定設有斜置的螺旋葉片(20),當所述透水缽(21)轉動時所述螺旋葉片(20)帶動污水轉動形成漩渦流,在快速漩渦流的驅動下使得固體廢物向外甩進而遠離所述透水缽(21),有利于加速固液分離。
9.根據權利要求8所述的一種生化廢水高效處理裝置,其特征在于:所述透水缽(21)的下端固定設有與其內腔連通的排水內置管(19)并且其與固定在所述廢水分離筒(14)下端面的排水法蘭管(17)連通,用于將滲透的污水排出,由于所述透水缽(21)的斜面結構使得固體廢物顆粒遠離設置在所述透水缽(21)上的六邊形濾孔(23),進而使得廢液的滲透速率更快,并且不易導致堵塞,降低了設備清洗周期。
發明內容
本發明要解決的技術問題是:為了克服上述中存在的問題,提供了一種生化廢水高效處理裝置,其解決了上述等問題。
本發明解決其技術問題是采取以下技術方案實現的:
一種生化廢水高效處理裝置,包括向上敞口的廢水分離筒,以及通過螺釘蓋裝在所述廢水分離筒上端口的端蓋,在所述廢水分離筒內轉動設有一個碗狀的透水缽,所述透水缽的上端固定設有穿出所述端蓋并與固定在所述端蓋上的減速器同軸連接的轉軸,驅動所述減速器的是安裝在所述端蓋上的直驅電機,經過所述減速器的減速后所述直驅電機的轉矩驅動所述轉軸以及透水缽轉動,在所述透水缽上間隔固定設有貫穿的六邊形濾孔,在所述廢水分離筒的外部通過法蘭連通著一根供污水管用于向所述廢水分離筒內供污水。
優選的,在所述廢水分離筒的內腔還設有廢渣網兜,所述廢渣網兜的作業面與所述廢水分離筒內污水流向垂直,用于將污水中的固體顆粒物截留并匯集處理,并且在所述端蓋上環形間隔設有若干鉸接蓋裝在所述端蓋上的密封翻蓋,通過將所述密封翻蓋翻開可對所述廢渣網兜進行取放更換。
優選的,所述廢渣網兜包括彈性網布以及和所述彈性網布縫合連接為一體的無彈網布,所述彈性網布和所述無彈網布形成一個向上敞口的布袋并且所述無彈網布的高度只有所述彈性網布的一半,所述彈性網布的兩側邊縫合固定在展桿上,并通過所述展桿插裝在所述廢水分離筒內實現固定,當污水裹挾著固體污漬回旋時,在離心力的作用下固體物質向外甩并被設置在外圍的廢渣網兜攔截。
優選的,所述彈性網布為氨綸布料編織成型,而所述無彈網布有石英纖維材料編織成型,這樣具有較好彈性的氨綸編織布料受到水流沖擊后會向后變形,而所述無彈網布的變形較小,使得所述無彈網布和所述彈性網布的端口之間形成一個較大的敞口供固體物進入,并隨著水流的減速落入所述廢渣網兜內。
優選的,在所述廢水分離筒的底壁上還焊接固定設有若干掀背坡,所述掀背坡設置在所述廢渣網兜的前方,所述掀背坡與所述廢渣網兜一一匹配并且設置方向平行。
優選的,所述掀背坡具有至少三十度的斜面坡度,其將旋轉中的水流向上帶起使得固體廢物能更多的進入所述廢渣網兜內。
優選的,在所述廢水分離筒的底壁內焊接固定設有若干供所述展桿插裝的軸座,用于固定所述展桿的下端,另外所述密封翻蓋的下端面固定設有供所述展桿上端插裝的軸座用于固定所述展桿的上端。
優選的,在所述透水缽的外側壁焊接固定設有斜置的螺旋葉片,當所述透水缽轉動時所述螺旋葉片帶動污水轉動形成漩渦流,在快速漩渦流的驅動下使得固體廢物向外甩進而遠離所述透水缽,有利于加速固液分離。
優選的,所述透水缽的下端固定設有與其內腔連通的排水內置管并且其與固定在所述廢水分離筒下端面的排水法蘭管連通,用于將滲透的污水排出,由于所述透水缽的斜面結構使得固體廢物顆粒遠離設置在所述透水缽上的六邊形濾孔,進而使得廢液的滲透速率更快,并且不易導致堵塞,降低了設備清洗周期。
本發明的優點和積極效果是:通過獨特的濾網結構和離心旋轉的配合使得固體廢棄物在過濾時盡可能的遠離濾網,這樣使得過濾效果更好,另外有效的減少了對濾網的清洗頻率,提高生產效率。
(發明人:沈學拯;魏曉鳴;張國劍;沈一成;李立新)






