公布日:2023.12.29
申請日:2023.10.26
分類號:C02F9/00(2023.01)I;C02F1/00(2023.01)N;C02F1/78(2023.01)N;C02F1/50(2023.01)N;C02F3/34(2023.01)N;C02F103/32(2006.01)N;C02F101/30(2006.01)N;C02F101
/16(2006.01)N;C02F101/10(2006.01)N
摘要
本發明公開了一種植物高蛋白飲料生產中廢水凈化處理裝置及處理方法,屬于廢水處理技術領域,所述裝置包括過濾器,所述過濾器底部設有進水管道,所述進水管道外接進水管道,過濾器的左側設有廢料管道,所述廢料管道左側設有脫水機,所述脫水機的右側設有回流管,所述回流管的末端連通有回流泵,所述回流泵的出水口與所述進水管道相連通,且連通處設有回流閥,所述脫水機的左側設有排料管,所述排料管,所述過濾器的右側下方設有排水管,所述排水管的右側連通有氧化器,本發明通過過濾器將含有植物殘渣的廢水進行過濾,過濾完成后通過氧化器分解廢水中有機物,降低廢水中的COD含量。

權利要求書
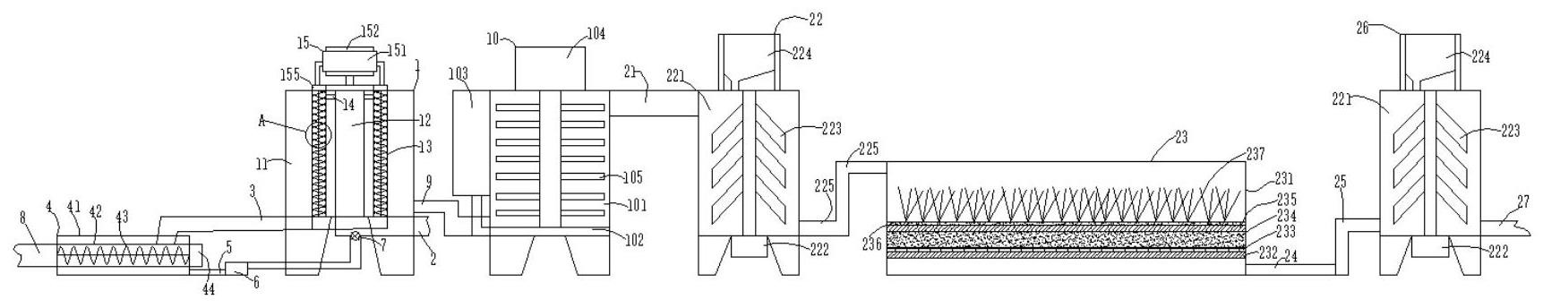
1.一種植物高蛋白飲料生產中廢水凈化處理裝置,其特征在于,包括過濾器(1),所述過濾器(1)底部設有進水管道(2),所述進水管道(2)外接進水管道(2),過濾器(1)的左側設有廢料管道(3),所述廢料管道(3)左側設有脫水機(4),所述脫水機(4)的右側設有回流管(5),所述回流管(5)的末端連通有回流泵(6),所述回流泵(6)的出水口與所述進水管道(2)相連通,且連通處設有回流閥(7),所述脫水機(4)的左側設有排料管(8),所述排料管(8),所述過濾器(1)的右側下方設有排水管(9),所述排水管(9)的右側連通有氧化器(10),所述氧化器(10)的右側設有連接管(21),所述連接管(21)的右側連通有菌劑混料器(22),所述菌劑混料器(22)的右側設有多個生物降解池(23),每個所述生物降解池(23)的右側設有均設有出水管(24),所述出水管(24)的末端連接有殺菌管(25),所述殺菌管(25)的右側連通有殺菌混料器(26),殺菌混料器(26)的右側設有排放管(27)。
2.如權利要求1所述的一種植物高蛋白飲料生產中廢水凈化處理裝置,其特征在于,所述過濾器(1)包括過濾倉(11),所述過濾倉(11)的內部固定連接有主管道(12),所述主管道(12)的下端與所述進水管道(2)相連通,所述主管道(12)的外側設有多個濾水膜管(13),所述濾水膜管(13)的側面設有副管道(14),所述副管道(14)與所述主管道(12)的上方側面相連通,所述濾水膜管(13)的底部與所述廢料管道(3)相連通,所述過濾倉(11)的上方設有用于疏通濾水膜管(13)內壁的排料器(15)。
3.如權利要求2所述的一種植物高蛋白飲料生產中廢水凈化處理裝置,其特征在于,所述排料器(15)包括固定架(151),所述固定架(151)的下端與所述過濾倉(11)頂部固定連接,所述固定架(151)的中間固定連接有排料電機(152),所述排料電機(152)的輸出軸上傳動連接有主齒輪(153),每個所述濾水膜管(13)內轉動連接有螺旋排料桿(154),所述螺旋排料桿(154)的上端設有副齒輪(155),所述主齒輪(153)與所述副齒輪(155)捏合傳動。
4.如權利要求3所述的一種植物高蛋白飲料生產中廢水凈化處理裝置,其特征在于,所述螺旋排料桿(154)的外側固定有清洗刷(156)。
5.如權利要求1所述的一種植物高蛋白飲料生產中廢水凈化處理裝置,其特征在于,所述脫水機(4)包括脫水殼(41),所述脫水殼(41)的內部橫向連接有濾水網筒(42),所述濾水網筒(42)內設有螺旋攪拌桿(43),所述螺旋攪拌桿(43)的兩端與所述脫水殼(41)的內壁轉動連接,所述脫水殼(41)的右側外壁固定連接有脫水電機(44),所述脫水電機(44)與所述螺旋攪拌桿(43)傳動連接,所述廢料管道(3)穿過脫水殼(41)與所述濾水網筒(42)的右側上方相連通,所述回流管(5)與所述脫水殼(41)的底部相連通,所述排料管(8)穿過脫水殼(41)與所述濾水網筒(42)相連通。
6.如權利要求1所述的一種植物高蛋白飲料生產中廢水凈化處理裝置,其特征在于,所述氧化器(10)包括氧化倉(101),所述氧化倉(101)的左側與所述排水管(9)相連通,所述氧化倉(101)的內底部設有微孔曝氣管(102),所述氧化倉(101)的左側外壁固定連接臭氧發生器(103),所述臭氧發生器(103)的出氣口與所述微孔曝氣管(102)相連通,氧化倉(101)的右側與所述連接管(21)相連通。
7.如權利要求1所述的一種植物高蛋白飲料生產中廢水凈化處理裝置,其特征在于,所述菌劑混料器(22)與所述殺菌混料器(26)均包括混料倉(221),所述混料倉(221)的底部設有混料電機(222),混料倉(221)的內部設有混料桿(223),所述混料電機(222)的輸出軸與所述混料桿(223)傳動連接,混料倉(221)的頂部固定連接有添加劑倉(224)。
8.如權利要求1所述的一種植物高蛋白飲料生產中廢水凈化處理裝置,其特征在于,所述菌劑混料器(22)與所述殺菌混料器(26)均包括混料倉(221),所述混料倉(221)的底部設有混料電機(222),混料倉(221)的內部設有混料桿(223),所述混料電機(222)的輸出軸與所述混料桿(223)傳動連接,混料倉(221)的頂部固定連接有添加劑倉(224),所述添加劑倉(224)的下端與所述混料倉(221)相連通。
9.如權利要求1所述的一種植物高蛋白飲料生產中廢水凈化處理裝置,其特征在于,所述生物降解池(23)包括池體(231),所述池體(231)的內底部設有混凝土過濾板(232),所述混凝土過濾板(232)的上方鋪設有棉布層(233),所述棉布層(233)的上方鋪設有土壤層(234),所述土壤層(234)的上方鋪設有砂層(235),所述砂層(235)上方設有鐵碳顆粒層(236),池體(231)內部還種植有水藻(237),所述出水管(24)與混凝土過濾板(232)下方相連通。
10.利用上述權利要求1-9任意一項所述的一種植物高蛋白飲料生產中廢水凈化處理裝置進行廢水凈化處理的方法,其特征在于,包括以下步驟:S1、將植物高蛋白飲料生產廢水通過進水管道(2)導入過濾器(1)中,通過過濾器(1)將植物殘渣進行過濾,廢水通過排水管(9)進入氧化器(10)進行有機物氧化分解;植物殘渣和廢水的混合物進行脫水機(4)進行脫水,得到含水量為1-5%的植物殘渣并通過排料管(8)排出,脫水機(4)脫除的廢水經過回流管(5)進入過濾器(1)重新進行過濾;S2、通過氧化器(10)將臭氧與廢水混合,廢水中臭氧含量為0.3-2ppm,臭氧與廢水產生氧化還原反應,氧化還原反應的時間為5-30min,水溫為20-30℃,經過氧化還原反應產生氧氣并分解有機物,經過氧化器(10)處理的廢水通過連接管(21)進入菌劑混料器(22),通過菌劑混料器(22)對廢水添加微生物菌劑并進行攪拌,微生物菌劑的添加量為1-10g/m3,然后廢水進入生物降解池(23);S3、在生物降解池(23)內經過微生物對廢水中的氮磷分解后廢水進入殺菌管(25),通過殺菌管(25)將廢水導入殺菌混料器(26)內,經過殺菌劑與廢水混合對廢水中的病菌進行消殺,殺菌劑的添加量為5-8g/m3,然后排放。
發明內容
為解決上述技術問題,本發明提供了一種植物高蛋白飲料生產中廢水凈化處理裝置及處理方法。
本發明的技術方案是:一種植物高蛋白飲料生產中廢水凈化處理裝置,包括過濾器,所述過濾器底部設有進水管道,所述進水管道外接進水管道,過濾器的左側設有廢料管道,所述廢料管道左側設有脫水機,所述脫水機的右側設有回流管,所述回流管的末端連通有回流泵,所述回流泵的出水口與所述進水管道相連通,且連通處設有回流閥,所述脫水機的左側設有排料管,所述排料管,所述過濾器的右側下方設有排水管,所述排水管的右側連通有氧化器,所述氧化器的右側設有連接管,所述連接管的右側連通有菌劑混料器,所述菌劑混料器的右側設有多個生物降解池,每個所述生物降解池的右側設有均設有出水管,所述出水管的末端連接有殺菌管,所述殺菌管的右側連通有殺菌混料器,殺菌混料器的右側設有排放管。
進一步地,所述過濾器包括過濾倉,所述過濾倉的內部固定連接有主管道,所述主管道的下端與所述進水管道相連通,所述主管道的外側設有多個濾水膜管,所述濾水膜管的側面設有副管道,所述副管道與所述主管道的上方側面相連通,所述濾水膜管的底部與所述廢料管道相連通,所述過濾倉的上方設有用于疏通濾水膜管內壁的排料器。
說明:通過濾水膜管對廢水中的植物殘渣進行過濾,分離效率高。
進一步地,所述排料器包括固定架,所述固定架的下端與所述過濾倉頂部固定連接,所述固定架的中間固定連接有排料電機,所述排料電機的輸出軸上傳動連接有主齒輪,每個所述濾水膜管內轉動連接有螺旋排料桿,所述螺旋排料桿的上端設有副齒輪,所述主齒輪與所述副齒輪捏合傳動。
說明:通過排料器用于疏通濾水膜管的內壁,增強濾水效果。
進一步地,所述螺旋排料桿的外側固定有清洗刷。
說明:通過清洗刷對濾水膜管內壁進行清理,增強濾水膜管的濾水效果。
進一步地,所述脫水機包括脫水殼,所述脫水殼的內部橫向連接有濾水網筒,所述濾水網筒內設有螺旋攪拌桿,所述螺旋攪拌桿的兩端與所述脫水殼的內壁轉動連接,所述脫水殼的右側外壁固定連接有脫水電機,所述脫水電機與所述螺旋攪拌桿傳動連接,所述廢料管道穿過脫水殼與所述濾水網筒的右側上方相連通,所述回流管與所述脫水殼的底部相連通,所述排料管穿過脫水殼與所述濾水網筒相連通。
說明:通過螺旋攪拌桿旋轉帶動廢水轉動,廢水再離心力的作用下進行脫水。
進一步地,所述氧化器包括氧化倉,所述氧化倉的左側與所述排水管相連通,所述氧化倉的內底部設有微孔曝氣管,所述氧化倉的左側外壁固定連接臭氧發生器,所述臭氧發生器的出氣口與所述微孔曝氣管相連通,氧化倉的右側與所述連接管相連通。
說明:通過臭氧發生器產生的臭氧對廢水進行氧化分解,臭氧經過氧化還原反應生成氧氣溶解在水中,增強了水體中的氧含量。
進一步地,所述氧化倉的頂部固定連接有攪拌電機,所述攪拌電機的輸出軸伸入氧化倉內,且攪拌電機的輸出軸上固定連接有多個水平攪拌桿。
說明:通過水平攪拌桿攪拌能增強臭氧與水體的接觸效果,增強有機物氧化效率。
進一步地,所述菌劑混料器與所述殺菌混料器均包括混料倉,所述混料倉的底部設有混料電機,混料倉的內部設有混料桿,所述混料電機的輸出軸與所述混料桿傳動連接,混料倉的頂部固定連接有添加劑倉,所述添加劑倉的下端與所述混料倉相連通。
說明:通過菌劑混料器向廢水中添加微生物菌劑,通過微生物降解水體中的高氮高磷物質。
進一步地,所述生物降解池包括池體,所述池體的內底部設有混凝土過濾板,所述混凝土過濾板的上方鋪設有棉布層,所述棉布層的上方鋪設有土壤層,所述土壤層的上方鋪設有砂層,所述砂層上方設有鐵碳顆粒層,池體內部還種植有水藻,所述出水管與混凝土過濾板下方相連通。
說明:生物降解池為微生物降解氮磷提供場所,且生物降解池具有過濾凈化效果,水藻將氮磷重新吸收,降低水中氮磷含量。
進一步地,上述一種植物高蛋白飲料生產中廢水凈化處理裝置進行廢水凈化處理的方法,其特征在于,包括以下步驟:
S1、將植物高蛋白飲料生產廢水通過進水管道導入過濾器中,通過過濾器將植物殘渣進行過濾,廢水通過排水管進入氧化器進行有機物氧化分解;植物殘渣和廢水的混合物進行脫水機進行脫水,得到含水量為1-5%的植物殘渣并通過排料管排出,脫水機脫除的廢水經過回流管進入過濾器重新進行過濾;
S2、通過氧化器將臭氧與廢水混合,廢水中臭氧含量為0.3-2ppm,臭氧與廢水產生氧化還原反應,氧化還原反應的時間為5-30min,水溫為20-30℃,經過氧化還原反應產生氧氣并分解有機物,增加水體中的氧含量,降低廢水中COD含量,經過氧化器處理的廢水通過連接管進入菌劑混料器,通過菌劑混料器對廢水添加微生物菌劑并進行攪拌,微生物菌劑的添加量為1-10g/m3,然后廢水進入生物降解池;
S3、在生物降解池內經過微生物對廢水中的氮磷分解后廢水進入殺菌管,通過殺菌管將廢水導入殺菌混料器內,經過殺菌劑與廢水混合對廢水中的病菌進行消殺,殺菌劑的添加量為5-8g/m3,然后排放。
本發明的有益效果是:
(1)本發明通過過濾器將含有植物殘渣的廢水進行過濾,過濾完成后通過氧化器分解廢水中有機物,降低廢水中的COD含量,本發明通過微生物菌劑對廢水中的高氮高磷進行降解,降解完成后通過殺菌處理,對水體殺菌。
(2)本裝置通過多種水體凈化方式,對廢水進行凈化,凈化效率高,凈化效果好,在凈化過程中不對廢水中引入其他污染物質,采用微生物降解廢水中的氮磷含量效果好,且處理成本低,適合大力推廣,臭氧氧化分解有機物,同時補充水體中的氧含量。
(發明人:商慶宏;陳世群)






