公布日:2023.12.29
申請日:2023.09.25
分類號:F28D7/10(2006.01)I;F25B30/06(2006.01)I;F25B27/02(2006.01)I;F28F11/02(2006.01)I;F28F9/26(2006.01)I
摘要
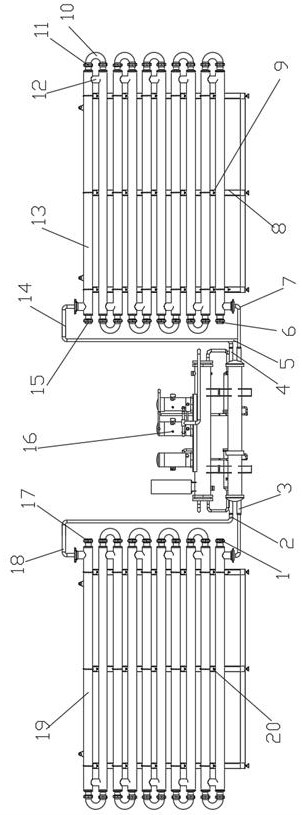
本發明公開了一種海水養殖廢水余熱再利用裝置,所述廢水余熱再利用裝置包括廢水余熱熱交換器、水源熱泵和海水熱交換器,廢水余熱熱交換器設有低溫進水口和低溫回水口,低溫進水口和低溫回水口與水源熱泵相連,廢水余熱熱交換器設有廢水余熱交換管,海水熱交換器均設有海水熱交換管廢水余熱交換管和海水熱交換管結構相同,均設有外管,外管內插設有內管,外管與內管之間密封隔斷,外管與內管之間流動廢水或新的海水,內管內流動介質水。本發明的有益效果是:通過插接的方式在每個外觀內設置一個單獨的內管,當需要犀利外管的內壁時,僅需將內管抽出即可,與傳統的外觀內設置多個內管相比,本發明的結構更利于快速拆裝清洗外觀內壁。

權利要求書
1.一種海水養殖廢水余熱再利用裝置,所述廢水余熱再利用裝置包括廢水余熱熱交換器、水源熱泵和海水熱交換器,廢水余熱熱交換器設有低溫進水口和低溫回水口,低溫進水口和低溫回水口與水源熱泵相連,將廢水中的余熱傳遞到水源熱泵中的介質水,水源熱泵對介質水進行加熱,海水熱交換器設有高溫出水口和高溫回水口,高溫出水口和高溫回水口與水源熱泵相連,將水源熱泵中加熱完成的介質水送入海水熱交換器對新的海水進行加熱,其特征在于,廢水余熱熱交換器設有廢水余熱交換管,海水熱交換器均設有海水熱交換管廢水余熱交換管和海水熱交換管結構相同,均設有外管,外管內插設有內管,外管與內管之間密封隔斷,外管與內管之間流動廢水或新的海水,內管內流動介質水。
2.根據權利要求1所述一種海水養殖廢水余熱再利用裝置,其特征在于,相鄰的廢水余熱交換管或海水熱交換管通過連接彎管連接,并通過鎖緊連接器固定密封連接。
3.根據權利要求2所述一種海水養殖廢水余熱再利用裝置,其特征在于,鎖緊連接器包括手輪,手輪的中心設有基體,基體的左側設有鎖緊套,鎖緊套的壁設有螺線形的鎖緊斜槽,鎖緊斜槽將連接彎管鎖緊在手輪基體內。
4.根據權利要求3所述一種海水養殖廢水余熱再利用裝置,其特征在于,基體的內部設有凸臺,凸臺的側面設有輪輻狀的固定板,固定板的中心設有固定螺栓;內管兩端均設有固定板,通過固定螺栓與芯軸的端部螺紋固定連接,將內管兩端的手輪的基體拉緊壓在海水熱交換管或者廢水余熱交換管的兩端,手輪的基體與海水熱交換管或者廢水余熱交換管的兩端接觸面還設有第三密封圈,防止海水或者污水泄漏。
5.根據權利要求1至4其中任意一項所述一種海水養殖廢水余熱再利用裝置,其特征在于,手輪的基體側面還有兩個半環形擋圈,兩個半環形擋圈通過固定螺釘固定在手輪的基體側面,將固定套的凸緣卡在手輪的基體側面,并保證手輪的基體可以在固定套凸緣圓周轉動。
6.根據權利要求5所述一種海水養殖廢水余熱再利用裝置,其特征在于,芯軸上設有葉輪,相鄰的葉輪通過芯軸隔套間隔開,葉輪與通過軸承套設在芯軸的外圓周,葉輪的外圓周設有螺線形扇葉。
7.根據權利要求6所述一種海水養殖廢水余熱再利用裝置,其特征在于,連接彎管包括彎曲部的管道和彎曲部的管道兩端的彎管接頭,彎管接頭表面設有樁柱,樁柱與鎖緊斜槽配合。
發明內容
本發明要實現的目標是:解決微小的顆粒進入熱交換器的水管中,由于廢水中余熱溫度適宜,這些微小顆粒中帶有的微生物在熱交換器的水管壁上附著生長繁殖,對管壁造成污染,同時在管內壁形成一層微生物層,極大地削弱了管壁的熱交換,降低熱交換效率,阻礙廢水余熱的再利用的技術問題。
為了實現上述目標,本發明提供一種海水養殖廢水余熱再利用裝置。
本發明所采用的具體技術方案為:一種海水養殖廢水余熱再利用裝置,所述廢水余熱再利用裝置包括廢水余熱熱交換器、水源熱泵和海水熱交換器,廢水余熱熱交換器設有低溫進水口和低溫回水口,低溫進水口和低溫回水口與水源熱泵相連,將廢水中的余熱傳遞到水源熱泵中的介質水,水源熱泵對介質水進行加熱,海水熱交換器設有高溫出水口和高溫回水口,高溫出水口和高溫回水口與水源熱泵相連,將水源熱泵中加熱完成的介質水送入海水熱交換器對新的海水進行加熱,廢水余熱熱交換器設有廢水余熱交換管,海水熱交換器均設有海水熱交換管廢水余熱交換管和海水熱交換管結構相同,均設有外管,外管內插設有內管,外管與內管之間密封隔斷,外管與內管之間流動廢水或新的海水,內管內流動介質水。
進一步的,相鄰的廢水余熱交換管或海水熱交換管通過連接彎管連接,并通過鎖緊連接器固定密封連接。
進一步的,鎖緊連接器包括手輪,手輪的中心設有基體,基體的左側設有鎖緊套,鎖緊套的壁設有螺線形的鎖緊斜槽,鎖緊斜槽將連接彎管鎖緊在手輪基體內。
進一步地,基體的內部設有凸臺,凸臺的側面設有輪輻狀的固定板,固定板的中心設有固定螺栓;內管兩端均設有固定板,通過固定螺栓與芯軸的端部螺紋固定連接,將內管兩端的手輪的基體拉緊壓在海水熱交換管或者廢水余熱交換管的兩端,手輪的基體與海水熱交換管或者廢水余熱交換管的兩端接觸面還設有第三密封圈,防止海水或者污水泄漏。
進一步地,手輪的基體側面還有兩個半環形擋圈,兩個半環形擋圈通過固定螺釘固定在手輪的基體側面,將固定套的凸緣卡在手輪的基體側面,并保證手輪的基體可以在固定套凸緣圓周轉動。
進一步的,芯軸上設有葉輪,相鄰的葉輪通過芯軸隔套間隔開,葉輪與通過軸承套設在芯軸的外圓周,葉輪的外圓周設有螺線形扇葉。
進一步地,連接彎管包括彎曲部的管道和彎曲部的管道兩端的彎管接頭,彎管接頭表面設有樁柱,樁柱與鎖緊斜槽配合。
本發明的積極效果是:通過插接的方式在每個外管內設置一個單獨的內管,當需要修理外管的內壁時,僅需將內管抽出即可,與傳統的外觀內設置多個內管相比,本發明的結構更利于快速拆裝清洗外觀內壁,解決了微小的顆粒進入熱交換器的水管中,由于廢水中余熱溫度適宜,這些微小顆粒中帶有的微生物在熱交換器的水管壁上附著生產繁殖,對管壁造成污染,同時在管內壁形成一層微生物層,極大地削弱了管壁的熱交換,降低熱交換效率,阻礙廢水余熱的再利用的技術問題。
(發明人:任勇)






