公布日:2023.11.10
申請日:2023.08.04
分類號:C02F1/00(2023.01)I;C02F1/24(2023.01)I
摘要
本發明涉及污水處理領域,具體的說是一種環保型多級污水處理裝置,包括箱體,箱體內固定連接有池體,池體內設有濾框,濾框上端兩側均固定連接有角塊,池體上端兩側均垂直固定有定位柱,兩個定位柱上端均設有限位槽,濾框上端兩側對應兩個角塊的位置均設有限位機構,兩個限位機構一側分別與兩個限位槽相對應,池體底端一側固定連接有排水管,池體底端設有曝氣機構,曝氣機構上端伸入到池體內,池體底端中心位置固定連接有電機,電機輸出端固定連接有轉桿,通過對污水中雜物進行多級分離,防止污水中過多雜物堆積在一個濾網上,同時,還能夠對及時對綠濾網上的雜物進行清理,防止雜物堆積在濾網上而造成濾網的堵塞,從而保證對污水的處理效率。

權利要求書
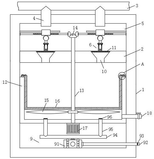
1.一種環保型多級污水處理裝置,包括箱體(1),其特征在于:所述箱體(1)內固定連接有池體(12),所述池體(12)內設有濾框(16),所述濾框(16)上端兩側均固定連接有角塊(26),所述池體(12)上端兩側均垂直固定有定位柱(27),兩個所述定位柱(27)上端均設有限位槽(28),所述濾框(16)上端兩側對應兩個角塊(26)的位置均設有限位機構(8),兩個所述限位機構(8)一側分別與兩個限位槽(28)相對應,所述池體(12)底端一側固定連接有排水管(18),所述池體(12)底端設有曝氣機構(9),所述曝氣機構(9)上端伸入到池體(12)內,所述池體(12)底端中心位置固定連接有電機(17),所述電機(17)輸出端固定連接有轉桿(13),所述轉桿(13)與濾框(16)活動套接,所述轉桿(13)頂端固定連接有第一傘齒輪(14);所述箱體(1)內固定連接有隔板(2),所述隔板(2)位于池體(12)上方,所述轉桿(13)與隔板(2)轉動連接,所述隔板(2)上設有兩個通口(10),兩個所述通口(10)上端均固定連接有濾網(11),兩個所述濾網(11)上方均設有帶動機構(5),兩個所述帶動機構(5)分別位于轉桿(13)上端兩側,兩個所述帶動機構(5)底端均設有轉柱(19),兩個所述轉柱(19)均與箱體(1)內壁轉動連接,兩個所述轉柱(19)上端外側設有第二齒牙(20),兩個所述轉柱(19)底端均固定連接有連接塊(21),兩個所述連接塊(21)底端均固定連接有第一固定塊(22),兩個所述第一固定塊(22)正下方均設有第二固定塊(23),兩個所述第一固定塊(22)與對應第二固定塊(23)之間均通過兩個調節機構(7)連接,兩個所述第二固定塊(23)底端均設有清理機構(6),兩個所述清理機構(6)底端分別與兩個濾網(11)上端貼合,所述箱體(1)上端設有主管(3),所述主管(3)底端兩側均固定連通有分管(4),兩個所述分管(4)底端均插設在箱體(1)內與兩個濾網(11)相對應。
2.根據權利要求1所述的一種環保型多級污水處理裝置,其特征在于:所述曝氣機構(9)包括空壓機(91)、進氣管(92)、過濾件(93)、分流管(94)、若干出氣管(95)和若干止回閥(96),所述空壓機(91)固定連接在箱體(1)底壁上,所述空壓機(91)進氣端固定連接有進氣管(92),所述進氣管(92)一端伸出箱體(1),所述進氣管(92)位于箱體(1)外的一端內部固定連接有過濾件(93),所述空壓機(91)出氣端固定連接有分流管(94),所述分流管(94)上端固定連通有若干出氣管(95),若干所述出氣管(95)上端均插設在池體(12)內,若干所述出氣管(95)內部均固定連接有止回閥(96)。
3.根據權利要求1所述的一種環保型多級污水處理裝置,其特征在于:兩個所述限位機構(8)均包括凹塊(81)、限位塊(82)、轉軸(83)和兩個扭簧(84),所述凹塊(81)固定連接在濾框(16)上端一側,所述凹塊(81)凹口內轉動連接有轉軸(83),所述限位塊(82)一端與轉軸(83)固定套接,所述限位塊(82)另一端與限位槽(28)相貼合,所述限位塊(82)兩側與凹塊(81)凹口兩側壁之間均固定連接有扭簧(84),兩個所述扭簧(84)均套設在轉軸(83)外圍。
4.根據權利要求1所述的一種環保型多級污水處理裝置,其特征在于:兩個所述帶動機構(5)均包括第二傘齒輪(51)、兩個連接桿(52)、往復絲桿(53)、移動板(54)、第一齒牙(55)和導桿(56),兩個所述連接桿(52)之間固定連接有往復絲桿(53),其中一個所述連接桿(52)與箱體(1)內壁轉動連接,另一所述連接桿(52)一端固定連接有第二傘齒輪(51),所述第二傘齒輪(51)與第一傘齒輪(14)相嚙合,所述往復絲桿(53)上螺紋連接有移動板(54),所述移動板(54)底端設有第一齒牙(55),所述第一齒牙(55)與第二齒牙(20)相嚙合,所述導桿(56)固定連接在箱體(1)內壁上,所述移動板(54)與導桿(56)活動套接。
5.根據權利要求1所述的一種環保型多級污水處理裝置,其特征在于:兩個所述清理機構(6)均包括清理刷(61)、安裝塊(62)、安裝桿(63)、安裝槽(64)和彈簧(65),所述安裝塊(62)底端固定連接有清理刷(61),所述清理刷(61)底端與濾網(11)上端緊密貼合,所述安裝塊(62)上端設有安裝槽(64),所述安裝桿(63)上端固定連接在第二固定塊(23)底端,所述安裝桿(63)底端活動插設在安裝槽(64)內,所述安裝桿(63)與安裝槽(64)相適配,所述彈簧(65)固定連接在第二固定塊(23)與安裝塊(62)之間,所述彈簧(65)套設在安裝桿(63)外圍。
6.根據權利要求1所述的一種環保型多級污水處理裝置,其特征在于:四個所述調節機構(7)均包括兩個側塊(71)、安裝筒(72)、螺紋槽(73)、螺栓(74)、兩個夾塊(75),四個卡塊(76)和四個卡槽(77),兩個所述夾塊(75)分別位于第一固定塊(22)和第二固定塊(23)外側,兩個所述夾塊(75)均設為凹形狀,兩個所述夾塊(75)凹口端均固定連接有兩個卡塊(76),所述第一固定塊(22)和第二固定塊(23)外側均設有與卡塊(76)相適配的卡槽(77),四個所述卡塊(76)分別活動插設在四個卡槽(77)內,兩個所述夾塊(75)外側均固定連接有側塊(71),兩個所述側塊(71)相對側分別設有安裝筒(72)和螺栓(74),所述安裝筒(72)與對應側塊(71)轉動連接,所述螺栓(74)與對應側塊(71)固定連接,所述安裝筒(72)靠近螺栓(74)的一端設有螺紋槽(73),所述螺栓(74)與螺紋槽(73)螺紋連接。
7.根據權利要求1所述的一種環保型多級污水處理裝置,其特征在于:所述第一固定塊(22)底端固定連接有若干插桿(24),所述第二固定塊(23)上端設有若干與插桿(24)相適配的插槽(25),若干所述插桿(24)底端分別活動插設在若干插槽(25)內。
8.根據權利要求1所述的一種環保型多級污水處理裝置,其特征在于:所述轉桿(13)下端外側固定連接有若干扇葉(15),若干所述扇葉(15)均位于濾框(16)底端,若干所述扇葉(15)水平高度均大于若干出氣管(95)頂端水平高度。
發明內容
針對現有技術中在對污水進行處理時,通常需要對污水中的雜物進行清理,目前一般都是通過濾網對污水中的雜物進行過濾處理,但污水的進水管進對應濾網的部分位置,導致濾網的利用率較低,濾網上部分位置雜物堆積過多,從而影響污水的通過效率,且污水中的大小雜物均集中在一個濾網上,更是會加快濾網的堵塞,進而影響污水的過濾處理效率的問題,本發明提供了一種環保型多級污水處理裝置。
本發明解決其技術問題所采用的技術方案是:一種環保型多級污水處理裝置,包括箱體,所述箱體內固定連接有池體,所述池體內設有濾框,所述濾框上端兩側均固定連接有角塊,所述池體上端兩側均垂直固定有定位柱,兩個所述定位柱上端均設有限位槽,所述濾框上端兩側對應兩個角塊的位置均設有限位機構,兩個所述限位機構一側分別與兩個限位槽相對應,所述池體底端一側固定連接有排水管,所述池體底端設有曝氣機構,所述曝氣機構上端伸入到池體內,所述池體底端中心位置固定連接有電機,所述電機輸出端固定連接有轉桿,所述轉桿與濾框活動套接,所述轉桿頂端固定連接有第一傘齒輪;所述箱體內固定連接有隔板,所述隔板位于池體上方,所述轉桿與隔板轉動連接,所述隔板上設有兩個通口,兩個所述通口上端均固定連接有濾網,兩個所述濾網上方均設有帶動機構,兩個所述帶動機構分別位于轉桿上端兩側,兩個所述帶動機構底端均設有轉柱,兩個所述轉柱均與箱體內壁轉動連接,兩個所述轉柱上端外側設有第二齒牙,兩個所述轉柱底端均固定連接有連接塊,兩個所述連接塊底端均固定連接有第一固定塊,兩個所述第一固定塊正下方均設有第二固定塊,兩個所述第一固定塊與對應第二固定塊之間均通過兩個調節機構連接,兩個所述第二固定塊底端均設有清理機構,兩個所述清理機構底端分別與兩個濾網上端貼合,所述箱體上端設有主管,所述主管底端兩側均固定連通有分管,兩個所述分管底端均插設在箱體內與兩個濾網相對應。
具體的,所述曝氣機構包括空壓機、進氣管、過濾件、分流管、若干出氣管和若干止回閥,所述空壓機固定連接在箱體底壁上,所述空壓機進氣端固定連接有進氣管,所述進氣管一端伸出箱體,所述進氣管位于箱體外的一端內部固定連接有過濾件,所述空壓機出氣端固定連接有分流管,所述分流管上端固定連通有若干出氣管,若干所述出氣管上端均插設在池體內,若干所述出氣管內部均固定連接有止回閥。
具體的,兩個所述限位機構均包括凹塊、限位塊、轉軸和兩個扭簧,所述凹塊固定連接在濾框上端一側,所述凹塊凹口內轉動連接有轉軸,所述限位塊一端與轉軸固定套接,所述限位塊另一端與限位槽相貼合,所述限位塊兩側與凹塊凹口兩側壁之間均固定連接有扭簧,兩個所述扭簧均套設在轉軸外圍。
具體的,兩個所述帶動機構均包括第二傘齒輪、兩個連接桿、往復絲桿、移動板、第一齒牙和導桿,兩個所述連接桿之間固定連接有往復絲桿,其中一個所述連接桿與箱體內壁轉動連接,另一所述連接桿一端固定連接有第二傘齒輪,所述第二傘齒輪與第一傘齒輪相嚙合,所述往復絲桿上螺紋連接有移動板,所述移動板底端設有第一齒牙,所述第一齒牙與第二齒牙相嚙合,所述導桿固定連接在箱體內壁上,所述移動板與導桿活動套接。
具體的,兩個所述清理機構均包括清理刷、安裝塊、安裝桿、安裝槽和彈簧,所述安裝塊底端固定連接有清理刷,所述清理刷底端與濾網上端緊密貼合,所述安裝塊上端設有安裝槽,所述安裝桿上端固定連接在第二固定塊底端,所述安裝桿底端活動插設在安裝槽內,所述安裝桿與安裝槽相適配,所述彈簧固定連接在第二固定塊與安裝塊之間,所述彈簧套設在安裝桿外圍。
具體的,四個所述調節機構均包括兩個側塊、安裝筒、螺紋槽、螺栓、兩個夾塊,四個卡塊和四個卡槽,兩個所述夾塊分別位于第一固定塊和第二固定塊外側,兩個所述夾塊均設為凹形狀,兩個所述夾塊凹口端均固定連接有兩個卡塊,所述第一固定塊和第二固定塊外側均設有與卡塊相適配的卡槽,四個所述卡塊分別活動插設在四個卡槽內,兩個所述夾塊外側均固定連接有側塊,兩個所述側塊相對側分別設有安裝筒和螺栓,所述安裝筒與對應側塊轉動連接,所述螺栓與對應側塊固定連接,所述安裝筒靠近螺栓的一端設有螺紋槽,所述螺栓與螺紋槽螺紋連接。
具體的,所述第一固定塊底端固定連接有若干插桿,所述第二固定塊上端設有若干與插桿相適配的插槽,若干所述插桿底端分別活動插設在若干插槽內。
具體的,所述轉桿下端外側固定連接有若干扇葉,若干所述扇葉均位于濾框底端,若干所述扇葉水平高度均大于若干出氣管頂端水平高度。
本發明的有益效果:(1)本發明所述的一種環保型多級污水處理裝置,通過若干出氣管將壓縮空氣輸送到池體底部,從而會產生大量氣泡,再通過若干轉動的扇葉對氣泡進行切割,從而產生大量較小的氣泡,氣泡在上升時,污水中較小的雜質則會依附在氣泡上且隨著氣泡一起上升至水面形成浮渣,后期,浮渣則會集中在濾框上,翻轉限位塊,限位塊以轉軸為軸心進行轉動時會對扭簧進行扭動,當限位塊與定位柱上的限位槽完全分離后即可濾框從池體內取出,從而對濾框上的浮渣進行處理,對于濾框的安裝和拆卸都十分的便捷,便于對污水中較小的雜物進行過濾處理。
(2)本發明所述的一種環保型多級污水處理裝置,通過來回移動的移動板帶動轉柱來回轉動,轉柱來回轉動時通過連接塊和調節機構帶動清理刷來回翻轉,初始狀態的清理刷與濾網處于垂直狀態,此時的彈簧處于壓縮狀態,在清理刷翻轉過程中,清理刷通過彈簧的作用力始終與濾網上端貼合,從而保證對濾網上雜物的清理效果,當清理刷由于磨損使底端不能與濾網上端接觸時,轉動安裝筒,由于安裝筒與螺栓螺紋連接,因此兩個側塊逐漸遠離,從而使第一固定塊與第二固定塊遠離,進而使清理刷下移與濾網接觸,保證清理刷對濾網的清理效果,將污水中的雜物進行多級分離,防止污水中過多雜物堆積在一個濾網上,從而保證對污水的處理效率。
(發明人:范磊磊;趙萍)






