公布日:2023.11.10
申請日:2023.07.31
分類號:C02F9/00(2023.01)I;B01D29/03(2006.01)I;B01D29/64(2006.01)I;B01D29/94(2006.01)I;C02F1/00(2023.01)N;C02F3/30(2023.01)N;C02F1/28(2023.01)N
摘要
本發明公開了一種地埋一體式農村污水處理再利用前端預處理裝置,包括污水處理罐,所述排液管分別連接有第一回收支管和第二回收支管,所述進水腔上側活動卡接有斜置濾網,所述進水腔側面固定連接有固體廢物腔,所述固體廢物腔和進水腔之間設置有排廢孔和回流孔,所述斜置濾網上方通過直線驅動件連接有清理刷。采用上述技術方案制成了一種地埋一體式農村污水處理再利用前端預處理裝置,通過斜置濾網可對污水進行預處理,通過斜置濾網可使得部分固體廢物可直接通過重力作用滑落至側面的固體廢物腔內,利用直線驅動件可帶動清理刷在斜置濾網表面移動,利用清理刷對斜置濾網的表面進行清理,提高斜置濾網的清理程度。

權利要求書
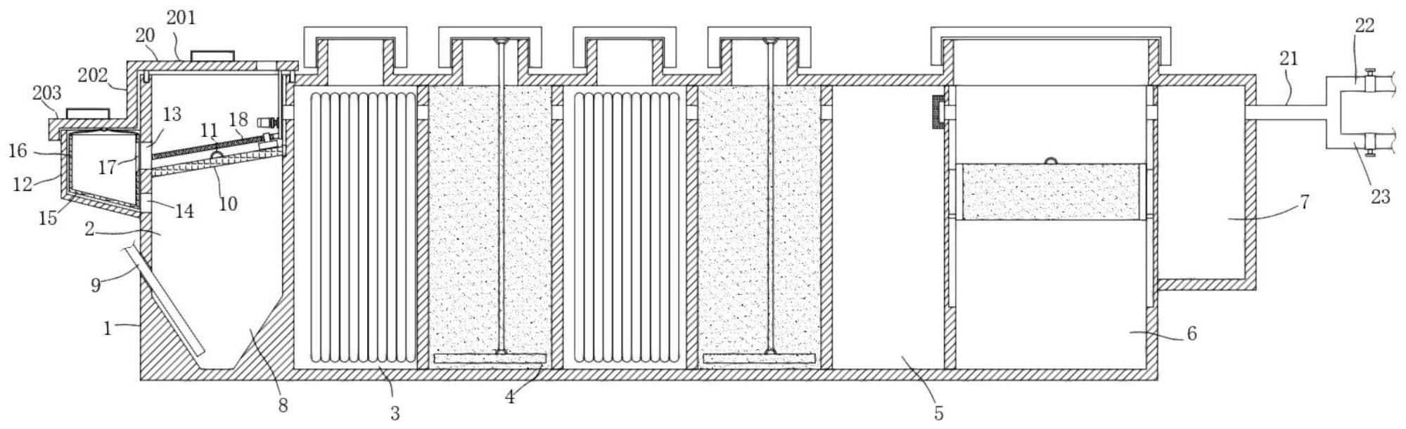
1.一種地埋一體式農村污水處理再利用前端預處理裝置,包括污水處理罐(1),所述污水處理罐(1)內依次設置有進水腔(2)、厭氧腔(3)、好氧腔(4)、沉淀腔(5)、吸附過濾腔(6)和消毒腔(7),其特征在于,所述消毒腔(7)側面連接有排液管(21),所述排液管(21)分別連接有第一回收支管(22)和第二回收支管(23),所述進水腔(2)底部連接抽泥管(9),所述進水腔(2)上側活動卡接有斜置濾網(10),所述斜置濾網(10)上端固定連接有拉環(11),所述進水腔(2)側面固定連接有固體廢物腔(12),所述固體廢物腔(12)和進水腔(2)之間設置有排廢孔(13)和回流孔(14),所述斜置濾網(10)上方通過直線驅動件(18)連接有清理刷(19),所述進水腔(2)和固體廢物腔(12)上端活動卡接有封蓋(20),所述封蓋(20)底端活動連接有承載網筒(16),所述承載網筒(16)位于固體廢物腔(12)內且側面設置有通孔(17)。
2.根據權利要求1所述的一種地埋一體式農村污水處理再利用前端預處理裝置,其特征在于,所述固體廢物腔(12)的底端設置有導流斜面(15),所述導流斜面(15)向靠近進水腔(2)的一側傾斜向下設置。
3.根據權利要求1所述的一種地埋一體式農村污水處理再利用前端預處理裝置,其特征在于,所述直線驅動件(18)包括絲桿(181)、電機(182)和絲桿螺母(183),所述絲桿(181)活動連接封蓋(20)的下方,所述絲桿(181)平行于斜置濾網(10)設置,所述絲桿(181)傳動連接有電機(182),所述絲桿(181)上螺紋連接有絲桿螺母(183),所述絲桿螺母(183)的底端固定連接有清理刷(13)。
4.根據權利要求1所述的一種地埋一體式農村污水處理再利用前端預處理裝置,其特征在于,所述封蓋(20)包括第一蓋體(201)、連接側板(202)和第二蓋體(203),所述第一蓋體(201)活動卡接在進水腔(2)的上端,所述第二蓋體(203)活動卡接在固體廢物腔(12)上端,所述第一蓋體(201)和第二蓋體(203)之間通過連接側板(202)連接。
5.根據權利要求1所述的一種地埋一體式農村污水處理再利用前端預處理裝置,其特征在于,所述進水腔(2)的底端設置有污泥斗(8),所述抽泥管(9)的底端與污泥斗(8)底部連通。
6.根據權利要求1所述的一種地埋一體式農村污水處理再利用前端預處理裝置,其特征在于,所述第一回收支管(22)外接居民生活用水管,所述第二回收支管(23)外接農業種植土地灌溉用水口。
7.根據權利要求1所述的一種地埋一體式農村污水處理再利用前端預處理裝置,其特征在于,所述承接網筒(16)上端固定連接有第一連接環(24),所述第一連接環(24)至少設置有三組,所述蓋體(20)底端固定連接有第二連接環(25),所述第一連接環(24)和第二連接環(25)之間通過第一連接繩索(26)連接。
發明內容
為了解決上述問題,本發明提供如下技術方案:一種地埋一體式農村污水處理再利用前端預處理裝置,包括污水處理罐,所述污水處理罐內依次設置有進水腔、厭氧腔、好氧腔、沉淀腔、吸附過濾腔和消毒腔,所述消毒腔側面連接有排液管,所述排液管分別連接有第一回收支管和第二回收支管,所述進水腔底部連接抽泥管,所述進水腔上側活動卡接有斜置濾網,所述斜置濾網上端固定連接有拉環,所述進水腔側面固定連接有固體廢物腔,所述固體廢物腔和進水腔之間設置有排廢孔和回流孔,所述斜置濾網上方通過直線驅動件連接有清理刷,所述進水腔和固體廢物腔上端活動卡接有封蓋,所述封蓋底端活動連接有承載網筒,所述承載網筒位于固體廢物腔內且側面設置有通孔。
優選的,所述固體廢物腔的底端設置有導流斜面,所述導流斜面向靠近進水腔的一側傾斜向下設置。
優選的,所述直線驅動件包括絲桿、電機和絲桿螺母,所述絲桿活動連接封蓋的下方,所述絲桿平行于斜置濾網設置,所述絲桿傳動連接有電機,所述絲桿上螺紋連接有絲桿螺母,所述絲桿螺母的底端固定連接有清理刷。
優選的,所述封蓋包括第一蓋體、連接側板和第二蓋體,所述第一蓋體活動卡接在進水腔的上端,所述第二蓋體活動卡接在固體廢物腔上端,所述第一蓋體和第二蓋體之間通過連接側板連接。
優選的,所述進水腔的底端設置有污泥斗,所述抽泥管的底端與污泥斗底部連通。
優選的,所述第一回收支管外接居民生活用水管,所述第二回收支管外接農業種植土地灌溉用水口。
優選的,所述承接網筒上端固定連接有第一連接環,所述第一連接環至少設置有三組,所述蓋體底端固定連接有第二連接環,所述第一連接環和第二連接環之間通過第一連接繩索連接。
本發明的優點和有益效果在于:本發明提供一種地埋一體式農村污水處理再利用前端預處理裝置
(1)通過斜置濾網可對污水內的固體雜質進行預處理,初步攔截污水內的固體廢物,便于后續對污水的處理,通過斜置濾網的傾斜設置可使得部分固體廢物可直接通過重力作用滑落至側面的固體廢物腔內,同時借用污水的沖洗作用,將部分污物沖洗下去,提高斜置濾網的清理效果;
(2)利用直線驅動件可帶動清理刷在斜置濾網表面移動,利用清理刷對斜置濾網的表面進行清理,可將堵塞或者附著在斜置濾網上的廢物清理至固體廢物腔內,提高斜置濾網的清理程度;
(3)通過承載網筒對固體廢物進行承接,可直接將承載網筒從固體廢物腔中取出,提高對固體廢物腔內的廢物的處理便捷度;
(4)固體廢物和抽泥管將污水的固體廢物分離出后收集,可直接作為農作物的肥料,實現對污水中分離的固體廢物的再利用,通過第一回收支管和第二回收支管可將處理后的污水分為兩種用途,可直接用于農業灌溉,也可直接用于生活用水,進一步提高污水處理后的利用率。
(發明人:魏斌;王偉;林琳琳;方少欽;阮麗梅)






