公布日:2023.11.14
申請日:2023.10.12
分類號:B01D36/02(2006.01)I
摘要
本發明公開了一種基于多介質結合的復合式污水過濾裝置及過濾方法,涉及污水處理技術領域,包括凈化倉,所述凈化倉內部的底部設有活性炭過濾層,所述活性炭過濾層的頂部設有泡沫濾珠層,所述泡沫濾珠層的頂部設有生物陶粒過濾層;本發明通過固定倉、齒環、不完全齒輪、轉軸、移動桿和鉸接板的配合下,在固體垃圾進入到分液倉的內部后,利用第二驅動電機、轉軸、不完全齒輪、齒環、移動桿和鉸接板的配合下,能都帶的塞板的一端進行往復上下運動,在往復上下的過程中,塞板帶的被篩選出來的固定垃圾進行抖動,使得這些固體垃圾內部的污水被抖出,防止這些固體垃圾摻雜污水進入到垃圾儲存倉的內部。

權利要求書
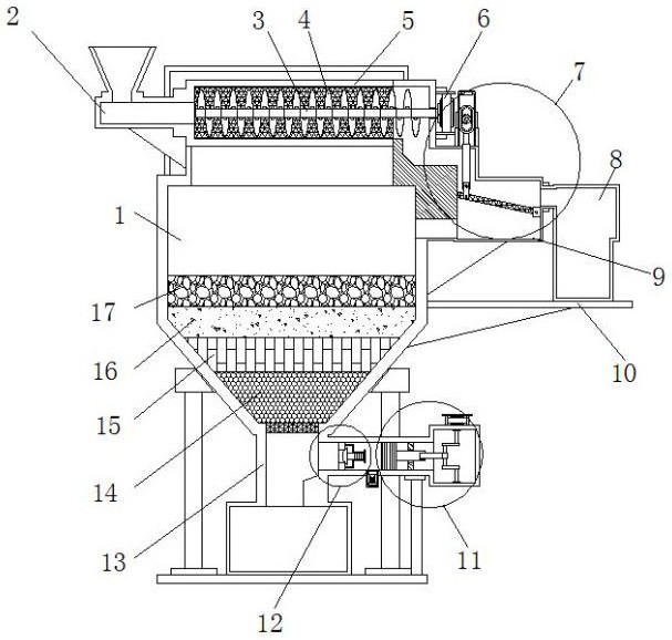
1.一種基于多介質結合的復合式污水過濾裝置,包括凈化倉(1),其特征在于:所述凈化倉(1)內部的底部設有活性炭過濾層(14),所述活性炭過濾層(14)的頂部設有泡沫濾珠層(15),所述泡沫濾珠層(15)的頂部設有生物陶粒過濾層(16),所述生物陶粒過濾層(16)的頂部設有鵝卵石濾層(17),所述凈化倉(1)的頂部設有網倉(5),所述網倉(5)的一側設有進液口(2),所述網倉(5)另一側的中間設有第一驅動電機(6),所述第一驅動電機(6)的輸出端設有第一轉桿(3),所述第一轉桿(3)的外側設有傳送葉(4),所述凈化倉(1)的一側設有分液倉(9),所述分液倉(9)的一側設有垃圾儲存倉(8),所述分液倉(9)的頂部設有抖液組件(7),所述凈化倉(1)的底部設有儲液倉(13),所述儲液倉(13)的一側設有抽氣倉(19),所述抽氣倉(19)的內部設有抽氣組件(12),所述抽氣倉(19)的一側設有連接倉(20),所述連接倉(20)的內部設有封堵組件(11),所述抽氣倉(19)的底部設有單向閥(22),所述凈化倉(1)的頂部設有密封板(18);所述抖液組件(7)包括固定倉(71)、齒環(72)、不完全齒輪(73)、轉軸(74)、移動桿(75)、鉸接板(76)、塞板(77)和第二驅動電機(78),所述分液倉(9)的頂部設有固定倉(71),所述固定倉(71)的一端設有第二驅動電機(78),所述第二驅動電機(78)的輸出端設有轉軸(74),所述轉軸(74)的外側設有不完全齒輪(73),所述固定倉(71)的內部滑動連接有齒環(72),所述齒環(72)的底部設有移動桿(75),所述分液倉(9)內部的一側鉸接有塞板(77),所述塞板(77)的兩端分別設有鉸接板(76),所述鉸接板(76)與移動桿(75)相連;所述網倉(5)的一側設有密封倉,所述第一驅動電機(6)與密封倉相互連接,所述凈化倉(1)的頂部設有通槽,所述第一轉桿(3)位于通槽的正上方,所述網倉(5)的一側設有連接孔,所述第一轉桿(3)通過連接孔延伸至網倉(5)的內部;利用密封倉使得第一驅動電機(6)與網倉(5)進行連接,防止第一驅動電機(6)出現自轉,同時將網倉(5)通槽的上方,在污水從網倉(5)的內部下落后,這些污水能直接進入至凈化倉(1)的內部進行收集,并且第一轉桿(3)通過連接孔與第一驅動電機(6)輸出端相互連接,能方便后續對第一轉桿(3)安裝,并且后續還能對第一轉桿(3)進行拆卸以進行更換;所述凈化倉(1)的一端設有密封蓋板,且密封蓋板的四角處分別設有連接螺栓,所述凈化倉(1)通過連接螺栓與密封蓋板相連,所述分液倉(9)的底部設有加強板,且加強板與凈化倉(1)相互連接,所述凈化倉(1)一側的底部設有底部支撐板(10),所述底部支撐板(10)與垃圾儲存倉(8)相互連接;所述封堵組件(11)包括彈簧(111)、拉桿(112)、通氣孔(113)、安裝架(114)、堵氣塊(115)和擋環(116),所述抽氣倉(19)內部的一側設有擋環(116),所述擋環(116)的一側設有安裝架(114),所述安裝架(114)一側的頂部和底部對稱設有通氣孔(113),所述安裝架(114)一側的中間設有拉桿(112),所述拉桿(112)的外側套設有彈簧(111),所述拉桿(112)的一側設有堵氣塊(115);所述拉桿(112)的一側設有限位板,所述彈簧(111)分別與限位板和安裝架(114)相互連接,所述堵氣塊(115)由錐形結構制成,所述堵氣塊(115)與擋環(116)相互適配,所述堵氣塊(115)的外側設有橡膠套環;所述抽氣組件(12)包括第三驅動電機(121)、第二轉桿(123)、安裝管(124)、穩定環(125)、活塞連接桿(126)、活塞板(127)和鉸接桿(128),所述連接倉(20)的頂部設有第三驅動電機(121),所述第三驅動電機(121)的輸出端設有第二轉桿(123),所述第二轉桿(123)的外側設有安裝管(124),所述安裝管(124)的外側設有鉸接桿(128),所述鉸接桿(128)的一側鉸接有活塞連接桿(126),所述活塞連接桿(126)的一側設有活塞板(127),所述抽氣倉(19)的內部設有穩定環(125),所述活塞連接桿(126)位于穩定環(125)的內部;所述安裝管(124)由U型結構制成,所述鉸接桿(128)的一側設有套管(122),所述套管(122)位于安裝管(124)的外側,所述活塞連接桿(126)的一側設有鉸接槽,所述鉸接桿(128)位于鉸接槽的內部,所述穩定環(125)的一側設有導向孔,所述活塞連接桿(126)位于導向孔的內部;污水凈化的過程中第一驅動電機(6)帶動第一轉桿(3)和傳送葉(4)旋轉將污水內部的較大的固定垃圾進行傳送,而剩余的污水則經過網倉(5)落入到凈化倉(1)的內部,而垃圾儲存倉(8)能夠儲存被分離出來的固定垃圾,將這些垃圾進行集中,以便于后續進行集中處理;在固體的垃圾被分離出來后第二驅動電機(78)帶動轉軸(74)和不完全齒輪(73)進行旋轉,然后不完全齒輪(73)在旋轉的過程中帶動齒環(72)進行往復上下運動,在往復上下運動的過程中再帶動移動桿(75)和鉸接板(76)進行移動,然后鉸接板(76)在移動的過程中拉動塞板(77)上下翻動,進而抖動塞板(77)頂部的垃圾,將塞板(77)內部垃圾內部剩余的污水抖落至分液倉(9)的內部,再流至凈化倉(1)的內部進行收集,然后被抖干的固體垃圾再進入至垃圾儲存倉(8)的內部進行收集;在固體垃圾進入到分液倉(9)的內部后,利用第二驅動電機(78)、轉軸(74)、不完全齒輪(73)、齒環(72)、移動桿(75)和鉸接板(76)的配合下,能都帶的塞板(77)的一端進行往復上下運動,在往復上下的過程中,塞板(77)帶的被篩選出來的固定垃圾進行抖動,使得這些固體垃圾內部的污水被抖出,防止這些固體垃圾摻雜污水進入到垃圾儲存倉(8)的內部,并且這些污水被抖出后,還會自動流入至凈化倉(1)的內部進而凈化,進而有效的提高污水凈化的效率,并且還便于后續對這些固體垃圾進行處理;在污水進行凈化的過程中第三驅動電機(121)帶動第二轉桿(123)和安裝管(124)進行旋轉,在安裝管(124)進行旋轉的過程中拉動鉸接桿(128)和活塞連接桿(126)進行往復移動,在移動的過程中活塞連接桿(126)在帶動活塞板(127),使得活塞板(127)抽取儲液倉(13)內部的空氣,使得儲液倉(13)內部產生一定的負壓,在負壓的作用下,使得這些進而抽取凈化倉(1)內部的空氣,使得這些污水能快速的經過活性炭過濾層(14)、泡沫濾珠層(15)、生物陶粒過濾層(16)和鵝卵石濾層(17),進而加快污水凈化的速度;在活塞板(127)抽取空氣的過程中抽氣倉(19)的內部會產生負壓,在負壓的影響下,抽取安裝架(114)內部的空氣,然后負壓帶動堵氣塊(115)進行移動,使得堵氣塊(115)不再對擋環(116)進行封堵,保證能抽取儲液倉(13)內部的空氣,來加快凈化倉(1)內部污水的流動速度,同時在鵝卵石濾層(17)朝拉桿(112)的方向移動時,彈簧(111)進行復位帶動拉桿(112)進行移動,使得堵氣塊(115)重新對擋環(116)進行封堵,而被擠壓空氣則通過單向閥(22)流至外部,進而防止這些空氣推動凈化倉(1)內部的氣體,使得污水回流。
2.根據權利要求1所述的一種基于多介質結合的復合式污水過濾裝置,其特征在于:所述儲液倉(13)的內部設有網板,所述儲液倉(13)內部的一側設有斜面板。
3.根據權利要求1所述的一種基于多介質結合的復合式污水過濾裝置,其特征在于:所述凈化倉(1)的底部設有底架(21),所述底架(21)的頂部設有支撐桿,且支撐桿的頂部與抽氣倉(19)相互連接。
4.一種基于多介質結合的復合式污水過濾裝置的過濾方法,采用如權利要求1-3任一項所述的一種基于多介質結合的復合式污水過濾裝置,其特征在于,包括:步驟一:首先將污水通過進液口(2)投入,然后第一驅動電機(6)帶動第一轉桿(3)和傳送葉(4)旋轉將污水內部的較大的固定垃圾進行傳送,而剩余的污水則經過網倉(5)落入到凈化倉(1)的內部,而垃圾儲存倉(8)能夠儲存被分離出來的固定垃圾,將這些垃圾進行集中,以便于后續進行集中處理,然后活性炭過濾層(14)、泡沫濾珠層(15)、生物陶粒過濾層(16)和鵝卵石濾層(17)能對污水進行分層凈化,進而將污水內部的污染物和雜質分離出來,并且去除污水內部的臭味,完成對污水的初步處理,然后凈化過后污水再最后落至儲液倉(13)的內部進行儲存;步驟二:在固體的垃圾被分離出來后第二驅動電機(78)帶動轉軸(74)和不完全齒輪(73)進行旋轉,然后不完全齒輪(73)在旋轉的過程中帶動齒環(72)進行往復上下運動,在往復上下運動的過程中再帶動移動桿(75)和鉸接板(76)進行移動,然后鉸接板(76)在移動的過程中拉動塞板(77)上下翻動,進而抖動塞板(77)頂部的垃圾,將塞板(77)內部垃圾內部剩余的污水抖落至分液倉(9)的內部,再流至凈化倉(1)的內部進行收集,然后被抖干的固體垃圾再進入至垃圾儲存倉(8)的內部進行收集;步驟三:在污水進行凈化的過程中第三驅動電機(121)帶動第二轉桿(123)和安裝管(124)進行旋轉,在安裝管(124)進行旋轉的過程中拉動鉸接桿(128)和活塞連接桿(126)進行往復移動,在移動的過程中活塞連接桿(126)在帶動活塞板(127),使得活塞板(127)抽取儲液倉(13)內部的空氣,使得儲液倉(13)內部產生一定的負壓,在負壓的作用下,使得這些進而抽取凈化倉(1)內部的空氣,使得這些污水能快速的經過活性炭過濾層(14)、泡沫濾珠層(15)、生物陶粒過濾層(16)和鵝卵石濾層(17),進而加快污水凈化的速度;步驟四:在活塞板(127)抽取空氣的過程中抽氣倉(19)的內部會產生負壓,在負壓的影響下,抽取安裝架(114)內部的空氣,然后負壓帶動堵氣塊(115)進行移動,使得堵氣塊(115)不再對擋環(116)進行封堵,保證能抽取儲液倉(13)內部的空氣,來加快凈化倉(1)內部污水的流動速度,同時在鵝卵石濾層(17)朝拉桿(112)的方向移動時,彈簧(111)進行復位帶動拉桿(112)進行移動,使得堵氣塊(115)重新對擋環(116)進行封堵,而被擠壓空氣則通過單向閥(22)流至外部,進而防止這些空氣推動凈化倉(1)內部的氣體,使得污水回流。
發明內容
本發明的目的在于提供一種基于多介質結合的復合式污水過濾裝置及過濾方法,以解決上述背景技術中提出的相關問題。
為實現上述目的,本發明提供如下技術方案:一種基于多介質結合的復合式污水過濾裝置及過濾方法,包括凈化倉,所述凈化倉內部的底部設有活性炭過濾層,所述活性炭過濾層的頂部設有泡沫濾珠層,所述泡沫濾珠層的頂部設有生物陶粒過濾層,所述生物陶粒過濾層的頂部設有鵝卵石濾層,所述凈化倉的頂部設有網倉,所述網倉的一側設有進液口,所述網倉另一側的中間設有第一驅動電機,所述第一驅動電機的輸出端設有第一轉桿,所述第一轉桿的外側設有傳送葉,所述凈化倉的一側設有分液倉,所述分液倉的一側設有垃圾儲存倉,所述分液倉的頂部設有抖液組件,所述凈化倉的底部設有儲液倉,所述儲液倉的一側設有抽氣倉,所述抽氣倉的內部設有抽氣組件,所述抽氣倉的一側設有連接倉,所述連接倉的內部設有封堵組件,所述抽氣倉的底部設有單向閥,所述凈化倉的頂部設有密封板,污水凈化的過程中第一驅動電機帶動第一轉桿和傳送葉旋轉將污水內部的較大的固定垃圾進行傳送,而剩余的污水則經過網倉落入到凈化倉的內部,而垃圾儲存倉能夠儲存被分離出來的固定垃圾,將這些垃圾進行集中,以便于后續進行集中處理,然后活性炭過濾層、泡沫濾珠層、生物陶粒過濾層和鵝卵石濾層能對污水進行分層凈化,進而將污水內部的污染物和雜質分離出來,并且去除污水內部的臭味,完成對污水的初步處理;
所述抖液組件包括固定倉、齒環、不完全齒輪、轉軸、移動桿、鉸接板、塞板和第二驅動電機,所述分液倉的頂部設有固定倉,所述固定倉的一端設有第二驅動電機,所述第二驅動電機的輸出端設有轉軸,所述轉軸的外側設有不完全齒輪,所述固定倉的內部滑動連接有齒環,所述齒環的底部設有移動桿,所述分液倉內部的一側鉸接有塞板,所述塞板的兩端分別設有鉸接板,所述鉸接板與移動桿相連,在固體的垃圾被分離出來后第二驅動電機帶動轉軸和不完全齒輪進行旋轉,然后不完全齒輪在旋轉的過程中帶動齒環進行往復上下運動,在往復上下運動的過程中再帶動移動桿和鉸接板進行移動,然后鉸接板在移動的過程中拉動塞板上下翻動,進而抖動塞板頂部的垃圾,將塞板內部垃圾內部剩余的污水抖落至分液倉的內部,再流至凈化倉的內部進行收集,然后被抖干的固體垃圾再進入至垃圾儲存倉的內部進行收集。
進一步的,所述網倉的一側設有密封倉,所述第一驅動電機與密封倉相互連接,所述凈化倉的頂部設有通槽,所述第一轉桿位于通槽的正上方,所述網倉的一側設有連接孔,所述第一轉桿通過連接孔延伸至網倉的內部,利用密封倉使得第一驅動電機與網倉進行連接,防止第一驅動電機出現自轉,同時將網倉通槽的上方,在污水從網倉的內部下落后,這些污水能直接進入至凈化倉的內部進行收集,并且第一轉桿通過連接孔與第一驅動電機輸出端相互連接,能方便后續對第一轉桿安裝,并且后續還能對第一轉桿進行拆卸以進行更換。
進一步,所述凈化倉的一端設有密封蓋板,且密封蓋板的四角處分別設有連接螺栓,所述凈化倉通過連接螺栓與密封蓋板相連,所述分液倉的底部設有加強板,且加強板與凈化倉相互連接,所述凈化倉一側的底部設有底部支撐板,所述底部支撐板與垃圾儲存倉相互連接,在凈化倉內部的活性炭過濾層、泡沫濾珠層、生物陶粒過濾層和鵝卵石濾層使用一段時間過后能方便將凈化倉的內部打開,對其進行更換,提高更換的便利性,設置加強板和底部支撐板能保證垃圾儲存倉和分液倉連接的穩定性,防止連接的位置斷裂,而出現漏液的情況發生。
進一步,所述儲液倉的內部設有網板,所述儲液倉內部的一側設有斜面板,儲液倉能對活性炭過濾層起到支撐的效果,防止活性炭過濾層漏出,同時在污水經過時,還方便污水進行流通。
進一步,凈化倉的底部設有底架,所述底架的頂部設有支撐桿,且支撐桿的頂部與抽氣倉相互連接,使得底架對凈化倉進行支撐,使得凈化倉能放于地面進行安裝,同時支撐桿對抽氣倉起到支撐的效果,放置抽氣倉出現偏移的情況發生,保證抽氣倉的穩定性。
進一步,所述抽氣組件包括第三驅動電機、第二轉桿、安裝管、穩定環、活塞連接桿、活塞板和鉸接桿組成,所述連接倉的頂部設有第三驅動電機,所述第三驅動電機的輸出端設有第二轉桿,所述第二轉桿的外側設有安裝管,所述安裝管的外側設有鉸接桿,所述鉸接桿的一側鉸接有活塞連接桿,所述活塞連接桿的一側設有活塞板,所述抽氣倉的內部設有穩定環,所述活塞連接桿位于穩定環的內部,在污水進行凈化的過程中第三驅動電機帶動第二轉桿和安裝管進行旋轉,在安裝管進行旋轉的過程中拉動鉸接桿和活塞連接桿進行往復移動,在移動的過程中活塞連接桿在帶動活塞板,使得活塞板抽取儲液倉內部的空氣,使得儲液倉內部產生一定的負壓,在負壓的作用下,使得這些進而抽取凈化倉內部的空氣,使得這些污水能快速的經過活性炭過濾層、泡沫濾珠層、生物陶粒過濾層和鵝卵石濾層,進而加快污水凈化的速度。
進一步,所述安裝管由U型結構制成,所述鉸接桿的一側設有套管,所述套管位于安裝管的外側,所述活塞連接桿的一側設有鉸接槽,所述鉸接桿位于鉸接槽的內部,所述穩定環的一側設有導向孔,所述活塞連接桿位于導向孔的內部,在安裝管旋轉的過程中鉸接桿通過安裝管能夠進行移動,而不是跟隨安裝管進行旋轉,同時將鉸接桿安裝于鉸接槽的內部,能提高鉸接桿翻轉的范圍,防止鉸接桿的翻轉受到限制,然后通過導線孔,能保證活塞連接桿一直進行直線運動,防止活塞連接桿出現偏移的情況發生。
進一步的,所述封堵組件包括彈簧、拉桿、通氣孔、安裝架、堵氣塊和擋環組成,所述抽氣倉內部的一側設有擋環,所述擋環的一側設有安裝架,所述安裝架一側的頂部和底部對稱設有通氣孔,所述安裝架一側的中間設有拉桿,所述拉桿的外側套設有彈簧,所述拉桿的一側設有堵氣塊,在活塞板抽取空氣的過程中抽氣倉的內部會產生負壓,在負壓的影響下,抽取安裝架內部的空氣,然后負壓帶動堵氣塊進行移動,使得堵氣塊不再對擋環進行封堵,保證能抽取儲液倉內部的空氣,來加快凈化倉內部污水的流動速度,同時在鵝卵石濾層朝拉桿的方向移動時,彈簧進行復位帶動拉桿進行移動,使得堵氣塊重新對擋環進行封堵,而被擠壓空氣則通過單向閥流至外部,進而防止這些空氣推動凈化倉內部的氣體,使得污水回流。
進一步的,所述拉桿的一側設有限位板,所述彈簧分別與限位板和安裝架相互連接,所述堵氣塊由錐形結構制成,所述堵氣塊與擋環相互適配,所述堵氣塊的外側設有橡膠套環,使得彈簧能與拉桿和安裝架進行連接,以便于后續拉動拉桿和堵氣塊進行復位,對擋環重新進行封堵,同時堵氣塊在錐形結構和橡膠套環的配合下,能有效的對擋環進行封堵,保證封堵的效果,防止漏氣的情況發生。
一種基于多介質結合的復合式污水過濾裝置的過濾方法,包括:
步驟一:首先將污水通過進液口投入,然后第一驅動電機帶動第一轉桿和傳送葉旋轉將污水內部的較大的固定垃圾進行傳送,而剩余的污水則經過網倉落入到凈化倉的內部,而垃圾儲存倉能夠儲存被分離出來的固定垃圾,將這些垃圾進行集中,以便于后續進行集中處理,然后活性炭過濾層、泡沫濾珠層、生物陶粒過濾層和鵝卵石濾層能對污水進行分層凈化,進而將污水內部的污染物和雜質分離出來,并且去除污水內部的臭味,完成對污水的初步處理,然后凈化過后污水再最后落至儲液倉的內部進行儲存;
步驟二:在固體的垃圾被分離出來后第二驅動電機帶動轉軸和不完全齒輪進行旋轉,然后不完全齒輪在旋轉的過程中帶動齒環進行往復上下運動,在往復上下運動的過程中再帶動移動桿和鉸接板進行移動,然后鉸接板在移動的過程中拉動塞板上下翻動,進而抖動塞板頂部的垃圾,將塞板內部垃圾內部剩余的污水抖落至分液倉的內部,再流至凈化倉的內部進行收集,然后被抖干的固體垃圾再進入至垃圾儲存倉的內部進行收集;
步驟三:在污水進行凈化的過程中第三驅動電機帶動第二轉桿和安裝管進行旋轉,在安裝管進行旋轉的過程中拉動鉸接桿和活塞連接桿進行往復移動,在移動的過程中活塞連接桿在帶動活塞板,使得活塞板抽取儲液倉內部的空氣,使得儲液倉內部產生一定的負壓,在負壓的作用下,使得這些進而抽取凈化倉內部的空氣,使得這些污水能快速的經過活性炭過濾層、泡沫濾珠層、生物陶粒過濾層和鵝卵石濾層,進而加快污水凈化的速度;
步驟四:在活塞板抽取空氣的過程中抽氣倉的內部會產生負壓,在負壓的影響下,抽取安裝架內部的空氣,然后負壓帶動堵氣塊進行移動,使得堵氣塊不再對擋環進行封堵,保證能抽取儲液倉內部的空氣,來加快凈化倉內部污水的流動速度,同時在鵝卵石濾層朝拉桿的方向移動時,彈簧進行復位帶動拉桿進行移動,使得堵氣塊重新對擋環進行封堵,而被擠壓空氣則通過單向閥流至外部,進而防止這些空氣推動凈化倉內部的氣體,使得污水回流。
與現有技術相比,本發明提供了一種基于多介質結合的復合式污水過濾裝置,具備以下有益效果:
本發明通過固定倉、齒環、不完全齒輪、轉軸、移動桿和鉸接板的配合下,在固體垃圾進入到分液倉的內部后,利用第二驅動電機、轉軸、不完全齒輪、齒環、移動桿和鉸接板的配合下,能都帶的塞板的一端進行往復上下運動,在往復上下的過程中,塞板帶的被篩選出來的固定垃圾進行抖動,使得這些固體垃圾內部的污水被抖出,防止這些固體垃圾摻雜污水進入到垃圾儲存倉的內部,并且這些污水被抖出后,還會自動流入至凈化倉的內部進而凈化,進而有效的提高污水凈化的效率,并且還便于后續對這些固體垃圾進行處理。
本發明通過第三驅動電機、套管、第二轉桿、安裝管、穩定環、活塞連接桿、活塞板和鉸接桿的配合下,在污水凈化的過程中第三驅動電機能夠帶動套管、第二轉桿、安裝管進行然后利用這些旋轉的力,帶動鉸接桿、活塞連接桿和活塞板進行往復運動,然后通過活塞板的往復運動,抽取凈化倉內部的空氣,在負壓的作用下,使得這些污水快速的進行流通,從而保證凈化的速度,使得污水能快速的凈化完成,同時通過彈簧、拉桿、通氣孔、安裝架、堵氣塊和擋環能夠根據抽吸的動作,來控制堵氣塊是否對活塞連接桿進行封堵,在活塞板推動的過程中,使得擋環進行封堵工作,防止抽氣倉內部的空氣被推入至儲液倉和凈化倉的內部,進而避免污水回流的情況發生。
(發明人:吳顯明;付清敏;余小朋;林進海;劉萬兵)






