公布日:2023.04.21
申請日:2023.03.23
分類號:C02F3/28(2023.01)I;C02F1/00(2023.01)I;C02F101/10(2006.01)N;C02F101/16(2006.01)N
摘要
本發明公開了一種自養反硝化脫氮污水處理設備,包括能夠對污水處理的池體,池體整體呈圓柱體狀,池體內開設第一圓形槽,第一圓形槽內從下到上依次設置有可轉動的濾板、脫氧填料層以及反硝化填料層,在第一圓形槽內還豎直設置有分隔部件。本發明通過確保在分隔部件的作用下,使得污水池內的污水流向進水區域,經過濾板、脫氧填料層以及反硝化填料層,達到污水脫氮的目的,并最終通過第一凈水管排入凈水池內,與此同時,將凈水池內的凈水通過第二凈水管將部分凈水沖入第一圓形槽內,對濾板、脫氧填料層以及反硝化填料層進行沖洗,且沖洗后的污水通過第二污水管進入污水池,能夠同時采取對污水脫氮處理和沖洗的操作,提高處理污水的效率。

權利要求書
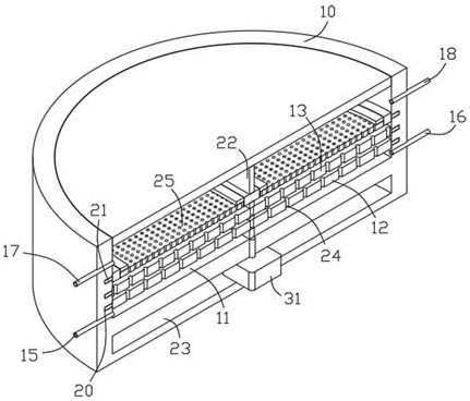
1.一種自養反硝化脫氮污水處理設備,其特征在于,包括能夠對污水處理的池體(10),所述池體(10)整體呈圓柱體狀,所述池體(10)內開設有第一圓形槽(11),所述第一圓形槽(11)內從下到上依次設置有可轉動的濾板(12)、脫氧填料層(13)以及反硝化填料層(14),在所述第一圓形槽(11)內還豎直設置有分隔部件,所述分隔部件等分所述濾板(12)、脫氧填料層(13)以及反硝化填料層(14),所述分隔部件能夠將所述第一圓形槽(11)分隔為至少兩個獨立空間,通過驅動部件控制所述濾板(12)、脫氧填料層(13)以及反硝化填料層(14)的轉動,使得獨立空間相應的旋轉,所述污水處理設備還包括污水池以及凈水池,所述污水池通過第一污水管(15)和第二污水管(16)與所述第一圓形槽(11)連通,所述凈水池通過第一凈水管(17)和第二凈水管(18)與所述第一圓形槽(11)連通,各個管道上均設置有具有打開和關閉功能的閥門;所述濾板(12)整體呈圓形,與所述第一圓形槽(11)相適配,其上開設有多個濾孔(24),所述濾板(12)與所述第一圓形槽(11)的底部相距一段距離,形成進水區域,該進水區域與所述第一污水管(15)以及所述第二污水管(16)相連通;所述脫氧填料層(13)整體呈圓形,與所述第一圓形槽(11)相適配,所述脫氧填料層(13)采用材質為海綿鐵,并與所述濾板(12)相距一段距離;所述反硝化填料層(14)包括固定部位,所述固定部位具有至少兩個固定容室,所述固定容室內安裝有自活性脫氮除磷載體(25),所述自活性脫氮除磷載體(25)包括含硫載體、弱堿性礦物材料、鐵基材料及微生物生長促進劑,所述反硝化填料層(14)與所述第一圓形槽(11)的頂部相距一段距離,形成出水區域,該出水區域與所述第一凈水管(17)以及所述第二凈水管(18)相連通;在分隔部件的作用下,第一污水管(15)和第二污水管(16)在第一圓形槽(11)內互不連通,第一凈水管(17)和第二凈水管(18)在第一圓形槽(11)內互不連通,使得污水池內的污水流向進水區域,經過濾板、脫氧填料層(13)以及反硝化填料層(14),達到污水脫氮的目的,并最終通過第一凈水管(17)排入凈水池內,與此同時,將凈水池內的凈水通過第二凈水管(18)將部分凈水沖入第一圓形槽(11)內,對濾板、脫氧填料層(13)以及反硝化填料層(14)進行沖洗,且沖洗后的污水通過第二污水管(16)進入污水池,能夠同時采取對污水脫氮處理和沖洗的操作,提高處理污水的效率。
2.根據權利要求1所述的一種自養反硝化脫氮污水處理設備,其特征在于,所述池體(10)開設有三個環槽(20),所述環槽(20)與所述第一圓形槽(11)連通設置,所述濾板(12)、脫氧填料層(13)以及反硝化填料層(14)均通過限位環(21)分別與三個所述環槽(20)滑動連接。
3.根據權利要求1所述的一種自養反硝化脫氮污水處理設備,其特征在于,所述分隔部件包括多個分隔板(22),多個分隔板(22)分別固定連接在所述濾板(12)、所述脫氧填料層(13)以及所述反硝化填料層(14)上。
4.根據權利要求3所述的一種自養反硝化脫氮污水處理設備,其特征在于,所述驅動部件包括開設在所述池體(10)的第二圓形槽(23),所述第二圓形槽(23)位于所述第一圓形槽(11)下方,所述第二圓形槽(23)內固定安裝有轉動電機(31),所述轉動電機(31)的輸出軸向上延伸并傳入所述第一圓形槽(11),并與所述分隔板(22)固定連接。
5.根據權利要求1所述的一種自養反硝化脫氮污水處理設備,其特征在于,所述固定部位為一圓盤(26),所述圓盤(26)上的所述固定容室為半圓形,兩個所述固定容室對稱設置在所述圓盤(26)上,通過限位部件對安裝在固定容室內的自活性脫氮除磷載體(25)進行限位。
6.根據權利要求5所述的一種自養反硝化脫氮污水處理設備,其特征在于,所述限位部件包括在所述圓盤(26)開設的四個矩形槽(27)以及四個槽孔(28),相應的所述矩形槽(27)與相應的所述槽孔(28)相互連通設置,所述矩形槽(27)設置有適配的矩形板(29),所述矩形板(29)開設有通孔(210),兩個相應的所述矩形板(29)共同固定連接有擋板(211),通過插銷(212)插入所述通孔(210)以及所述槽孔(28),使得所述擋板(211)壓住所述自活性脫氮除磷載體(25)。
7.根據權利要求6所述的一種自養反硝化脫氮污水處理設備,其特征在于,所述池體(10)頂部為可打開的,在所述池體(10)外壁固定安裝有液壓缸(30),所述液壓缸(30)的輸出軸與所述池體(10)頂部固定連接。
發明內容
本發明的目的是提出一種自養反硝化脫氮污水處理設備,能夠同時采取對污水脫氮處理和沖洗的操作,提高處理污水的效率。
為了實現上述目的,本發明采用了如下技術方案:
一種自養反硝化脫氮污水處理設備,包括能夠對污水處理的池體,所述池體整體呈圓柱體狀,所述池體內開設有第一圓形槽,所述第一圓形槽內從下到上依次設置有可轉動的濾板、脫氧填料層以及反硝化填料層,在所述第一圓形槽內還豎直設置有分隔部件,所述分隔部件等分所述濾板、脫氧填料層以及反硝化填料層,所述分隔部件能夠將所述第一圓形槽分隔為至少兩個獨立空間,通過驅動部件控制所述濾板、脫氧填料層以及反硝化填料層的轉動,使得獨立空間相應的旋轉,所述污水處理設備還包括污水池以及凈水池,所述污水池通過第一污水管和第二污水管與所述第一圓形槽連通,所述凈水池通過第一凈水管和第二凈水管與所述第一圓形槽連通,各個管道上均設置有具有打開和關閉功能的閥門。
優選地,所述池體開設有三個環槽,所述環槽與所述第一圓形槽連通設置,所述濾板、脫氧填料層以及反硝化填料層均通過限位環分別與三個所述環槽滑動連接。
優選地,所述分隔部件包括多個分隔板,多個分隔板分別固定連接在所述濾板、所述脫氧填料層以及所述反硝化填料層上。
優選地,所述驅動部件包括開設在所述池體的第二圓形槽,所述第二圓形槽位于所述第一圓形槽下方,所述第二圓形槽內固定安裝有轉動電機,所述轉動電機的輸出軸向上延伸并傳入所述第一圓形槽,并與所述分隔板固定連接。
優選地,所述濾板整體呈圓形,與所述第一圓形槽相適配,其上開設有多個濾孔,所述濾板與所述第一圓形槽的底部相距一段距離,形成進水區域,該進水區域與所述第一污水管以及所述第二污水管相連通。
優選地,所述脫氧填料層整體呈圓形,與所述第一圓形槽相適配,所述脫氧填料層采用材質為海綿鐵,并與所述濾板相距一段距離。
優選地,所述反硝化填料層包括固定部位,所述固定部位具有至少兩個固定容室,所述固定容室內安裝有自活性脫氮除磷載體,所述自活性脫氮除磷載體包括含硫載體、弱堿性礦物材料、鐵基材料及微生物生長促進劑,所述反硝化填料層與所述第一圓形槽的頂部相距一段距離,形成出水區域,該出水區域與所述第一凈水管以及所述第二凈水管相連通。
優選地,所述固定部位為一圓盤,所述圓盤上的所述固定容室為半圓形,兩個所述固定容室對稱設置在所述圓盤上,通過限位部件對安裝在固定容室內的自活性脫氮除磷載體進行限位。
優選地,所述限位部件包括在所述圓盤開設的四個矩形槽以及四個槽孔,相應的所述矩形槽與相應的所述槽孔相互連通設置,所述矩形槽設置有適配的矩形板,所述矩形板開設有通孔,兩個相應的所述矩形板共同固定連接有擋板,通過插銷插入所述通孔以及所述槽孔,使得所述擋板壓住所述自活性脫氮除磷載體。
優選地,所述池體頂部為可打開的,在所述池體外壁固定安裝有液壓缸,所述液壓缸的輸出軸與所述池體頂部固定連接。
相比現有技術,本發明的有益效果為:
本發明通過確保在分隔部件的作用下,第一污水管和第二污水管在第一圓形槽內互不連通,第一凈水管和第二凈水管在第一圓形槽內互不連通,使得污水池內的污水流向進水區域,經過濾板、脫氧填料層以及反硝化填料層,達到污水脫氮的目的,并最終通過第一凈水管排入凈水池內,與此同時,將凈水池內的凈水通過第二凈水管將部分凈水沖入第一圓形槽內,對濾板、脫氧填料層以及反硝化填料層進行沖洗,且沖洗后的污水通過第二污水管進入污水池,能夠同時采取對污水脫氮處理和沖洗的操作,提高處理污水的效率。
(發明人:卜紅偉;梁傳寅;林金榮;劉元偉;魏先梅)






