公布日:2023.04.04
申請日:2022.12.27
分類號:C02F9/00(2023.01)I;C01D3/06(2006.01)I;C01D5/18(2006.01)I
摘要
本發明公開了一種高鹽廢水零排放和資源化處理系統及方法,高鹽廢水零排放和資源化處理系統包括按高鹽廢水的處理工序依次連接的高效沉淀池裝置、高效過濾裝置、超濾裝置、離子交換裝置、吹脫裝置、高級催化氧化裝置;納濾裝置產水側依次連接提濃電滲析裝置、雙極膜電滲析裝置;納濾裝置濃水側連接蒸發結晶裝置。本發明采用高效沉淀池除硬除硅、納濾分鹽、電滲析裝置提濃、雙極膜電滲析制得較高附加值的酸堿回用、蒸發結晶對高鹽廢水進行處理,最終產生可回用的蒸發冷凝水、鹽酸、液堿和可外售的工業級無水硫酸鈉產品,實現高鹽廢水零排放和資源化,進而實現經濟效益最大化。

權利要求書
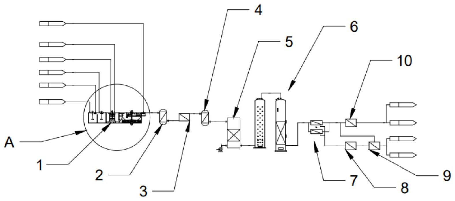
1.一種高鹽廢水零排放和資源化處理系統,其特征在于,包括:高效沉淀池裝置,用于接入高鹽廢水進行軟化預處理,對高鹽廢水中的鈣、鎂、硅、重金屬離子、較大懸浮物等雜質進行沉淀,得到一次處理水;高效過濾裝置和超濾裝置,所述一次處理水依次經過所述高效過濾裝置和所述超濾裝置,除去所述一次處理水中的較小的懸浮物和膠體得到二次處理水;離子交換裝置,用于去除所述二次處理水中的鈣、鎂、重金屬獲得樹脂產水;吹脫裝置,用于對所述樹脂產水進行去除堿度處理,通過添加鹽酸調節所述樹脂產水的pH值,并去除其中的碳酸根反應,進而得到脫碳產水;高級催化氧化裝置,用于對所述脫碳產水進行除COD處理和活性炭吸附處理,去除所述脫碳產水中的有機雜質和色度脫除處理,得到三次處理水;納濾裝置,用于對所述三次處理水進行分離提純,進而生成一價離子氯化鈉的納濾產水和二價離子硫酸鈉為主的納濾濃水;提濃電滲析裝置,用于接收所述納濾產水,并將所述納濾產水高倍濃縮得到高濃度的氯化鈉鹽水;雙極膜電滲析裝置,用于對所述氯化鈉鹽水進行電解制得鹽酸、液堿;其中,所述雙極膜電滲析裝置制得的鹽酸、液堿通過管道回流至所述高效沉淀池裝置、所述吹脫裝置中循環利用。
2.根據權利要求1所述一種高鹽廢水零排放和資源化處理系統,其特征在于,所述高效沉淀池裝置包括一級混凝池、二級混凝池、絮凝池、沉淀池、pH調節池、污泥回流泵,所述高鹽廢水依次經過一級混凝池、二級混凝池、絮凝池、沉淀池,在所述沉淀池內所述高鹽廢水分層形成水相和活性污泥,所述水相進入所述pH調節池后形成所述一次處理水,所述活性污泥通過污泥回流泵回流至一級混凝池。
3.根據權利要求2所述一種高鹽廢水零排放和資源化處理系統,其特征在于,所述一級混凝池中投加所述雙極膜電滲析裝置產出的液堿,所述二級混凝池中投加碳酸鈉、所述絮凝池中投加絮凝劑、助凝劑,所述pH調節池中投加所述雙極膜電滲析裝置產出的鹽酸。
4.根據權利要求1所述一種高鹽廢水零排放和資源化處理系統,其特征在于,所述高級催化氧化裝置包括高級催化氧化塔、活性炭吸附塔,所述脫碳產水依次經過高級催化氧化塔、活性炭吸附塔,通過所述高級催化氧化塔和所述活性炭吸附塔使得所述脫碳產水的COD去除率為35%~45%。
5.根據權利要求1所述一種高鹽廢水零排放和資源化處理系統,其特征在于,還包括蒸發結晶裝置,所述蒸發結晶裝置用于將所述納濾濃水蒸發結晶產出無水硫酸鈉。
6.一種高鹽廢水零排放和資源化處理方法,其特征在于,包括:S1、高效沉淀池接入高鹽廢水進行軟化預處理,對高鹽廢水中的鈣、鎂、硅、重金屬離子、較大懸浮物等雜質進行沉淀,得到一次處理水;S2、所述一次處理水依次經過高效過濾裝置和超濾裝置,除去所述一次處理水中的較小的懸浮物和膠體得到二次處理水;S3、通過離子交換裝置去除所述二次處理水中殘留的鈣、鎂、重金屬獲得樹脂產水;S4、吹脫裝置對所述樹脂產水進行去除堿度處理,通過添加所述雙極膜電滲析裝置產出的鹽酸調節所述樹脂產水的pH值,并去除其中的碳酸根反應,進而得到脫碳產水;S5、通過高級催化氧化裝置對所述脫碳產水進行除COD處理和活性炭吸附處理,去除所述脫碳產水中的有機雜質和色度脫除處理,得到三次處理水;S6、對所述三次處理水進行分離提純,進而生成一價離子氯化鈉的納濾產水和二價離子硫酸鈉為主的納濾濃水;S7、將所述納濾產水高倍濃縮得到高濃度的氯化鈉鹽水;S8、對所述氯化鈉鹽水進行電解制得鹽酸、液堿;在S8中制得的鹽酸、液堿通過管道回流至所述高效沉淀池裝置、所述吹脫裝置中循環利用。
7.根據權利要求6所述的一種高鹽廢水零排放和資源化處理方法,其特征在于,在S1中高效廢水依次通過一級混凝池、二級混凝池、絮凝池、沉淀池、pH調節池,并在所述沉淀池內所述高鹽廢水分層形成水相和活性污泥,所述水相進入所述pH調節池后形成所述一次處理水,所述活性污泥通過污泥回流泵回流至一級混凝池。
8.根據權利要求7所述的一種高鹽廢水零排放和資源化處理方法,其特征在于,在S1中所述一級混凝池中投加步驟S8中產出的液堿,所述二級混凝池中投加碳酸鈉、所述絮凝池中投加絮凝劑、助凝劑,所述pH調節池中投加步驟S8中產出的鹽酸。
9.根據權利要求6所述的一種高鹽廢水零排放和資源化處理方法,其特征在于,在S5中,所述脫碳產水依次經過高級催化氧化塔、活性炭吸附塔,通過所述高級催化氧化塔和所述活性炭吸附塔去除所述脫碳產水中的有機質和色度。
10.根據權利要求6所述的一種高鹽廢水零排放和資源化處理方法,其特征在于,還包括S9、通過發結晶裝置用于將所述納濾濃水蒸發結晶產出無水硫酸鈉。
發明內容
本發明解決其技術問題所采用的技術方案是:一種高鹽廢水零排放和資源化處理系統,包括:
高效沉淀池裝置,用于接入高鹽廢水進行軟化預處理,對高鹽廢水中的鈣、鎂、硅、重金屬離子、較大懸浮物等雜質進行沉淀,得到一次處理水;
高效過濾裝置和超濾裝置,所述一次處理水依次經過所述高效過濾裝置和所述超濾裝置,除去所述一次處理水中的較小的懸浮物和膠體得到二次處理水;
離子交換裝置,用于進一步去除所述二次處理水中殘留的鈣、鎂、重金屬獲得樹脂產水;
吹脫裝置,用于對所述樹脂產水進行去除堿度處理,通過添加鹽酸調節所述樹脂產水的pH值,并去除其中的碳酸根反應,進而得到脫碳產水;
高級催化氧化裝置,用于對所述脫碳產水進行除COD處理和活性炭吸附處理,去除所述脫碳產水中的有機雜質和色度脫除處理,得到三次處理水;
納濾裝置,用于對所述三次處理水進行分離提純,進而生成一價離子氯化鈉的納濾產水和二價離子硫酸鈉為主的納濾濃水;
提濃電滲析裝置,用于接收所述納濾產水,并將所述納濾產水高倍濃縮得到高濃度的氯化鈉鹽水;
雙極膜電滲析裝置,用于對所述氯化鈉鹽水進行電解制得鹽酸、液堿;
其中,所述雙極膜電滲析裝置制得的鹽酸、液堿通過管道回流至所述高效沉淀池裝置、所述吹脫裝置中循環利用。
作為優選,所述高效沉淀池裝置包括一級混凝池、二級混凝池、絮凝池、沉淀池、pH調節池、污泥回流泵,所述高鹽廢水依次經過一級混凝池、二級混凝池、絮凝池、沉淀池,在所述沉淀池內所述高鹽廢水分層形成水相和活性污泥,所述水相進入所述pH調節池后形成所述一次處理水,所述活性污泥通過污泥回流泵回流至一級混凝池。
作為優選,所述一級混凝池中投加所述雙極膜電滲析裝置產出的液堿,所述二級混凝池中投加碳酸鈉、所述絮凝池中投加絮凝劑、助凝劑,所述pH調節池中投加所述雙極膜電滲析裝置產出的鹽酸。
作為優選,所述高級催化氧化裝置包括高級催化氧化塔、活性炭吸附塔,所述脫碳產水依次經過高級催化氧化塔、活性炭吸附塔,通過所述高級催化氧化塔和所述活性炭吸附塔使得所述脫碳產水的COD去除率為35%~45%。
作為優選,還包括蒸發結晶裝置,所述蒸發結晶裝置用于將所述納濾濃水蒸發結晶產出無水硫酸鈉。
還公開了一種高鹽廢水零排放和資源化處理方法,包括:
S1、高效沉淀池接入高鹽廢水進行軟化預處理,對高鹽廢水中的鈣、鎂、硅、重金屬離子、較大懸浮物等雜質進行沉淀,得到一次處理水;
S2、所述一次處理水依次經過高效過濾裝置和超濾裝置,除去所述一次處理水中的較小的懸浮物和膠體得到二次處理水;
S3、通過離子交換裝置去除所述二次處理水中殘留的鈣、鎂、重金屬獲得樹脂產水;
S4、吹脫裝置對所述樹脂產水進行去除堿度處理,通過添加鹽酸調節所述樹脂產水的pH值,并去除其中的碳酸根反應,進而得到脫碳產水;
S5、通過高級催化氧化裝置對所述脫碳產水進行除COD處理和活性炭吸附處理,去除所述脫碳產水中的有機雜質和色度脫除處理,得到三次處理水;
S6、對所述三次處理水進行分離提純,進而生成一價離子氯化鈉的納濾產水和二價離子硫酸鈉為主的納濾濃水;
S7、將所述納濾產水高倍濃縮得到高濃度的氯化鈉鹽水;
S8、對所述氯化鈉鹽水進行電解制得鹽酸、液堿;
在S8中制得的鹽酸、液堿通過管道回流至所述高效沉淀池裝置、所述吹脫裝置中循環利用。
作為優選,在S1中高效廢水依次通過一級混凝池、二級混凝池、絮凝池、沉淀池、pH調節池,并在所述沉淀池內所述高鹽廢水分層形成水相和活性污泥,所述水相進入所述pH調節池后形成所述一次處理水,所述活性污泥通過污泥回流泵回流至一級混凝池。
作為優選,在S1中所述一級混凝池中投加步驟S8中產出的液堿,所述二級混凝池中投加碳酸鈉、所述絮凝池中投加絮凝劑、助凝劑,所述pH調節池中投加步驟S8中產出的鹽酸。
作為優選,在S5中,所述脫碳產水依次經過高級催化氧化塔、活性炭吸附塔,通過所述高級催化氧化塔和所述活性炭吸附塔去除所述脫碳產水中的有機質和色度。
作為優選,還包括S9、通過發結晶裝置用于將所述納濾濃水蒸發結晶產出無水硫酸鈉。
本發明的有益效果:
實現了高鹽廢水的氯化鈉和硫酸鈉的有效分離、高倍濃縮,并將高濃度氯化鈉高鹽廢水制得較高附加值的酸堿作為系統自用藥劑回用于前端系統,獲得高市場價值的無水硫酸鈉產品和滿足回用要求的蒸發冷凝水,節省了高濃度氯化鈉鹽水通過蒸發結晶得到氯化鈉產品的裝置投資和運行費用;最大程度實現高鹽廢水。
(發明人:蘇志峰;高然;林金平;周揚)






