公布日:2023.11.10
申請日:2023.08.21
分類號:G01N1/14(2006.01)I
摘要
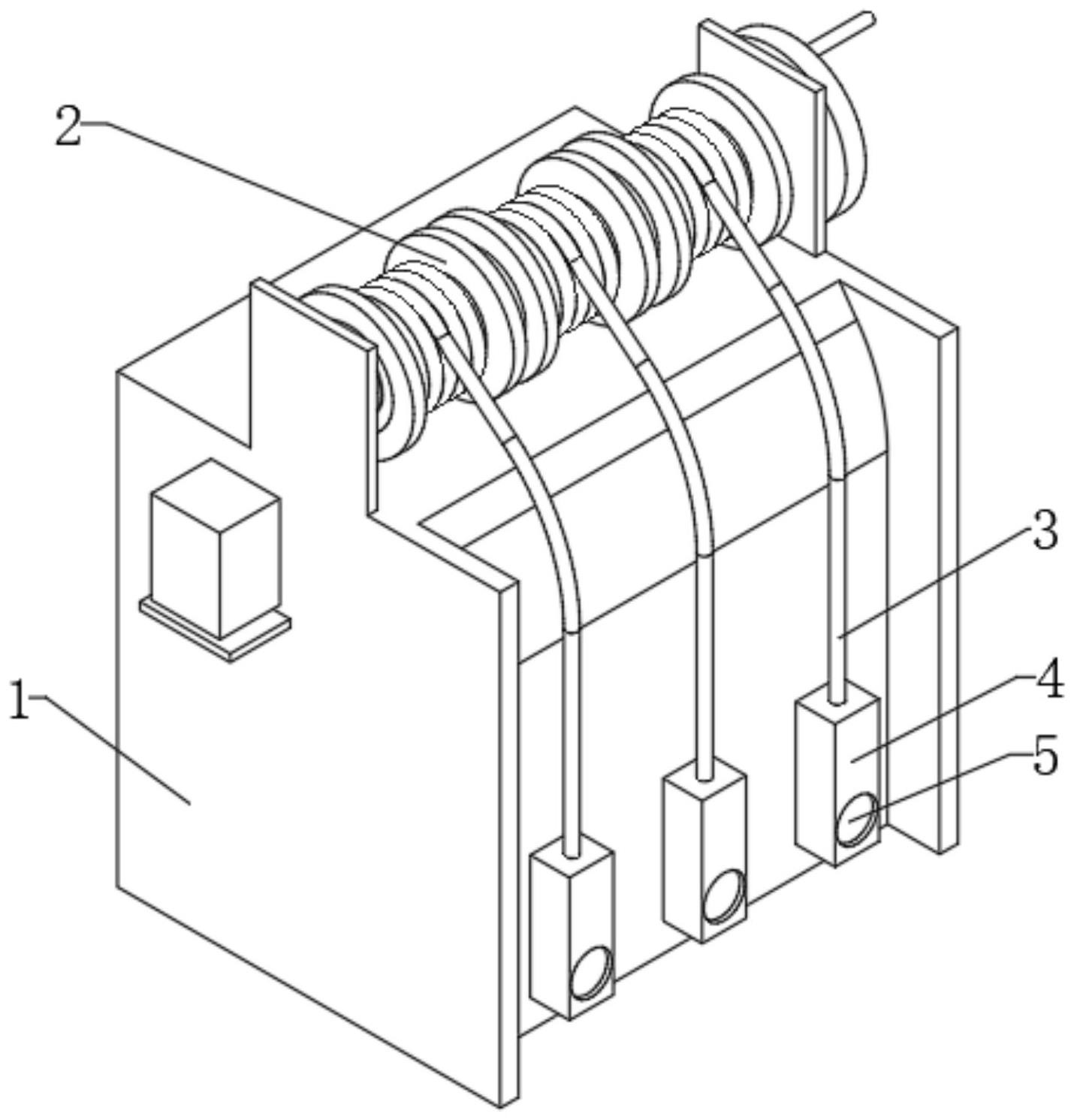
本發明提供一種多方位采集的高效污水檢測設備,涉及污水檢測技術領域,包括放置箱,所述放置箱的上端安裝有延伸機構,所述延伸機構的上端安裝有若干拉繩,所述拉繩與采集機構和承重塊之間互相連接。本發明中使用者通過把手與轉軸的配合,帶動放置架進行旋轉,來讓拉繩脫離放置架的內部,并跟隨承重塊進入水中,讓稱重塊帶動軟管浸入水內,然后在當其中一個稱重塊到達采集方位時,使用者可以將其中一個放置架進行推動,讓限位塊與限位槽之間進行分離,讓其進行位置固定,讓承重塊保持不動,然后剩下的稱重塊則繼續進行下移,然后在每個承重塊分別到達不同的深度方位后,負壓泵即可通過負壓將水樣引導至暫存箱的內部進行采樣工作。

權利要求書
1.一種多方位采集的高效污水檢測設備,包括放置箱(1),其特征在于:所述放置箱(1)的上端安裝有延伸機構(2),所述延伸機構(2)的上端安裝有若干拉繩(3),所述放置箱(1)的內部上下兩端分別設有放置槽(101)與凹槽(102),所述放置槽(101)與凹槽(102)之間設有采集機構(5),所述放置箱(1)的前端活動安裝有若干承重塊(4),所述拉繩(3)與采集機構(5)和承重塊(4)之間互相連接;所述延伸機構(2)包括有轉軸(204),所述轉軸(204)活動貫穿安裝在放置箱(1)的上端,所述轉軸(204)的外側活動安裝有若干放置架(202),所述拉繩(3)纏繞安裝在放置架(202)的外側,所述轉軸(204)的上下兩端分別設有限位槽(205),所述放置架(202)的內部上下兩端分別活動安裝有限位塊(206),所述限位塊(206)與限位槽(205)之間卡合連接;所述放置架(202)的內部上下兩端分別活動安裝有活動架(210),所述活動架(210)與限位塊(206)之間互相連接;所述采集機構(5)包括有軟管(502),所述軟管(502)活動安裝在凹槽(102)的內部,所述軟管(502)的下端與承重塊(4)之間互相連接,所述軟管(502)的上端與暫存箱(505)之間互相連接,所述暫存箱(505)的內部下端安裝有水龍頭(507),所述放置箱(1)的一側安裝有負壓泵(510),所述負壓泵(510)與暫存箱(505)之間互相連接。
2.根據權利要求1所述的一種多方位采集的高效污水檢測設備,其特征在于:所述放置箱(1)的上表面兩端分別固定安裝有固定板(201),所述轉軸(204)活動貫穿安裝在固定板(201)之間,所述轉軸(204)的一端安裝有把手(214),所述轉軸(204)的外側活動安裝有若干放置架(202),每個所述放置架(202)的外側分別安裝有拉繩(3)。
3.根據權利要求2所述的一種多方位采集的高效污水檢測設備,其特征在于:所述放置架(202)的內部上下兩端分別設有第一活動槽(203),所述第一活動槽(203)的內部分別卡合安裝有限位塊(206),所述限位塊(206)互相遠離的一側與第一活動槽(203)之間安裝有彈簧(208)。
4.根據權利要求3所述的一種多方位采集的高效污水檢測設備,其特征在于:所述放置架(202)遠離把手(214)的一側分別設有卡合槽(211),所述卡合槽(211)的內部上下兩端分別設有第二活動槽(209),所述第二活動槽(209)的內部分別活動安裝有活動架(210),所述活動架(210)與限位塊(206)之間互相連接。
5.根據權利要求4所述的一種多方位采集的高效污水檢測設備,其特征在于:所述限位塊(206)互相遠離的一側分別安裝有傳動繩(207),所述傳動繩(207)遠離限位塊(206)的一端分別安裝在第二活動槽(209)的內部,并與活動架(210)之間固定連接,所述傳動繩(207)活動安裝在放置架(202)的內部。
6.根據權利要求4所述的一種多方位采集的高效污水檢測設備,其特征在于:遠離把手(214)一側的所述固定板(201)內部與放置架(202)遠離卡合槽(211)的一側分別固定安裝有推塊(212),所述推塊(212)分別與卡合槽(211)之間卡合連接,所述推塊(212)與活動架(210)之間互相貼合,所述推塊(212)與卡合槽(211)的內部分別安裝有磁鐵(213),互相靠近的磁鐵(213)之間磁性相吸。
7.根據權利要求1所述的一種多方位采集的高效污水檢測設備,其特征在于:所述凹槽(102)的內部分別活動安裝有收卷架(501),所述軟管(502)分別纏繞安裝在收卷架(501)的外側,所述軟管(502)的下端活動貫穿凹槽(102)的內部一側并與承重塊(4)之間互相連接,所述軟管(502)的上端貫穿凹槽(102)的內部,并與暫存箱(505)之間互相連接。
8.根據權利要求7所述的一種多方位采集的高效污水檢測設備,其特征在于:所述承重塊(4)的內部下端貫穿設有采集槽(503),所述軟管(502)的下端固定貫穿安裝在采集槽(503)的內部,所述采集槽(503)的內部安裝有濾網(504)。
9.根據權利要求7所述的一種多方位采集的高效污水檢測設備,其特征在于:所述暫存箱(505)安裝在放置槽(101)的內部,所述暫存箱(505)的內部安裝有若干分隔板(511),所述暫存箱(505)的內部上端固定安裝有分離板(506),所述暫存箱(505)的內部下端分別安裝有水龍頭(507),所述水龍頭(507)分別與軟管(502)之間一一對應。
10.根據權利要求9所述的一種多方位采集的高效污水檢測設備,其特征在于:所述暫存箱(505)的上端固定安裝有總管(508),所述總管(508)的下端分別貫穿安裝有若干通孔(509),所述通孔(509)與暫存箱(505)之間貫穿連接,所述通孔(509)與軟管(502)之間一一對應,所述放置箱(1)的一側安裝有負壓泵(510),所述負壓泵(510)與總管(508)之間互相連接。
發明內容
針對現有技術的不足,本發明提供了一種多方位采集的高效污水檢測設備,解決了使用者為了獲取不同深度分布的水樣,需要進行多次的取樣操作,從而使得水樣采集效率低下,同時也增加了使用者的工作難度的問題。
為實現上述目的,本發明采取的技術方案為:
一種多方位采集的高效污水檢測設備,包括放置箱,所述放置箱的上端安裝有延伸機構,所述延伸機構的上端安裝有若干拉繩,所述放置箱的內部上下兩端分別設有放置槽與凹槽,所述放置槽與凹槽之間設有采集機構,所述放置箱的前端活動安裝有若干承重塊,所述拉繩與采集機構和承重塊之間互相連接;
所述延伸機構包括有轉軸,所述轉軸活動貫穿安裝在放置箱的上端,所述轉軸的外側活動安裝有若干放置架,所述拉繩纏繞安裝在放置架的外側,所述轉軸的上下兩端分別設有限位槽,所述放置架的內部上下兩端分別活動安裝有限位塊,所述限位塊與限位槽之間卡合連接;
所述放置架的內部上下兩端分別活動安裝有活動架,所述活動架與限位塊之間互相連接;
所述采集機構包括有軟管,所述軟管活動安裝在凹槽的內部,所述軟管的下端與承重塊之間互相連接,所述軟管的上端與暫存箱之間互相連接,所述暫存箱的內部下端安裝有水龍頭,所述放置箱的一側安裝有負壓泵,所述負壓泵與暫存箱之間互相連接。
作為優選,所述放置箱的上表面兩端分別固定安裝有固定板,所述轉軸活動貫穿安裝在固定板之間,所述轉軸的一端安裝有把手,所述轉軸的外側活動安裝有若干放置架,每個所述放置架的外側分別安裝有拉繩。
作為優選,所述放置架的內部上下兩端分別設有第一活動槽,所述第一活動槽的內部分別卡合安裝有限位塊,所述限位塊互相遠離的一側與第一活動槽之間安裝有彈簧。
作為優選,所述放置架遠離把手的一側分別設有卡合槽,所述卡合槽的內部上下兩端分別設有第二活動槽,所述第二活動槽的內部分別活動安裝有活動架,所述活動架與限位塊之間互相連接。
作為優選,所述限位塊互相遠離的一側分別安裝有傳動繩,所述傳動繩遠離限位塊的一端分別安裝在第二活動槽的內部,并與活動架之間固定連接,所述傳動繩活動安裝在放置架的內部。
作為優選,遠離把手一側的所述固定板內部與放置架遠離卡合槽的一側分別固定安裝有推塊,所述推塊分別與卡合槽之間卡合連接,所述推塊與活動架之間互相貼合,所述推塊與卡合槽的內部分別安裝有磁鐵,互相靠近的磁鐵之間磁性相吸。
作為優選,所述凹槽的內部分別活動安裝有收卷架,所述軟管分別纏繞安裝在收卷架的外側,所述軟管的下端活動貫穿凹槽的內部一側并與承重塊之間互相連接,所述軟管的上端貫穿凹槽的內部,并與暫存箱之間互相連接。
作為優選,所述承重塊的內部下端貫穿設有采集槽,所述軟管的下端固定貫穿安裝在采集槽的內部,所述采集槽的內部安裝有濾網。
作為優選,所述暫存箱安裝在放置槽的內部,所述暫存箱的內部安裝有若干分隔板,所述暫存箱的內部上端固定安裝有分離板,所述暫存箱的內部下端分別安裝有水龍頭,所述水龍頭分別與軟管之間一一對應。
作為優選,所述暫存箱的上端固定安裝有總管,所述總管的下端分別貫穿安裝有若干通孔,所述通孔與暫存箱之間貫穿連接,所述通孔與軟管之間一一對應,所述放置箱的一側安裝有負壓泵,所述負壓泵與總管之間互相連接。
1、本發明中使用者通過把手與轉軸的配合,帶動放置架進行旋轉,來讓拉繩脫離放置架的內部,并跟隨承重塊進入水中,讓稱重塊帶動軟管浸入水內,然后在當其中一個稱重塊到達采集方位時,使用者可以將其中一個放置架進行推動,讓限位塊與限位槽之間進行分離,讓其進行位置固定,讓承重塊保持不動,然后剩下的稱重塊則繼續進行下移,然后在每個承重塊分別到達不同的深度方位后,負壓泵即可通過負壓將水樣引導至暫存箱的內部進行采樣工作,更加的簡單快捷。
2、本發明中在其中一個承重塊到達指定位置后,使用者可以將其對應的放置架進行推動,讓放置架帶動卡合槽與推塊相卡合,讓推塊對活動架進行推動,使得活動架通過傳動繩對限位塊進行拉動,來讓限位塊與限位槽之間進行分離,然后在通過磁鐵之間的磁性,對放置架進行定位,從而讓承重塊停止移動,然后在每個承重塊分別到達指定位置后,使用者即可同時對不同深度方位的水樣進行采集,提高水樣的采集效率,同時降低使用者的工作難度。
(發明人:張珮;于曉宇;彭梅;崔飛飛)






