公布日:2023.11.10
申請日:2023.09.07
分類號:C02F1/04(2023.01)I;B01D46/10(2006.01)I;B01D46/76(2022.01)I;B01D49/00(2006.01)I;B08B9/087(2006.01)I;B08B1/00(2006.01)I
摘要
本發明公開了一種污水資源化的低溫常壓蒸發濃縮裝置,包括箱體,所述箱體底部固定安裝有支撐腿,所述箱體頂面開設有進水口,所述箱體側壁開設有排氣口,所述箱體底部開設有出渣口,以及設置在箱體內部的加工組件,所述加工組件包括設置在箱體內部的所述受熱組件,所述受熱組件側方設置有蒸發組件,所述受熱組件外部設置有清理組件,當進行污水處理工作時,需要對箱體內壁進行清理,防止雜質附著在箱體內壁,當往復絲桿轉動時,帶動套塊進行移動,套塊外壁的固定安裝的連板也隨之移動,連板外壁固定安裝的底刮板也隨之進行移動,底刮板對箱體底部進行清理,由于底刮板外壁呈弧形設置,可以將加熱棒外壁附著的雜質也進行清理。

權利要求書
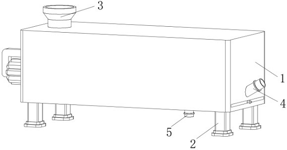
1.一種污水資源化的低溫常壓蒸發濃縮裝置,包括箱體(1);所述箱體(1)底部固定安裝有支撐腿(2);所述箱體(1)頂面開設有進水口(3);所述箱體(1)側壁開設有排氣口(4);所述箱體(1)底部開設有出渣口(5);以及設置在箱體(1)內部的加工組件(6),其特征在于:所述加工組件(6)包括設置在箱體(1)內部的所述受熱組件(61),所述受熱組件(61)側方設置有蒸發組件(63),所述受熱組件(61)外部設置有清理組件(64)。
2.根據權利要求1所述的一種污水資源化的低溫常壓蒸發濃縮裝置,其特征在于:所述受熱組件(61)包括固定安裝在箱體(1)外壁的支撐架(611),所述支撐架(611)遠離箱體(1)外壁的一端固定安裝有電機(612),所述電機(611)輸出端固定安裝有往復絲桿(613),所述往復絲桿(613)外壁固定安裝有限位環(614),所述往復絲桿(613)外壁套設有套塊(615),所述套塊(615)內部轉動連接有轉桿(616),所述轉桿(616)外壁固定安裝有轉動板(617),所述轉桿(616)外壁套設有齒輪(618),所述齒輪18)嚙合有齒條619),所述箱體(1)內壁開設有滑槽(620),所述箱體(1)內部底面固定安裝有加熱棒(621)。
3.根據權利要求1所述的一種污水資源化的低溫常壓蒸發濃縮裝置,其特征在于:所述蒸發組件(63)包括固定安裝在往復絲桿(613)外壁的擊打板(639),所述箱體(1)內壁固定安裝有隔板(631),所述隔板(631)外壁開設有通氣口(632),所述隔板(631)外壁固定安裝有鉸接塊(633),所述鉸接塊(633)鉸接連接有過濾板(634),所述所述的板(634)底部固定安裝有彈簧(635),所述彈簧(635)遠離過濾板(634)的一端固定安裝有固定塊(636),所述箱體(1)內部滑動設置有吸附板(637),所述吸附板(637)外壁固定安裝有拉手(638)。
4.根據權利要求1所述的一種污水資源化的低溫常壓蒸發濃縮裝置,其特征在于:所述清理組件(64)包括固定安裝在套塊(615)底部的連連(641),所述連板(641)遠離套塊(615)的一端固定安裝有底刮板(642),所述底刮板(642)外壁固定安裝有側刮板(643),所述側刮板(643)側壁固定安裝有穩定板(644)。
5.根據權利要求1所述的一種污水資源化的低溫常壓蒸發濃縮裝置,其特征在于:所述套塊(615)內部與往復絲桿(613)外壁螺紋套設,所述套塊(615)與轉桿(616)外壁轉動連接,所述轉桿(616)外壁與齒輪(618)內壁固定套設。
6.根據權利要求2所述的一種污水資源化的低溫常壓蒸發濃縮裝置,其特征在于:所述加熱棒(621)的數量有三根,以箱體(1)底面等距分布。
7.根據權利要求3所述的一種污水資源化的低溫常壓蒸發濃縮裝置,其特征在于:所述彈簧(635)的數量有兩個,以過濾板(634)中心線對稱分布。
8.根據權利要求4所述的一種污水資源化的低溫常壓蒸發濃縮裝置,其特征在于:所述底刮板(642)外壁與加熱棒(621)外壁滑動設置,所述底刮板(642)外壁等距開設有弧形。
發明內容
本發明的目的在于提供一種污水資源化的低溫常壓蒸發濃縮裝置,以解決上述背景技術中提出的問題。
為實現上述目的,本發明提供如下技術方案:一種污水資源化的低溫常壓蒸發濃縮裝置,包括箱體,所述箱體底部固定安裝有支撐腿,所述箱體頂面開設有進水口,所述箱體側壁開設有排氣口,所述箱體底部開設有出渣口,以及設置在箱體內部的加工組件,所述加工組件包括設置在箱體內部的所述受熱組件,所述受熱組件側方設置有蒸發組件,所述受熱組件外部設置有清理組件。
優選的,所述受熱組件包括固定安裝在箱體外壁的支撐架,所述支撐架遠離箱體外壁的一端固定安裝有電機,所述電機輸出端固定安裝有往復絲桿,所述往復絲桿外壁固定安裝有限位環,所述往復絲桿外壁套設有套塊,所述套塊內部轉動連接有轉桿,所述轉桿外壁固定安裝有轉動板,所述轉桿外壁套設有齒輪,所述齒輪嚙合有齒條,所述箱體內壁開設有滑槽,所述箱體內部底面固定安裝有加熱棒。
優選的,所述蒸發組件包括固定安裝在往復絲桿外壁的擊打板,所述箱體內壁固定安裝有隔板,所述隔板外壁開設有通氣口,所述隔板外壁固定安裝有鉸接塊,所述鉸接塊鉸接連接有過濾板,所述所述的板底部固定安裝有彈簧,所述彈簧遠離過濾板的一端固定安裝有固定塊,所述箱體內部滑動設置有吸附板,所述吸附板外壁固定安裝有拉手。
優選的,所述清理組件包括固定安裝在套塊底部的連連,所述連板遠離套塊的一端固定安裝有底刮板,所述底刮板外壁固定安裝有側刮板,所述側刮板側壁固定安裝有穩定板。
優選的,所述套塊內部與往復絲桿外壁螺紋套設,所述套塊與轉桿外壁轉動連接,所述轉桿外壁與齒輪內壁固定套設,用于往復絲桿轉動時,在轉桿與滑槽滑動的限制下,使得套塊可以進行往復移動,齒輪與齒條嚙合,在齒條的限制下,使得移動的齒輪進行轉動。
優選的,所述加熱棒的數量有三根,以箱體底面等距分布,用于對箱體內部的污水進行加熱處理。
優選的,所述彈簧的數量有兩個,以過濾板中心線對稱分布,用于對過濾板底部被擊打板擊打時,在彈簧彈性的作用下,使過濾板產生偏振的效果。
優選的,所述底刮板外壁與加熱棒外壁滑動設置,所述底刮板外壁等距開設有弧形,用于底刮板與加熱棒外壁滑動接觸,對箱體內壁進行清理的同時,也對加熱棒外壁進行清理,使得加熱棒加熱效果不會減退,也延長加熱棒的使用壽命。
與現有技術相比,本發明的有益效果是:1.該污水資源化的低溫常壓蒸發濃縮裝置,由受熱組件構成其一部件,當需要對污水資源化的低溫常壓蒸發濃縮處理時,將污水從進水口加入箱體內部,此時啟動加熱棒,對箱體內部的污水進行加熱處理,啟動電機,其輸出端固定安裝的往復絲桿開始轉動,由于套塊內部套設的轉桿與箱體內壁開設的滑槽滑動設置,在其限位下,轉動的往復絲桿帶動套塊進行移動,當套塊進行移動時,帶動轉桿外壁套設的齒輪進行移動,由于齒輪與齒條嚙合,當齒輪移動時,使得齒輪開始轉動,齒輪帶動其內部套設的轉桿轉動,使得轉桿外壁固定安裝的轉動板也隨之轉動,由于轉動板外壁呈弧形設置,可以對箱體內部的污水進行翻動,使得污水整體受熱均勻,轉動板轉動時,也可以進行移動,使得轉動板對箱體內部的污水進行撥動,使得箱體內部的污水受熱效果更加均勻,當污水加熱至所需溫度時,會產生蒸氣,可以通過轉動的轉動板將蒸氣進行吹動,使得蒸氣吹至通氣口處,進行冷凝工作,當污水處理后,產生的殘渣可以通過箱體底部開設的出渣口進行排出箱體內部,以此使得下一次污水資源化的低溫常壓蒸發濃縮正常進行。
2.該污水資源化的低溫常壓蒸發濃縮裝置,由蒸發組件構成其一部件,當轉動板將污水加熱的蒸氣吹向通氣口處時,氣體進行隔板遠離電機的一側的冷凝室內部,蒸氣通過過濾板進行冷凝過濾,蒸氣通過過濾板將其內部的雜質進行吸附,吸附后的蒸氣通過排氣口排出,當過濾板使用久了會堵塞,需要對其進行防堵處理,當往復絲桿轉動時,其外壁固定安裝的擊打板開始轉動,對過濾板底部進行擊打,由于過濾板與隔板外壁鉸接連接,且在彈簧彈性的作用下,使得過濾板偏振,將其內部堵塞的雜質進行震動,震落的雜質落在吸附板表面,通過吸附板進行吸附,避免雜質通過排氣口飛出箱體內部,當吸附板吸附較多雜質時,拉動拉手,將吸附板從箱體內部取出,對吸附板進行清理,該結構可以對雜質更快速的進行清理。
3.該污水資源化的低溫常壓蒸發濃縮裝置,由清理組件構成其一部件,當進行污水處理工作時,需要對箱體內壁進行清理,防止雜質附著在箱體內壁,當往復絲桿轉動時,帶動套塊進行移動,套塊外壁的固定安裝的連板也隨之移動,連板外壁固定安裝的底刮板也隨之進行移動,底刮板對箱體底部進行清理,由于底刮板外壁呈弧形設置,可以將加熱棒外壁附著的雜質也進行清理,提高加熱效果,底刮板移動時,帶動其外壁固定安裝的側刮板進行移動,對箱體側壁進行清理,當側刮板移動時,穩定板也隨之移動,由于穩定板內部與轉桿外壁轉動連接,在轉桿轉動時,可以通過穩定板進行支撐,使得轉桿轉動的更加穩定,當底刮板與側刮板與箱體內壁貼合滑動時,可以對套塊移動進行限位,使得往復絲桿轉動時,帶動套塊移動的更加穩定,以此使污水處理更佳。
(發明人:馮炳南;梁錦兵)






