公布日:2023.02.24
申請日:2022.10.31
分類號:C02F1/00(2023.01)I;C02F3/12(2023.01)I;B01D53/04(2006.01)I;C10L3/10(2006.01)I;C02F101/30(2006.01)N
摘要
本發明涉及污水處理技術領域,具體講是一種顆粒污泥反應器,包括機箱,所述機箱從上至下依次設有第一反應室和第二反應室,所述第二反應室的底部設有排泥裝置,所述排泥裝置的上方設有布水裝置,所述布水裝置的上方設有第一反應腔;所述排泥裝置包括橫向絲桿滑臺、縱向絲桿滑臺、電動推桿和排泥板,所述縱向絲桿固定連接在所述第二反應室的一側內壁,本發明通過設置排泥裝置,為了能夠提高工作效率,對機箱底部的污泥顆粒進行刮出,在阻尼器的作用下,避免電動推桿的推動力過大,對裝置產生損壞,污泥顆粒可通過打開安裝門,將其排出,避免后期人工慢慢清理,節約人工成本。

權利要求書
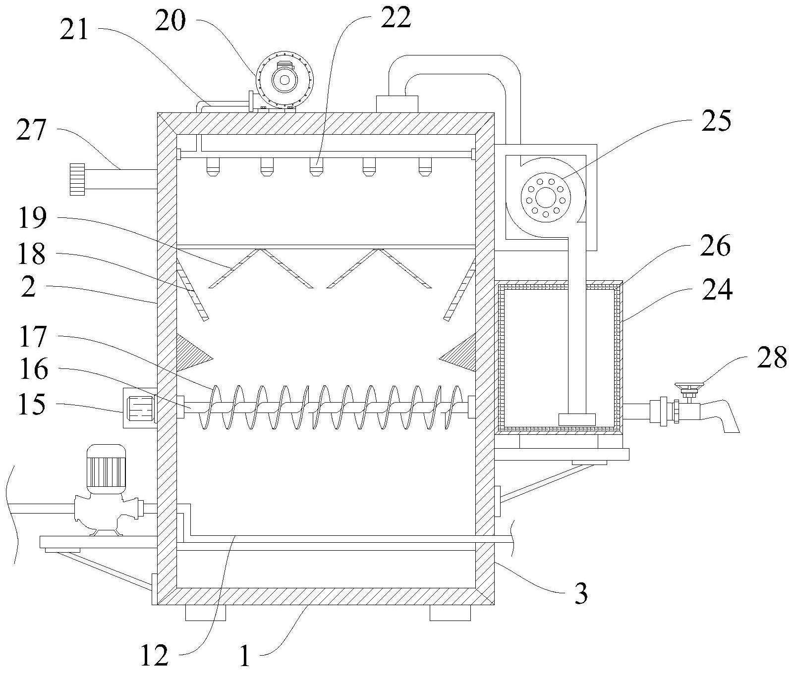
1.一種顆粒污泥反應器,其特征在于:包括機箱(1),所述機箱(1)從上至下依次設有第一反應室(2)和第二反應室(3),所述第二反應室(3)的底部設有排泥裝置,所述排泥裝置的上方設有布水裝置,所述布水裝置的上方設有第一反應腔;所述排泥裝置包括橫向絲桿滑臺(4)、縱向絲桿滑臺(5)、電動推桿(6)和排泥板(7),所述縱向絲桿固定連接在所述第二反應室(3)的一側內壁上,所述第二反應室(3)遠離縱向絲桿滑臺(5)的一側開設有滑槽,所述縱向絲桿滑臺(5)的移動端固定連接有橫向絲桿滑臺(4),所述橫向絲桿滑臺(4)遠離所述縱向絲桿滑臺(5)的一端滑動連接所述滑槽,所述橫向絲桿滑臺(4)的移動端固定連接有電動推桿(6),所述電動推桿(6)遠離橫向絲桿滑臺(4)移動端的一側固定連接有排泥板(7)。
2.根據權利要求1所述的一種顆粒污泥反應器,其特征在于:所述排泥板(7)包括連接板(30)、刮板(8)、導向桿(9)、阻尼器(10)和復位彈簧(11),所述連接板(30)固定連接在所述電動推桿(6)的下方,所述連接板(30)與刮板(8)之間固定連接有若干阻尼器(10),若干所述阻尼器(10)均水平設置,若干所述阻尼器(10)外均套設有復位彈簧(11),若干所述阻尼器(10)的兩側均設有導向桿(9),兩個所述導向桿(9)分別固定連接在所述連接板(30)與刮板(8)之間,所述刮板(8)的底部呈錐形設置。
3.根據權利要求1所述的一種顆粒污泥反應器,其特征在于:所述布水裝置包括連接主管(12)和若干排水分管(13),所述連接主管(12)的入水端連通有若干水平設置的排水分管(13),若干所述排水分管(13)上開設有若干漏孔(14)。
4.根據權利要求1所述的一種顆粒污泥反應器,其特征在于:所述第一反應腔的中部位置設有攪拌裝置,所述攪拌裝置包括伺服電機(15)、轉桿(16)和轉動葉(17),所述轉桿(16)的兩端通過軸承固定連接在所述第一反應室(2)的兩側內壁上,所述伺服電機(15)的輸出端與轉桿(16)的一端固定連接,所述轉桿(16)外套設有轉動葉(17)。
5.根據權利要求1所述的一種顆粒污泥反應器,其特征在于:所述第二反應室(3)內設有三相分離器(18)和集氣罩(19),所述三相分離器(18)分別固定連接在所述第二反應室(3)的兩側內壁上,所述集氣罩(19)通過安裝架安裝在所述第二反應室(3)的中部位置。
6.根據權利要求1所述的一種顆粒污泥反應器,其特征在于:所述第二反應室(3)的上方設有噴淋裝置,所述噴淋裝置包括第一水泵(20)、連接管(21)和噴淋頭(22),所述第一水泵(20)通過螺栓固定安裝在所述機箱(1)的頂部,所述第一水泵(20)的出水端連接有水管,所述水管延伸至第二反應室(3)內腔的一端連通有若干噴淋頭(22)。
7.根據權利要求1所述的一種顆粒污泥反應器,其特征在于:所述機箱(1)的一側開設有出水管(27),所述機箱(1)的頂部開設有排氣管,所述排氣管的延長端連通過濾裝置,所述過濾裝置包括凈化箱(24)、氣泵(25)和活性炭吸附板(26),所述凈化箱(24)通過安裝架固定安裝在所述機箱(1)的外側壁上,所述氣泵(25)的排氣端延伸至凈化箱(24)內腔,所述凈化箱(24)的內腔側壁上均安裝有活性炭吸附板(26),所述凈化箱(24)的一側外壁上連通有出氣管,所述出氣管上安裝有控氣閥(28)。
8.根據權利要求1所述的一種顆粒污泥反應器,其特征在于:所述第一反應室(2)外鉸接有安裝門(29),所述安裝門(29)上安裝有把手。
發明內容
本發明的目的在于提供一種顆粒污泥反應器,以解決上述背景技術中提出的問題。
本發明的技術方案是:一種顆粒污泥反應器,包括機箱,所述機箱從上至下依次設有第一反應室和第二反應室,所述第二反應室的底部設有排泥裝置,所述排泥裝置的上方設有布水裝置,所述布水裝置的上方設有第一反應腔;所述排泥裝置包括橫向絲桿滑臺、縱向絲桿滑臺、電動推桿和排泥板,所述縱向絲桿固定連接在所述第二反應室的一側內壁上,所述第二反應室遠離縱向絲桿滑臺的一側開設有滑槽,所述縱向絲桿滑臺的移動端固定連接有橫向絲桿滑臺,所述橫向絲桿滑臺遠離所述縱向絲桿滑臺的一端滑動連接所述滑槽,所述橫向絲桿滑臺的移動端固定連接有電動推桿,所述電動推桿遠離橫向絲桿滑臺移動端的一側固定連接有排泥板。
優選的,所述排泥板包括連接板、刮板、導向桿、阻尼器和復位彈簧,所述連接板固定連接在所述電動推桿的下方,所述連接板與刮板之間固定連接有若干阻尼器,若干所述阻尼器均水平設置,若干所述阻尼器外均套設有復位彈簧,若干所述阻尼器的兩側均設有導向桿,兩個所述導向桿分別固定連接在所述連接板與刮板之間,所述刮板的底部呈錐形設置。
優選的,所述布水裝置包括連接主管和若干排水分管,所述連接主管的入水端連通有若干水平設置的排水分管,若干所述排水分管上開設有若干漏孔。
優選的,所述第一反應腔的中部位置設有攪拌裝置,所述攪拌裝置包括伺服電機、轉桿和轉動葉,所述轉桿的兩端通過軸承固定連接在所述第一反應室的兩側內壁上,所述伺服電機的輸出端與轉桿的一端固定連接,所述轉桿外套設有轉動葉。
優選的,所述第二反應室內設有三相分離器和集氣罩,所述三相分離器分別固定連接在所述第二反應室的兩側內壁上,所述集氣罩通過安裝架安裝在所述第二反應室的中部位置。
優選的,所述第二反應室的上方設有噴淋裝置,所述噴淋裝置包括第一水泵、連接管和噴淋頭,所述第一水泵通過螺栓固定安裝在所述機箱的頂部,所述第一水泵的出水端連接有水管,所述水管延伸至第二反應室內腔的一端連通有若干噴淋頭。
優選的,所述機箱的一側開設有出水管,所述機箱的頂部開設有排氣管,所述排氣管的延長端連通過濾裝置,所述過濾裝置包括凈化箱、氣泵和活性炭吸附板,所述凈化箱通過安裝架固定安裝在所述機箱的外側壁上,所述氣泵的排氣端延伸至凈化箱內腔,所述凈化箱的內腔側壁上均安裝有活性炭吸附板,所述凈化箱的一側外壁上連通有出氣管,所述出氣管上安裝有控氣閥。
優選的,所述第一反應室外鉸接有安裝門,所述安裝門上安裝有把手。
本發明還提供了一種顆粒污泥反應器,所述顆粒污泥反應還包括以下步驟:
步驟1:有機廢水從機箱的一側進入到布水裝置中,由若干排水管被輸送至第二反應室內,與第二反應室內的好氧顆粒生物污泥混合,此時,大部分有機物在此被降解,產生大量沼氣;攪拌裝置中的伺服電機驅動轉桿帶動轉動葉反復旋轉,在攪拌裝置的輔助攪拌作用下,加速第一反應腔內的反應生成速度;此時,沼氣被三相分離器收集,由于產氣量大和液相上升流速較快,形成了氣、固、液混合流體,繼續在第一反應室內發生反應,在重力的作用下,污泥顆粒掉落至第二反應室的底部,氣體由氣泵輸送至凈化箱內,水體由出水管向外排出。
步驟2:為了能夠提高沼氣純度,被氣泵泵入凈化箱內的氣體,在活性炭吸附板的作用下,其內部雜質被進一步的吸附,隨后,被凈化的氣體由控氣閥控制向外排出。
步驟3:在反應生成之后,機箱的底部堆積有許多污泥顆粒,為了能夠提高工作效率,縱向絲桿滑臺的移動端驅動橫向絲桿滑臺縱向運動,而橫向絲桿滑臺驅動排泥板橫向移動,電動推桿驅動下方的刮板,對機箱底部的污泥顆粒進行刮出,在阻尼器的作用下,避免電動推桿的推動力過大,對裝置產生損壞,污泥顆粒可通過打開安裝門,將其排出。
步驟4:在排泥結束之后,第一水泵通過連接外部水源,通過連接的若干噴淋頭對機箱內腔進行噴洗,避免污泥顆粒堆積在機箱底部,影響后期的工作。
本發明通過改進在此提供一種顆粒污泥反應器,與現有技術相比,具有如下改進及優點:
其一:本發明通過設置排泥裝置,在反應生成之后,機箱的底部堆積有許多污泥顆粒,為了能夠提高工作效率,避免后期人工慢慢清理,節約人工成本,縱向絲桿滑臺的移動端驅動橫向絲桿滑臺縱向運動,而橫向絲桿滑臺驅動排泥板橫向移動,電動推桿驅動下方的刮板,對機箱底部的污泥顆粒進行刮出,在阻尼器的作用下,避免電動推桿的推動力過大,對裝置產生損壞,污泥顆粒可通過打開安裝門,將其排出。
其二:本發明通過設置過濾裝置,為了能夠提高沼氣純度,被氣泵泵入凈化箱內的氣體,在活性炭吸附板的作用下,其內部雜質被進一步的吸附。
其三:本發明通過設置噴淋裝置能夠及時的對機箱1內壁進行噴洗,避免污泥顆粒堆積在機箱1底部,影響后期工作。
(發明人:劉亮;苑芯茹;張萌)






