公布日:2023.12.29
申請日:2023.10.20
分類號:C02F1/66(2023.01)I;C02F1/44(2023.01)I;C02F103/36(2006.01)N
摘要
本申請公開了一種2-氯煙酸生產廢水處理裝置,其包括機架,所述機架上依次設置有廢水過濾機構以及廢水中和機構;所述廢水過濾機構包括箱體、設置于所述箱體頂部的進水管、用于過濾固體顆粒的濾膜、用于清理所述濾膜的清理組件、用于檢測固體顆粒是否堵塞所述濾膜的檢測組件,所述箱體內還設置有液位控制機構;所述箱體設置有出水口且與所述廢水中和機構連接;所述清理組件包括用于固定所述濾膜的固定架、用于將所述固定架固定在所述箱體頂部的固定件,用于實現所述固定架往復運動的往復部、用于實現所述固定架與所述箱體彈性連接的彈性部以及用于吸附固態顆粒的吸附部。本申請具有便于清理濾膜上固體顆粒的效果。

權利要求書
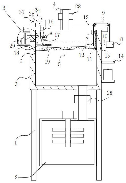
1.一種2-氯煙酸生產廢水處理裝置,其特征在于:包括機架(1),所述機架(1)上依次設置有廢水過濾機構以及廢水中和機構(2);所述廢水過濾機構包括箱體(3)、設置于所述箱體(3)頂部的進水管(4)、用于過濾固體顆粒的濾膜(5)、用于清理所述濾膜(5)的清理組件、用于檢測固體顆粒是否堵塞所述濾膜(5)的檢測組件,所述箱體(3)內還設置有液位控制機構;所述箱體(3)設置有出水口且與所述廢水中和機構(2)連接;所述清理組件包括用于固定所述濾膜(5)的固定架(6)、用于將所述固定架(6)固定在所述箱體(3)頂部的固定件(7),用于實現所述固定架(6)往復運動的往復部、用于實現所述固定架(6)與所述箱體(3)彈性連接的彈性部以及用于吸附固態顆粒的吸附部;所述往復部包括配重塊(8)、拉繩(9)、用于將所述配重塊(8)固定在指定位置的定位件(10);所述拉繩(9)的一端與所述固定架(6)固定連接,另一端穿出所述箱體(3)后與所述配重塊(8)固定連接,所述定位件(10)設置于所述配重塊(8)上,所述配重塊(8)重量大于所述固定架(6)以及所述濾膜(5)的重量之和,所述定位件(10)與所述箱體(3)外壁吸附固定;所述吸附部包括支撐桿(16)、升降桿(17)、電磁鐵(18)、以及填充有活性炭的吸附柱(19);所述支撐桿(16)轉動設置在所述箱體(3)的頂部,所述升降桿(17)滑動于所述支撐桿(16)內,所述電磁鐵(18)用于連接所述固定架(6)與所述升降桿(17),所述升降桿(17)與所述支撐桿(16)之間設置有卡接組件,所述吸附柱(19)與所述升降桿(17)外壁固定連接;所述液位控制機構包括兩個流量計(28)、用于監控液面位置的監測組件,兩個流量計(28)分別設置于所述進水管(4)以及所述出水口;所述監測組件包括塑料片(29)、兩個磁鐵塊(30)、用于驅動位于所述箱體(3)外部所述磁鐵塊(30)往復運動的驅動部、以及液位傳感器(32),所述塑料片(29)設置在所述箱體(3)的外壁,兩個磁鐵塊(30)分別位于所述塑料片(29)的內外兩側,兩個磁鐵塊(30)相互吸附,所述液位傳感器(32)安裝于位于所述箱體(3)內壁的所述磁鐵塊(30)上,所述液位傳感器(32)電性連接有蜂鳴器(31);所述彈性部包括第一彈簧(11)、圓盤(12)、以及滑桿(13),所述滑桿(13)固定在所述箱體(3)的側壁且所述固定架(6)套設滑移在所述滑桿(13)外,所述固定架(6)與所述滑桿(13)滑動的位置為水平設置,所述圓盤(12)固定在所述滑桿(13)上且所述圓盤(12)位于所述固定架(6)的上方,所述第一彈簧(11)套設在所述滑桿(13)外且所述第一彈簧(11)的兩端分別與所述固定架(6)以及所述圓盤(12)端部固定連接;所述卡接件包括第二彈簧(21)、卡接塊(20)、驅動塊(22)、以及第二接近開關;所述箱體(3)設置有驅動所述支撐桿(16)轉動的轉動組件;所述升降桿(17)設置有滑槽(26),第二彈簧(21)固定在所述卡接塊(20)與所述滑槽(26)端部內壁之間,所述支撐桿(16)外壁設置有用于所述卡接塊(20)插接的卡接孔(27),所述驅動塊(22)滑動于所述卡接孔(27)內,所述第二接近開關固定在所述支撐桿(16)外壁靠近于所述卡接孔(27)的位置,所述第二接近開關用于感應所述驅動塊(22)且觸發所述轉動組件工作。
2.根據權利要求1所述的一種2-氯煙酸生產廢水處理裝置,其特征在于:所述箱體(3)外壁升降設置有用于提升所述配重塊(8)的升降盤(14),所述箱體(3)設置有用于感應所述升降盤(14)的第一接近開關(15),所述第一接近開關(15)與所述固定件(7)電性連接。
3.根據權利要求2所述的一種2-氯煙酸生產廢水處理裝置,其特征在于:所述轉動組件包括轉動電機(24)、以及轉動桿(25),所述轉動桿(25)與所述箱體(3)的頂部轉動連接,所述轉動桿(25)的底部與所述支撐桿(16)頂端固定連接,所述轉動電機(24)用于驅動所述轉動桿(25)轉動且用安裝于所述箱體(3)頂部外壁。
4.根據權利要求3所述的一種2-氯煙酸生產廢水處理裝置,其特征在于:所述驅動部包括驅動盤(33)、傳動桿(34)、滑塊(35)、驅動桿(36)、以及驅動電機,所述驅動盤(33)與所述箱體(3)外壁轉動連接,所述驅動桿(36)豎直安裝于所述箱體(3)外壁,所述滑塊(35)套設滑移在所述驅動桿(36)外,所述驅動電機用于驅動所述驅動盤(33)轉動,所述滑塊(35)與位于所述箱體(3)外壁的磁鐵塊(30)固定連接。
發明內容
為了改善不便于清理濾膜上固體顆粒的問題,本申請提供一種2-氯煙酸生產廢水處理裝置。
本申請提供的一種2-氯煙酸生產廢水處理裝置采用如下的技術方案:
一種2-氯煙酸生產廢水處理裝置,包括機架,所述機架上依次設置有廢水過濾機構以及廢水中和機構;
所述廢水過濾機構包括箱體、設置于所述箱體頂部的進水管、用于過濾固體顆粒的濾膜、用于清理所述濾膜的清理組件、用于檢測固體顆粒是否堵塞所述濾膜的檢測組件,所述箱體內還設置有液位控制機構;所述箱體設置有出水口且與所述廢水中和機構連接;
所述清理組件包括用于固定所述濾膜的固定架、用于將所述固定架固定在所述箱體頂部的固定件,用于實現所述固定架往復運動的往復部、用于實現所述固定架與所述箱體彈性連接的彈性部以及用于吸附固態顆粒的吸附部。
可選的,所述往復部包括配重塊、拉繩、用于將所述配重塊固定在所述指定位置的定位件;所述拉繩的一端與所述固定架固定連接,另一端穿出所述箱體后與所述配重塊固定連接,所述定位件設置于所述配重塊上,所述配重塊重量大于所述固定架以及所述濾膜的重量之和,所述定位件與所述箱體外壁吸附固定。
可選的,所述彈性部包括第一彈簧、圓盤、以及滑桿,所述滑桿固定在所述箱體的側壁且所述固定架套設滑移在所述滑桿外,所述固定架與所述滑桿滑動的位置為水平設置,所述圓盤固定在所述滑桿上且所述圓盤位于所述固定架的上方,所述第一彈簧套設在所述滑桿外且所述第一彈簧的兩端分別與所述固定架以及所述圓盤端部固定連接。
可選的,所述箱體外壁升降設置有用于提升所述配重塊的升降盤,所述箱體設置有用于感應所述升降盤的第一接近開關,所述第一接近開關與所述固定件電性連接。
可選的,所述吸附部包括支撐桿、升降桿、電磁鐵、以及填充有活性炭的吸附柱;所述支撐桿轉動設置在所述箱體的頂部,所述升降桿滑動于所述支撐桿內,所述電磁鐵用于連接所述固定架與所述升降桿,所述升降桿與所述支撐桿之間設置有卡接組件,所述吸附柱與所述升降桿外壁固定連接。
可選的,所述吸附部包括支撐桿、升降桿、電磁鐵、以及填充有活性炭的吸附柱;所述支撐桿轉動設置在所述箱體的頂部,所述升降桿滑動于所述支撐桿內,所述電磁鐵用于連接所述固定架與所述升降桿,所述升降桿與所述支撐桿之間設置有卡接組件,所述吸附柱與所述升降桿外壁固定連接。
可選的,所述轉動組件包括轉動電機、以及轉動桿,所述轉動桿與所述箱體的頂部轉動連接,所述轉動桿的底部與所述支撐桿頂端固定連接,所述轉動電機用于驅動所述轉動桿轉動且用安裝于所述箱體頂部外壁。
可選的,所述液位控制機構包括兩個流量計、用于監控液面位置的監測組件,兩個流量計分別設置于所述進水管以及所述出水口。
可選的,所述監測組件包括塑料片、兩個磁鐵塊、用于驅動位于所述箱體外部所述磁鐵塊往復運動的驅動部、以及液位傳感器,所述塑料片設置在所述箱體的外壁,兩個磁鐵塊分別位于所述塑料片的內外兩側,兩個磁鐵塊相互吸附,所述液位傳感器安裝于位于所述箱體內壁的所述磁鐵塊上,所述液位傳感器電性連接有蜂鳴器。
可選的,所述驅動部包括驅動盤、傳動桿、滑塊、驅動桿、以及驅動電機,所述驅動盤與所述箱體外壁轉動連接,所述驅動桿豎直安裝于所述箱體外壁,所述滑塊套設滑移在所述驅動桿外,所述驅動電機用于驅動所述驅動盤轉動,所述滑塊與位于所述箱體外壁的磁鐵塊固定連接。
綜上所述,本申請包括以下至少一種有益技術效果:
1.對定位件斷電消磁,定位件與箱體分離,在配重的重力作用下,固定架被快速從廢水內拉出,在拉出廢水液面的瞬間,廢水與濾膜上的固體顆粒發生沖擊,濾膜上的固定顆粒發生松動,便于后續清除,固定件與固定架吸附固定,固定架穩定在箱體的頂部且位于液面上,且第一彈簧被壓縮變形;當需要濾膜以及固定架朝下沖擊進入到廢水內,此時利用升降盤將配重塊提升至初始位置,第一接近開關感應到升降盤,進而控制固定件斷電消磁,在固定架與濾膜的重力以及第一彈簧的彈力作用下,固定架以及濾膜具有朝向廢水內運動的沖擊力,當濾膜與廢水沖擊時,此時濾膜上的固體顆粒沖刷掉,根據上述步驟進行多次提升以及沖擊,增大濾膜上固體顆粒被沖洗掉的概率;
2.當固定架朝下運動時,此時固定件斷電,固定件與箱體頂部之間的吸附解除,電磁鐵通電后將固定架與升降桿連接,隨著固定架朝下運動過程中,升降桿在支撐桿內滑動且吸附柱運動至廢水內,在升降桿運動過程中,卡接塊位于滑槽內,第二彈簧被擠壓變形,當卡接塊運動至卡接孔的開口處時,卡接塊被驅動運動至卡接孔內,驅動塊被從卡接孔內推出,驅動塊運動至第二接近開關位置后,第二接近開關觸發轉動電機開始工作,吸附柱在旋轉過程中對濾膜上方廢水內的固定顆粒進行吸附,實現了吸附柱內活性炭對清理掉的固定顆粒進行吸附的效果;
3.當驅動電機控制驅動盤轉動一圈時且本實施例中可以設置驅動電機轉動的頻率,確保驅動電機轉動一圈所需要的時間也觀察液位是否變化設定的時間,在設定的時間內箱體內液位是否發生變化,轉化為液位傳感器在設定時間運動至對應位置時,此時箱體內液位是否上升至液位傳感器運動的位置;若沒有則證明濾膜清理工作完成,廢水處理的工序正常進行;若箱體內液位上升至液位傳感器的位置甚至還超過液位傳感器的位置時,此時證明濾膜還是處于堵塞的狀態,蜂鳴器被觸發發出聲音,需要對濾膜上固體顆粒進行再次清理。
(發明人:齊鯤鵬)






