公布日:2023.02.24
申請日:2022.12.14
分類號:B63B35/32(2006.01)I;C02F9/00(2023.01)I;B01D65/02(2006.01)I;E02B15/10(2006.01)I
摘要
本發明涉及一種全流域含藻水體去除水華凈化船,包括船體和駕駛室,所述船體上設有第一自吸泵、第二自吸泵和污泥脫水機,所述船體中部設有貫穿船底的親水井,親水井內滑動設有凈化艙,所述親水井上部的船體上設有升降裝置,所述凈化艙內部設有過濾模組,過濾模組上出水口與產水泵進水口連接,產水泵出水口與貫穿凈化艙艙壁的凈水管連接,所述船體水線下的部分設有含藻水體進水口,含藻水體進水口通過管道與第一自吸泵進水口連接,第一自吸泵出水口通過第一活動管道與凈化艙連接。本發明不僅能夠對水體進行過濾處理,而且能夠將底部污泥進行處理。

權利要求書
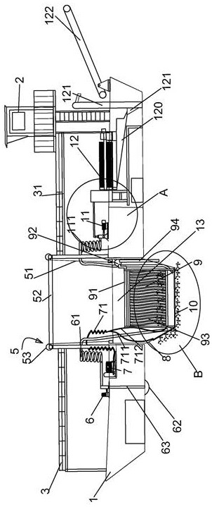
1.一種全流域含藻水體去除水華凈化船,包括船體(1),其特征在于:所述船體(1)上設有第一自吸泵(6)、第二自吸泵(11)和污泥脫水機(12),所述船體(1)中部設有貫穿船底的親水井(13),親水井(13)內滑動設有凈化艙(8),所述親水井(13)上部的船體上設有與凈化艙(8)活動連接的升降裝置(5),所述凈化艙(8)內部設有過濾模組(9),過濾模組(9)上出水口與產水泵(92)進水口連接,產水泵(92)出水口與延伸至凈化艙外的凈水管(94)連接,所述船體(1)水線下的部分設有含藻水體進水口(62),含藻水體進水口(62)通過管道(63)與第一自吸泵(6)進水口連接,第一自吸泵(6)出水口通過第一活動管道(61)與凈化艙(8)連接,所述凈化艙(8)底部通過第二活動管道(111)與所述第二自吸泵(11)的進水口連接,所述第二自吸泵(11)的出水口與所述污泥脫水機(12)的進水口連接。
2.根據權利要求1所述的全流域含藻水體去除水華凈化船,其特征在于:所述升降裝置(5)包括設置在船體(1)頂部的龍門架(52),所述龍門架(52)頂部設有多個電動葫蘆(53),電動葫蘆(53)的提升纜繩(51)的末端與凈化艙(8)連接。
3.根據權利要求1所述的全流域含藻水體去除水華凈化船,其特征在于:所述升降裝置(5)包括齒輪(501)和與齒輪嚙合的齒條(502),所述齒條(502)固定在凈化艙(8)的外壁上,所述齒輪(501)由固定在船體(1)上電動機驅動。
4.根據權利要求1所述的全流域含藻水體去除水華凈化船,其特征在于:所述第一活動管道(61)為彈簧進水管,所述第二活動管道(111)為彈簧進污管。
5.根據權利要求1或2所述的全流域含藻水體去除水華凈化船,其特征在于:所述升降裝置(5)還與過濾模組(9)活動連接。
6.根據權利要求1所述的全流域含藻水體去除水華凈化船,其特征在于:所述船體(1)上還設有風機(7),所述船體(1)水線下的船體上設有艙外曝氣管(10),所述風機(7)通過活動氣管(71)分別與艙外曝氣管(10)和所述過濾模組(9)內的曝氣裝置連接。
7.根據權利要求5所述的全流域含藻水體去除水華凈水船,其特征在于:所述船體(1)頂部的龍門架(52)設有多個電動葫蘆(53),電動葫蘆(53)的提升纜繩(51)的末端與過濾模組(9)活動連接,在凈化艙(8)的外壁上固定有齒條(502),所述齒條(502)與齒輪嚙合,所述齒輪(501)由固定在船體(1)上電動機驅動。
8.根據權利要求1所述的全流域含藻水體去除水華凈化船,其特征在于:所述船體(1)上還設有太陽能板(3),所述太陽能板(3)底部設有太陽能支架(31)。
9.根據權利要求1所述的全流域含藻水體去除水華凈化船,其特征在于:所述船體(1)尾部設有提升機(121)和輸送帶(122),所述污泥脫水機(12)出口與提升機(121)入料口對接,所述提升機(121)的出料口與輸送帶(122)一端對接
10.根據權利要求1所述的全流域含藻水體去除水華凈化船,其特征在于:所述過濾模組(9)為簾式過濾膜組件。
發明內容
鑒于以上問題,本發明提供了一種全流域含藻水體去除水華凈化船,解決目前水華水體凈化效果不佳、船舶適應性差、凈化耗能大、容易產生二次污染等問題。
為了實現上述目的及其他相關目的,本發明提供的技術方案如下:一種全流域含藻水體去除水華凈化船,包括船體和駕駛室,所述船體上設有第一自吸泵、第二自吸泵和污泥脫水機,所述船體中部設有貫穿船底的親水井,親水井內滑動設有凈化艙,所述親水井上部的船體上設有與凈化艙活動連接的升降裝置,所述凈化艙內部設有過濾模組,過濾模組上出水口與產水泵進水口連接,產水泵出水口與延伸至凈化艙外的的凈水管連接,所述船體水線下的部分設有含藻水體進水口,含藻水體進水口通過管道與第一自吸泵進水口連接,第一自吸泵出水口通過第一活動管道與凈化艙連接,所述凈化艙底部通過第二活動管道與所述第二自吸泵的進水口連接,所述第二自吸泵的出水口與所述污泥脫水機連接。
作為優選的,所述升降裝置包括設置在船體頂部的龍門架,所述龍門架頂部設有多個電動葫蘆,電動葫蘆的提升纜繩的末端與凈化艙連接。
作為優選,所述升降裝置包括齒輪和與齒輪嚙合的齒條,所述齒條固定在凈化艙的外壁上,所述齒輪由固定在船體上電動機驅動。
作為優選的,所述過濾模組為簾式過濾膜組。
作為優選的,所述第一活動管道為彈簧進水管,所述第二活動管道為彈簧進污管。
作為優選的,所述升降裝置與過濾模組活動連接。
作為優選的,所述船體上還設有風機,所述船體水線下的船體上設有艙外曝氣管,所述風機通過活動氣管分別與艙外曝氣管和所述簾式模組內的曝氣裝置連接。
作為優選的,所述船體頂部設置的龍門架設有多個電動葫蘆,電動葫蘆的提升纜繩的末端與過濾模組活動連接,在凈化艙的外壁上固定有所述齒條,齒條與齒輪嚙合,所述齒輪與固定在船體上電動機連接并由其驅動。
作為優選的,所述船體上還設有太陽能板,所述太陽能板底部設有太陽能支架。
作為優選的,所述船體尾部設有提升機和輸送帶,所述污泥脫水機出口與提升機入料口對接,所述提升機的出料口與輸送帶一端對接。
本發明具有以下積極效果:1)從含藻水的流入到凈水的排放、到藻渣的處理,本發明可以實現過濾凈化、沉淀、滅藻、壓濾、排渣等自動化連續生產。
2)本發明通過在船體上設置提升裝置,實現了凈化艙自由升降,因此船體可以設計更加緊湊。船體在岸邊、湖心、江心等位置,凈化艙均可以實現水深自主匹配,自由升降,到達不同的水域。同時可以利用虹吸效應,充分利用水位差,實現低耗能進水。
3)本發明通過簾式膜過濾膜組件,可以對河流中的含藻水體進行高效、成本較低、質量很好的充分過濾和去污染化處理,真正實現了一方水體的“熵減”,保證了水體處理的良好效果。
4)本發明還可以設置太陽能板,使用環保能源進行處理,進一步降低了能源消耗。
5)本發明部件多功能化,比如風機不僅可以為過濾膜組件提供曝氣沖洗外,還同時為自然水體提供曝氣,具有多功能特點,進一步降低了成本;提升裝置在過濾模組的檢修、更換、安裝中,實現最大限度的工作自由。
(發明人:夏軍勇;傅新民;周嘉穎)






