公布日:2023.12.29
申請日:2023.10.23
分類號:C02F9/00(2023.01)I;C02F1/20(2023.01)N;C02F1/52(2023.01)N;C02F1/00(2023.01)N;C02F3/34(2023.01)N
摘要
本發明公開了一種化工廢水凈化裝置及使用方法,包括處理箱,所述處理箱的一側設置有進水口,且處理箱頂部的一側還設置有導氣管,所述處理箱正面的一側設置有送藥組件,所述處理箱內部的一側設置有攪拌組件。本發明涉及工業廢水凈化處理技術領域,通過送藥組件向廢水中送入絮凝劑,配合攪拌組件對廢水和絮凝劑進行攪拌融合,同時利用凈化腔內部的換熱組件對處理箱內部的廢水進行加熱處理,提高絮凝劑與廢水中有機物的結合效率,再利用耐鹽菌將廢水中剩余的有機物降解成二氧化碳和水,通過對化工廢水采用物理沉降、生物降解和汽提法處理,不僅有效提高對化工廢水的凈化效果,同時還實現了對化工廢水中物料的回收,提高廢水的可生化性。

權利要求書
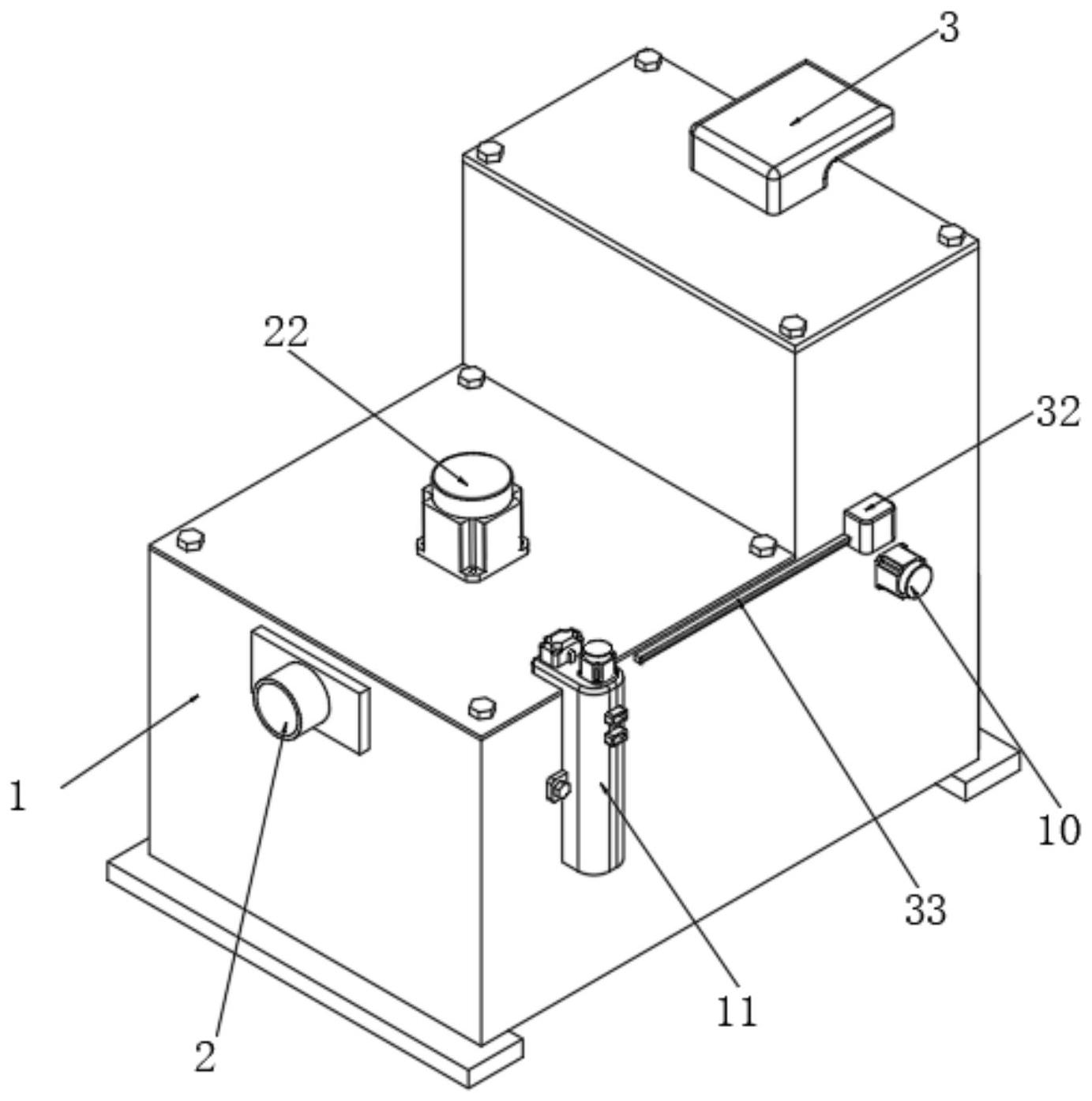
1.一種化工廢水凈化裝置,包括處理箱(1),所述處理箱(1)的一側設置有進水口(2),且處理箱(1)頂部的一側還設置有導氣管(3),其特征在于:所述處理箱(1)正面的一側設置有送藥組件,且送藥組件的一側延伸至處理箱(1)的內部,所述處理箱(1)內部且位于進水口(2)的一側設置有攪拌組件,且處理箱(1)內部的另一側設置有砂濾架(4),所述處理箱(1)的內部所述處理箱(1)內部且位于砂濾架(4)的上方設置有降解箱(5),且降解箱(5)的內部通過抽液管與砂濾架(4)內部的一側連接,所述降解箱(5)的一側還設置有投料管(6),且投料管(6)的一端延伸至處理箱(1)的外部,所述處理箱(1)內部且位于降解箱(5)的上方還設置有凈化腔(7),且凈化腔(7)的內部設置有換熱組件,所述凈化腔(7)底部的一側設置有出水口(8),且凈化腔(7)的內部與導氣管(3)的內部連通;所述送藥組件包括混藥架(11)和送藥架(12),所述處理箱(1)正面的一側通過螺栓固定設置有混藥架(11),且混藥架(11)的一側固定連接送藥架(12),所述混藥架(11)的正面設置有兩個進料口(13),且混藥架(11)的頂部還設置有混藥電機(14),所述混藥架(11)的內部設置有混合架,且混合架的頂部與混藥電機(14)的輸出端通過聯軸器固定連接,所述送藥架(12)的頂部設置有送液泵(15),且送液泵(15)的進液端通過導管與混藥架(11)內部的下方連接,所述送液泵(15)的出液端與送藥架(12)的內部連通,且送藥架(12)的一側設置有若干個出料口(16);所述攪拌組件包括攪拌桿(21),所述處理箱(1)的內部轉動設置有攪拌桿(21),且處理箱(1)的頂部還設置有攪拌電機(22),所述攪拌電機(22)的輸出軸通過聯軸器與攪拌桿(21)的頂端固定連接,所述攪拌桿(21)的底端固定設置有換熱架(23),且攪拌桿(21)表面的中部還固定設置有定位架(24),所述定位架(24)的內部與換熱架(23)的表面固定連接。
2.根據權利要求1所述的一種化工廢水凈化裝置,其特征在于:所述換熱組件包括換熱管(31),所述凈化腔(7)的內部設置有換熱管(31),所述處理箱(1)正面的一側固定設置有循環液泵(32),且循環液泵(32)的出液端與換熱管(31)的一端連接。
3.根據權利要求2所述的一種化工廢水凈化裝置,其特征在于:所述循環液泵(32)的進液端設置有循環進液管(33),且循環進液管(33)的一端延伸至處理箱(1)的內部,所述換熱管(31)的另一端設置有循環出液管(34),且循環出液管(34)的一端也延伸至處理箱(1)的內部。
4.根據權利要求3所述的一種化工廢水凈化裝置,其特征在于:所述攪拌桿(21)表面的上方轉動設置有導液架(35),且導液架(35)的內部分別設置有進液流道和出液流道,所述攪拌桿(21)的內部分別設置有兩個流道,兩個所述流道的底端分別與換熱架(23)的兩端固定連接,且兩個流道的頂端均設置有導液管(36)。
5.根據權利要求4所述的一種化工廢水凈化裝置,其特征在于:兩個所述導液管(36)的一端分別與進液流道和出液流道的內部活動連接,且進液流道和出液流道的內部分別與循環進液管(33)和循環出液管(34)的一端連通。
6.根據權利要求1所述的一種化工廢水凈化裝置,其特征在于:所述處理箱(1)內部的中部還設置有活動隔板(9),且活動隔板(9)的頂部通過伺服電缸驅動。
7.根據權利要求1所述的一種化工廢水凈化裝置,其特征在于:所述降解箱(5)的內部設置有攪拌架,所述處理箱(1)正面的一側設置有伺服電機(10),且伺服電機(10)的輸出軸一端與攪拌架的一端固定連接。
8.根據權利要求1所述的一種化工廢水凈化裝置,其特征在于:所述凈化腔(7)內壁的一側設置有噴淋架(41),且噴淋架(41)的內部通過導管和液泵與降解箱(5)的內部連通,所述凈化腔(7)內壁的另一側設置有噴汽架(42),且噴汽架(42)的一側設置有蒸汽輸送管(43)。
9.根據權利要求1所述的一種化工廢水凈化裝置的使用方法,其特征在于:具體包括以下步驟:首先通過進水口(2)將化工廢水送入處理箱(1)的內部,通過蒸汽輸送管(43)向噴汽架(42)的內部送入水蒸汽,利用循環液泵(32)讓換熱介質在換熱架(23)、換熱管(31)、循環進液管(33)、循環出液管(34)以及導液架(35)的內部進行循環流動,通過攪拌電機(22)的輸出軸帶動攪拌桿(21)在處理箱(1)的內部進行轉動,攪拌桿(21)帶動底端設置的換熱架(23)進行轉動,利用換熱架(23)將廢水進行攪拌;通過兩個進料口(13)分別向混藥架(11)的內部按一定比例送入純水和絮凝劑,通過混藥電機(14)的輸出端帶動混合架在混藥架(11)的內部進行轉動,在混藥架(11)的內部配置得到0.01%-0.05%濃度的絮凝劑水溶液,通過送藥架(12)頂部的送液泵(15)將混藥架(11)內部的絮凝劑水溶液周期性抽入送藥架(12)的內部,利用送藥架(12)一側的出料口(16)將絮凝劑水溶液送入處理箱(1)的內部;在對廢水中的有機物進行絮凝處理后,控制活動隔板(9)抬升,將廢水通過砂濾架(4)送入降解箱(5)的內部,利用砂濾架(4)中多層不同粒徑的砂粒進行過濾,通過顆粒間的空隙來阻擋絮凝團,廢水在送入降解箱(5)的內部后,通過投料管(6)向降解箱(5)的內部送入耐鹽菌,利用耐鹽菌將廢水中剩余的有機物降解成二氧化碳和水;廢水在降解箱(5)的內部進行降解處理后,利用液泵將廢水泵入噴淋架(41)的內部,利用噴淋架(41)將廢水噴入凈化腔(7)的內部,同時通過蒸汽輸送管(43)向噴汽架(42)的內部送入水蒸汽,讓廢水與水蒸汽直接接觸,使廢水中的揮發性有毒有害物質按一定比例擴散到氣相中去,從而達到從廢水中分離污染物的目的,最終氣相通過導氣管(3)送入收集容器中,經過凈化的廢水通過出水口(8)進行排出,完成對工業廢水的凈化處理。
發明內容
針對上述情況,為克服現有技術的缺陷,本發明提供了一種化工廢水凈化裝置及使用方法,為了解決。
為實現以上目的,本發明通過以下技術方案予以實現:一種化工廢水凈化裝置,包括處理箱,所述處理箱的一側設置有進水口,且處理箱頂部的一側還設置有導氣管,所述處理箱正面的一側設置有送藥組件,且送藥組件的一側延伸至處理箱的內部,所述處理箱內部且位于進水口的一側設置有攪拌組件,且處理箱內部的另一側設置有砂濾架,所述處理箱的內部所述處理箱內部且位于砂濾架的上方設置有降解箱,且降解箱的內部通過抽液管與砂濾架內部的一側連接,所述降解箱的一側還設置有投料管,且投料管的一端延伸至處理箱的外部,所述處理箱內部且位于降解箱的上方還設置有凈化腔,且凈化腔的內部設置有換熱組件,所述凈化腔底部的一側設置有出水口,且凈化腔的內部與導氣管的內部連通;
所述送藥組件包括混藥架和送藥架,所述處理箱正面的一側通過螺栓固定設置有混藥架,且混藥架的一側固定連接送藥架,所述混藥架的正面設置有兩個進料口,且混藥架的頂部還設置有混藥電機,所述混藥架的內部設置有混合架,且混合架的頂部與混藥電機的輸出端通過聯軸器固定連接,所述送藥架的頂部設置有送液泵,且送液泵的進液端通過導管與混藥架內部的下方連接,所述送液泵的出液端與送藥架的內部連通,且送藥架的一側設置有若干個出料口;
所述攪拌組件包括攪拌桿,所述處理箱的內部轉動設置有攪拌桿,且處理箱的頂部還設置有攪拌電機,所述攪拌電機的輸出軸通過聯軸器與攪拌桿的頂端固定連接,所述攪拌桿的底端固定設置有換熱架,且攪拌桿表面的中部還固定設置有定位架,所述定位架的內部與換熱架的表面固定連接。
進一步地,所述換熱組件包括換熱管,所述凈化腔的內部設置有換熱管,所述處理箱正面的一側固定設置有循環液泵,且循環液泵的出液端與換熱管的一端連接。
進一步地,所述循環液泵的進液端設置有循環進液管,且循環進液管的一端延伸至處理箱的內部,所述換熱管的另一端設置有循環出液管,且循環出液管的一端也延伸至處理箱的內部。
進一步地,所述攪拌桿表面的上方轉動設置有導液架,且導液架的內部分別設置有進液流道和出液流道,所述攪拌桿的內部分別設置有兩個流道,兩個所述流道的底端分別與換熱架的兩端固定連接,且兩個流道的頂端均設置有導液管。
進一步地,兩個所述導液管的一端分別與進液流道和出液流道的內部活動連接,且進液流道和出液流道的內部分別與循環進液管和循環出液管的一端連通。
進一步地,所述處理箱內部的中部還設置有活動隔板,且活動隔板的頂部通過伺服電缸驅動。
進一步地,所述降解箱的內部設置有攪拌架,所述處理箱正面的一側設置有伺服電機,且伺服電機的輸出軸一端與攪拌架的一端固定連接。
進一步地,所述凈化腔內壁的一側設置有噴淋架,且噴淋架的內部通過導管和液泵與降解箱的內部連通,所述凈化腔內壁的另一側設置有噴汽架,且噴汽架的一側設置有蒸汽輸送管。
進一步地,一種化工廢水凈化裝置的使用方法,具體包括以下步驟:
首先通過進水口將化工廢水送入處理箱的內部,通過蒸汽輸送管向噴汽架的內部送入水蒸汽,利用循環液泵讓換熱介質在換熱架、換熱管、循環進液管、循環出液管以及導液架的內部進行循環流動,通過攪拌電機的輸出軸帶動攪拌桿在處理箱的內部進行轉動,攪拌桿帶動底端設置的換熱架進行轉動,利用換熱架將廢水進行攪拌;
通過兩個進料口分別向混藥架的內部按一定比例送入純水和絮凝劑,通過混藥電機的輸出端帶動混合架在混藥架的內部進行轉動,在混藥架的內部配置得到0.01%-0.05%濃度的絮凝劑水溶液,通過送藥架頂部的送液泵將混藥架內部的絮凝劑水溶液周期性抽入送藥架的內部,利用送藥架一側的出料口將絮凝劑水溶液送入處理箱的內部;
在對廢水中的有機物進行絮凝處理后,控制活動隔板抬升,將廢水通過砂濾架送入降解箱的內部,利用砂濾架中多層不同粒徑的砂粒進行過濾,通過顆粒間的空隙來阻擋絮凝團,廢水在送入降解箱的內部后,通過投料管向降解箱的內部送入耐鹽菌,利用耐鹽菌將廢水中剩余的有機物降解成二氧化碳和水;
廢水在降解箱的內部進行降解處理后,利用液泵將廢水泵入噴淋架的內部,利用噴淋架將廢水噴入凈化腔的內部,同時通過蒸汽輸送管向噴汽架的內部送入水蒸汽,讓廢水與水蒸汽直接接觸,使廢水中的揮發性有毒有害物質按一定比例擴散到氣相中去,從而達到從廢水中分離污染物的目的,最終氣相通過導氣管送入收集容器中,經過凈化的廢水通過出水口進行排出,完成對工業廢水的凈化處理。
采用上述結構本發明取得的有益效果如下:
1、通過送藥組件向廢水中送入絮凝劑,配合攪拌組件對廢水和絮凝劑進行攪拌融合,同時利用凈化腔內部的換熱組件對處理箱內部的廢水進行加熱處理,提高絮凝劑與廢水中有機物的結合效率,在對廢水中的有機物進行絮凝處理后,將廢水通過砂濾架送入降解箱的內部,利用砂濾架中多層不同粒徑的砂粒進行過濾,通過顆粒間的空隙來阻擋絮凝團,廢水在送入降解箱的內部后,通過投料管向降解箱的內部送入耐鹽菌,利用耐鹽菌將廢水中剩余的有機物降解成二氧化碳和水,最后將降解箱內部的廢水送入凈化腔的內部,在凈化腔的內部通過讓廢水與水蒸汽直接接觸,使廢水中的揮發性有毒有害物質按一定比例擴散到氣相中去,從而達到從廢水中分離污染物的目的,最終氣相通過導氣管送入收集容器中,經過凈化的廢水通過出水口進行排出,通過對化工廢水采用物理沉降、生物降解和汽提法處理,不僅有效提高對化工廢水的凈化效果,同時還實現了對化工廢水中物料的回收,提高廢水的可生化性。
2、通過送藥架一側的出料口將絮凝劑水溶液送入處理箱的內部,讓流動的廢水與絮凝劑水溶液進行快速溶解,在絮凝劑水溶液剛開始加入廢水中時,控制攪拌組件的攪拌速度在300-500rpm,在廢水中出現絮凝團后,控制攪拌組件的攪拌速度在100-300rpm,直至所有的絮凝劑水溶液全部加入到廢水中后,繼續攪拌10-15min,再讓廢水中的絮凝團在重力的作用下進行自然沉降,通過在廢水中投放一定量的絮凝劑,在絮凝劑的作用下廢水中的膠體和細微懸浮物以及部分有機物消除小顆粒間的斥力,破壞原有受力平衡凝聚為絮凝體,去除廢水中懸浮顆粒的同時去除絕大多數的有機物質,有效提高后續對廢水的凈化效果。
3、通過換熱管將凈化腔內部的熱量通過循環進液管、循環出液管以及導液架循環送入到換熱架的內部,利用換熱架與廢水之間進行熱交換處理,對廢水進行升溫,從而提高絮凝劑在廢水中的溶解效率,通過在換熱架、換熱管、循環進液管、循環出液管以及導液架的內部通入換熱介質,利用循環液泵讓換熱介質在換熱架和換熱管的內部進行循環流動,從而實現將凈化腔內部的熱量與廢水之間進行熱交換,一方面提高了對絮凝劑在廢水中的溶解效率,另一方面提高了能源的利用率,減少能源的浪費。
(發明人:吳曉毛;占小翠;李影)






