公布日:2023.05.23
申請日:2023.02.23
分類號:F04D13/06(2006.01)I;F04D29/22(2006.01)I;F04D29/70(2006.01)I;F04D29/44(2006.01)I
摘要
本發明提供了一種一體化泵站用防堵塞自清潔污水泵,包括葉輪和泵體,所述葉輪與泵體內壁之間設有剪切裝置,用于剪切進入泵體內的纏繞物。所述葉輪包括葉輪前蓋板和葉輪后蓋板,所述葉輪前蓋板和葉輪后蓋板與泵體內壁之間分別設有剪切裝置。所述葉輪前蓋板外緣或葉輪后蓋板外緣至少設有一個第一剪切體,所述泵體內壁至少設有一個第二剪切體;所述第一剪切體與第二剪切體構成剪切裝置。本發明通過在葉輪與泵體之間設置導流裝置和剪切裝置,可以緩解纖維等雜質導致的堵塞問題,并可實現葉輪的自動清潔的功能。

權利要求書
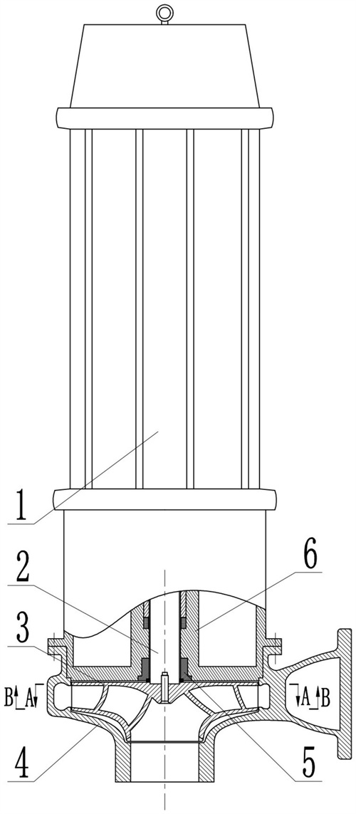
1.一種一體化泵站用防堵塞自清潔污水泵,其特征在于,包括葉輪(3)和泵體(4),所述葉輪(3)與泵體(4)內壁之間設有剪切裝置,用于剪切進入泵體(4)內的纏繞物。
2.根據權利要求1所述的一體化泵站用防堵塞自清潔污水泵,其特征在于,所述葉輪(3)包括葉輪前蓋板(31)和葉輪后蓋板(32),所述葉輪前蓋板(31)和葉輪后蓋板(32)與泵體(4)內壁之間分別設有剪切裝置。
3.根據權利要求2所述的一體化泵站用防堵塞自清潔污水泵,其特征在于,所述葉輪前蓋板(31)外緣或葉輪后蓋板(32)外緣至少設有一個第一剪切體,所述泵體(4)內壁至少設有一個第二剪切體;所述第一剪切體與第二剪切體構成剪切裝置。
4.根據權利要求3所述的一體化泵站用防堵塞自清潔污水泵,其特征在于,所述第一剪切體與第二剪切體位于同一平面內;所述第二剪切體位于泵體(4)內壁的隔舌附近。
5.根據權利要求3所述的一體化泵站用防堵塞自清潔污水泵,其特征在于,所述第一剪切體為第一剪切槽,所述葉輪后蓋板(32)或葉輪前蓋板(31)的邊緣設有至少一個第一剪切槽,所述第一剪切槽的一端設有第一前緣凸起;所述第二剪切體為第二剪切槽,所述泵體(4)內壁設有至少一個第二剪切槽,所述第二剪切槽的一端設有第二前緣凸起;所述第一前緣凸起與第二前緣凸起構成剪切裝置。
6.根據權利要求5所述的一體化泵站用防堵塞自清潔污水泵,其特征在于,所述第一剪切槽或第二剪切槽的橫截面呈三角形或楔形;所述第一前緣凸起與第一剪切槽內壁的夾角為銳角;所述第二前緣凸起與第二剪切槽內壁的夾角為銳角。
7.根據權利要求2所述的一體化泵站用防堵塞自清潔污水泵,其特征在于,所述葉輪前蓋板(31)入口處設有入口凹槽(311),用于在葉輪(3)與泵體(4)之間的間隙中形成間隙回流;所述入口凹槽(311)的橫截面為矩形或梯形。
8.根據權利要求2所述的一體化泵站用防堵塞自清潔污水泵,其特征在于,所述葉輪后蓋板(32)上均布若干導流槽(321);所述導流槽(321)為前高后低的結構。
9.根據權利要求3所述的一體化泵站用防堵塞自清潔污水泵,其特征在于,所述葉輪前蓋板(31)的第一剪切體與所述葉輪后蓋板(32)的第一剪切體交錯分布。
10.根據權利要求3所述的一體化泵站用防堵塞自清潔污水泵,其特征在于,所述葉輪前蓋板(31)外緣或葉輪后蓋板(32)外緣均布若干第一剪切體,在一個旋轉周期內,若干均布的第一剪切體到第二剪切體之間的間隙逐漸變小。
發明內容
針對現有技術中存在的不足,本發明提供了一種一體化泵站用防堵塞自清潔污水泵,通過在葉輪與泵體之間設置導流裝置和剪切裝置,可以緩解纖維等雜質導致的堵塞問題,并可實現葉輪的自動清潔的功能。
本發明是通過以下技術手段實現上述技術目的的。
一種一體化泵站用防堵塞自清潔污水泵,包括葉輪和泵體,所述葉輪與泵體內壁之間設有剪切裝置,用于剪切進入泵體內的纏繞物。
進一步,所述葉輪包括葉輪前蓋板和葉輪后蓋板,所述葉輪前蓋板和葉輪后蓋板與泵體內壁之間分別設有剪切裝置。
進一步,所述葉輪前蓋板外緣或葉輪后蓋板外緣至少設有一個第一剪切體,所述泵體內壁至少設有一個第二剪切體;所述第一剪切體與第二剪切體構成剪切裝置。
進一步,所述第一剪切體與第二剪切體位于同一平面內;所述第二剪切體位于泵體內壁的隔舌附近。
進一步,所述第一剪切體為第一剪切槽,所述葉輪后蓋板或葉輪前蓋板的邊緣設有至少一個第一剪切槽,所述第一剪切槽的一端設有第一前緣凸起;所述第二剪切體為第二剪切槽,所述泵體內壁設有至少一個第二剪切槽,所述第二剪切槽的一端設有第二前緣凸起;所述第一前緣凸起與第二前緣凸起構成剪切裝置。
進一步,所述第一剪切槽或第二剪切槽的橫截面呈三角形或楔形;所述第一前緣凸起與第一剪切槽內壁的夾角為銳角;所述第二前緣凸起與第二剪切槽內壁的夾角為銳角。
進一步,所述葉輪前蓋板入口處設有入口凹槽,用于在葉輪與泵體之間的間隙中形成間隙回流;所述入口凹槽的橫截面為矩形或梯形。
進一步,所述葉輪后蓋板上均布若干導流槽;所述導流槽為前高后低的結構。
進一步,所述葉輪前蓋板的第一剪切體與所述葉輪后蓋板的第一剪切體交錯分布。
進一步,所述葉輪前蓋板外緣或葉輪后蓋板外緣均布若干第一剪切體,在一個旋轉周期內,若干均布的第一剪切體到第二剪切體之間的間隙逐漸變小。
本發明的有益效果在于:
1.本發明所述的一體化泵站用防堵塞自清潔污水泵,通過入口凹槽配合葉輪與泵體之間的間隙形成間隙回流,達到葉輪自清潔的效果并避免入口堵塞。
2.本發明所述的一體化泵站用防堵塞自清潔污水泵,通過在葉輪后蓋板處設置導流槽,可以避免纖維等雜質纏繞傳動軸。
3.本發明所述的一體化泵站用防堵塞自清潔污水泵,采用剪切結構將纖維剪斷,避免纖維等易纏繞物質導致葉輪的纏繞與堵塞。
4.本發明所述的一體化泵站用防堵塞自清潔污水泵,通過在一個旋轉周期內,若干均布的第一剪切體到第二剪切體之間的間隙逐漸變小,這樣實現一個旋轉周期內剪切能力逐漸增加。
(發明人:趙付建;盧文兵;王偉;王秀禮;趙媛媛)






