公布日:2023.05.05
申請日:2023.03.23
分類號:C02F9/00(2023.01)I;B01D36/04(2006.01)I;B01D29/03(2006.01)I;B01D29/56(2006.01)I;C02F3/30(2023.01)N;C02F3/02(2023.01)N;C02F1/00(2023.01)N;C02F3/
28(2023.01)N;C02F3/34(2023.01)N;C02F101/16(2006.01)N;C02F101/30(2006.01)N
摘要
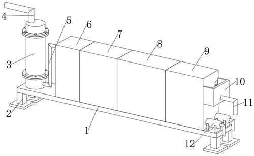
本發明公開了一種農村生活污水處理一體化設備,包括底座,所述底座下端左部與下端右部均固定連接有兩個支撐腳,所述底座上端左部固定連接有過濾裝置,所述過濾裝置上端左部固定連接有進入管,所述底座右端下部外表面固定連接有彎管,所述底座上端左部固定連接有厭氧箱,所述厭氧箱右端固定連接有凈化機構,所述凈化機構右端固定連接有曝氣箱,所述曝氣箱右端固定連接有沉淀機構,所述沉淀機構右端上部固定連接有第一連接箱,所述第一連接箱右端下部固定連接有導出管,所述沉淀機構右端下部固定穿插連接有兩個污泥泵。本發明所述的一種農村生活污水處理一體化設備,通過設備可快速對農村生活污水進行處理,并提高了農村生活污水凈化效果。

權利要求書
1.一種農村生活污水處理一體化設備,包括底座(1),其特征在于:所述底座(1)下端左部與下端右部均固定連接有兩個支撐腳(2),所述底座(1)上端左部固定連接有過濾裝置(3),所述過濾裝置(3)上端左部固定連接有進入管(4),所述底座(1)右端下部外表面固定連接有彎管(5),所述底座(1)上端左部固定連接有厭氧箱(6),所述厭氧箱(6)右端固定連接有凈化機構(7),所述凈化機構(7)右端固定連接有曝氣箱(8),所述曝氣箱(8)右端固定連接有沉淀機構(9),所述沉淀機構(9)右端上部固定連接有第一連接箱(10),所述第一連接箱(10)右端下部固定連接有導出管(11),所述沉淀機構(9)右端下部固定穿插連接有兩個污泥泵(12)。
2.根據權利要求1所述的一種農村生活污水處理一體化設備,其特征在于:所述過濾裝置(3)包括連接管(31),所述連接管(31)上部外表面與下部外表面均固定穿插連接有第一安裝板(32),且上部第一安裝板(32)上端緊貼有濾芯結構(33),下部所述第一安裝板(32)下端緊貼有儲水管(35),所述儲水管(35)與下部第一安裝板(32)之間和濾芯結構(33)與上部第一安裝板(32)之間均等距離共同穿插連接有若干個定位桿(34),所述儲水管(35)與彎管(5)固定穿插連接在一起。
3.根據權利要求2所述的一種農村生活污水處理一體化設備,其特征在于:所述濾芯結構(33)包括連接蓋(331),所述連接蓋(331)下部外表面固定穿插連接有第二安裝板(332),所述連接蓋(331)內下蓋壁中部固定連接有過濾芯(334),所述連接蓋(331)上端左部開有進水口(333),所述過濾芯(334)下部與連接管(31)活動穿插連接在一起。
4.根據權利要求3所述的一種農村生活污水處理一體化設備,其特征在于:所述過濾芯(334)包括連接桿(41),所述連接桿(41)外表面固定連接有螺旋板(42),所述螺旋板(42)上端等距離開有若干個過濾孔(43),所述連接桿(41)下端固定連接有過濾板(44),所述連接桿(41)與連接蓋(331)固定連接在一起。
5.根據權利要求4所述的一種農村生活污水處理一體化設備,其特征在于:所述過濾板(44)與連接管(31)內下內壁緊貼但不連接,所述螺旋板(42)的外邊沿與連接管(31)內壁緊貼但不連接。
6.根據權利要求1所述的一種農村生活污水處理一體化設備,其特征在于:所述凈化機構(7)包括第二連接箱(71),所述第二連接箱(71)內左箱壁與右箱壁之間共同固定連接有四個固定桿(72),且四個固定桿(72)之間共同等距離固定連接有若干個生物填料(73),所述第二連接箱(71)內下箱壁后部固定連接有潛水攪拌機構(74),所述第二連接箱(71)與底座(1)固定連接在一起。
7.根據權利要求6所述的一種農村生活污水處理一體化設備,其特征在于:所述潛水攪拌機構(74)包括電機(741),所述電機(741)下端外表面固定連接有兩個支撐塊(742),所述電機(741)輸出端固定連接有攪拌葉(745),所述電機(741)前部外表面等距離固定連接有若干個連接架(743),所述連接架(743)前端共同固定連接有連接罩(744),所述支撐塊(742)均與第二連接箱(71)內下槽壁固定連接在一起。
8.根據權利要求1所述的一種農村生活污水處理一體化設備,其特征在于:所述沉淀機構(9)包括固定箱(91),所述固定箱(91)內左箱壁與右箱壁之間共同固定連接有斜管填料(92),所述固定箱(91)內前箱壁與后箱壁之間共同固定連接有導出架(94),所述固定箱(91)右端后部開有穿插口(93),所述固定箱(91)與底座(1)固定連接在一起。
9.根據權利要求8所述的一種農村生活污水處理一體化設備,其特征在于:所述導出架(94)包括連接座(941),所述連接座(941)前端等距離開有三個進入口(942),所述連接座(941)前端等距離固定連接有三個溢流管(943),且三個溢流管(943)左端上部與右端上部均等距離開有若干個溢流口(944),所述連接座(941)與固定箱(91)固定連接在一起。
10.根據權利要求9所述的一種農村生活污水處理一體化設備,其特征在于:所述連接座(941)與穿插口(93)固定穿插連接在一起,三個所述溢流管(943)分別通過三個進入口(942)與連接座(941)內部相通。
發明內容
本發明的主要目的在于提供一種農村生活污水處理一體化設備,可以有效解決背景技術中的問題。
為實現上述目的,本發明采取的技術方案為:
一種農村生活污水處理一體化設備,包括底座,所述底座下端左部與下端右部均固定連接有兩個支撐腳,所述底座上端左部固定連接有過濾裝置,所述過濾裝置上端左部固定連接有進入管,所述底座右端下部外表面固定連接有彎管,所述底座上端左部固定連接有厭氧箱,所述厭氧箱右端固定連接有凈化機構,所述凈化機構右端固定連接有曝氣箱,所述曝氣箱右端固定連接有沉淀機構,所述沉淀機構右端上部固定連接有第一連接箱,所述第一連接箱右端下部固定連接有導出管,所述沉淀機構右端下部固定穿插連接有兩個污泥泵。
優選的,所述過濾裝置包括連接管,所述連接管上部外表面與下部外表面均固定穿插連接有第一安裝板,且上部第一安裝板上端緊貼有濾芯結構,下部所述第一安裝板下端緊貼有儲水管,所述儲水管與下部第一安裝板之間和濾芯結構與上部第一安裝板之間均等距離共同穿插連接有若干個定位桿,所述儲水管與彎管固定穿插連接在一起。
優選的,所述濾芯結構包括連接蓋,所述連接蓋下部外表面固定穿插連接有第二安裝板,所述連接蓋內下蓋壁中部固定連接有過濾芯,所述連接蓋上端左部開有進水口,所述過濾芯下部與連接管活動穿插連接在一起。
優選的,所述過濾芯包括連接桿,所述連接桿外表面固定連接有螺旋板,所述螺旋板上端等距離開有若干個過濾孔,所述連接桿下端固定連接有過濾板,所述連接桿與連接蓋固定連接在一起。
優選的,所述過濾板與連接管內下內壁緊貼但不連接,所述螺旋板的外邊沿與連接管內壁緊貼但不連接。
優選的,所述凈化機構包括第二連接箱,所述第二連接箱內左箱壁與右箱壁之間共同固定連接有四個固定桿,且四個固定桿之間共同等距離固定連接有若干個生物填料,所述第二連接箱內下箱壁后部固定連接有潛水攪拌機構,所述第二連接箱與底座固定連接在一起。
優選的,所述潛水攪拌機構包括電機,所述電機下端外表面固定連接有兩個支撐塊,所述電機輸出端固定連接有攪拌葉,所述電機前部外表面等距離固定連接有若干個連接架,所述連接架前端共同固定連接有連接罩,所述支撐塊均與第二連接箱內下槽壁固定連接在一起。
優選的,所述沉淀機構包括固定箱,所述固定箱內左箱壁與右箱壁之間共同固定連接有斜管填料,所述固定箱內前箱壁與后箱壁之間共同固定連接有導出架,所述固定箱右端后部開有穿插口,所述固定箱與底座固定連接在一起。
優選的,所述導出架包括連接座,所述連接座前端等距離開有三個進入口,所述連接座前端等距離固定連接有三個溢流管,且三個溢流管左端上部與右端上部均等距離開有若干個溢流口,所述連接座與固定箱固定連接在一起。
優選的,所述連接座與穿插口固定穿插連接在一起,三個所述溢流管分別通過三個進入口與連接座內部相通。
與現有技術相比,本發明具有如下有益效果:
1、本發明將過濾裝置替換格柵,污水通過進入管導入至連接蓋內,并流入至連接管內,通過螺旋板上的若干個過濾孔和過濾板進行過濾,過濾后的水導入至儲水管內,將定位桿脫離第一安裝板和第二安裝板,再將連接蓋向上拉動,從而就將過濾芯從連接管內移出進行清理,使得過濾芯便于清理,提高了農村生活污水的過濾效果。
2、通過設置沉淀機構,利用淺層效應,泥水快速分離,清水通過斜管填料上升,污泥則沉淀至固定箱內下部,清水通過溢流口導入至溢流管內,并通過進入口導入至連接座內,使得水導入至第一連接箱內,再由導出管導出,而污泥通過污泥泵導出,使得污泥與水可以快速分離,提高了設備對農村生活污水處理的效率。
3、通過設置厭氧箱、凈化機構和曝氣箱,彎管將污水導入至厭氧箱內,在厭氧細菌的作用下污水內的有機物和磷酸鹽被降解,隨后,污水導入至第二連接箱內,啟動電機和攪拌葉的作用,生物填料和污泥的兼氧細菌快速將污水中的氮物質脫除,然后污水流動至曝氣箱內,通過曝氣箱內的作用,高效的去除水中有機物及氨氮,使得污泥內的有機物可雜質可快速進行清理,提高了污水的凈化效果。
(發明人:譚浩)






