公布日:2023.11.14
申請日:2023.09.18
分類號:C02F3/12(2023.01)I;C02F1/00(2023.01)I
摘要
本發明公開了一種浮動式潷水器污水處理裝置,涉及污水處理設備技術領域,包括浮筒、潷水管、連接軟管、第一幾型架、第二幾型架、推料機構。本發明中推料板將過濾網頂部的漂浮物和其他雜質推到進料口處進入收集濾箱進行收集,使得對漂浮物和其他雜質的收集處理效果更佳,可有效避免污水處理池中漂浮物和其他雜質進入潷水管內部,同時對漂浮物和其他雜質進行收集處理,可有效避免漂浮物對污水處理池造成二次污染,且潷水管隨著浮筒的升降進行自由升降,無需外加設備對潷水管的高度進行升降處理,操作較為方便快捷;可有效加強連接軟管和潷水管、排水管的連接密封性,可有效保證連接軟管的密封性和安全性。

權利要求書
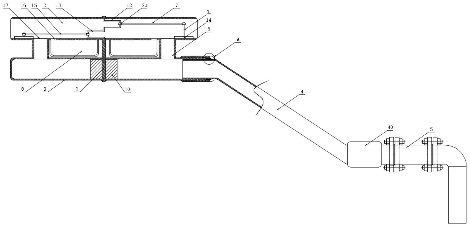
1.一種浮動式潷水器污水處理裝置,包括支架(1)、浮筒(2)、潷水管(3)、連接軟管(4)和排水管(5),其特征在于:所述浮筒(2)和潷水管(3)均與支架(1)滑動連接,所述浮筒(2)設于潷水管(3)上方,所述潷水管(3)一端通過連接軟管(4)與排水管(5)連接,所述浮筒(2)和潷水管(3)之間對稱設有連接管(6),所述浮筒(2)內部兩側均設有活動連接的推料機構(7),所述浮筒(2)底部于連接管(6)一側設有收集濾箱(8)。
2.根據權利要求1所述的一種浮動式潷水器污水處理裝置,其特征在于:所述浮筒(2)和潷水管(3)之間豎直設有轉動連接的支撐軸(9),所述支撐軸(9)一端于潷水管(3)內部設有若干個扇葉(10),所述支撐軸(9)另一端于浮筒(2)內部設有連接架,所述連接架包括第一幾型架(12)和第二幾型架(13),所述第一幾型架(12)和第二幾型架(13)水平平行設置,且第一幾型架(12)和第二幾型架(13)朝向相反,所述推料機構(7)包括推料板(14)和連接桿(15),兩個所述推料板(14)通過連接桿(15)分別與第一幾型架(12)和第二幾型架(13)轉動連接,所述浮筒(2)底部于收集濾箱(8)頂部一側設有進料口(16),所述連接管(6)頂部設有過濾網(17),所述推料板(14)底部開設有刮料口(32),所述推料板(14)底部于刮料口(32)內側設有若干個活動連接的支撐盤(18),所述支撐盤(18)底部活動設有若干個刮條(19),所述支撐盤(18)頂部中心設有轉動連接的連接軸(20),所述連接軸(20)外壁套設有第一扭簧(21),所述連接軸(20)頂部設有支撐柱(22),所述第一扭簧(21)一端與支撐柱(22)固定連接,所述第一扭簧(21)另一端與支撐盤(18)固定連接,所述支撐柱(22)外壁兩側對稱設有支撐片(23),所述支撐片(23)底部設有彈簧(24),所述推料板(14)內部于支撐柱(22)一側設有活動連接的導向桿(25),所述支撐柱(22)外壁開設有限位孔(26),所述導向桿(25)外壁于支撐柱(22)一側轉動設有與限位孔(26)相匹配的限位桿(27),所述導向桿(25)遠離支撐軸(9)一端設有第一支撐桿(28),所述第一支撐桿(28)底部設有撥片(29)。
3.根據權利要求2所述的一種浮動式潷水器污水處理裝置,其特征在于:所述連接桿(15)兩端均設有套筒(30),所述推料板(14)頂部中心設有第二支撐桿(31),所述第一幾型架(12)和第二幾型架(13)遠離支撐軸(9)一側設有第三支撐桿,兩個套筒(30)分別與第二支撐桿(31)和第三支撐桿轉動連接。
4.根據權利要求2所述的一種浮動式潷水器污水處理裝置,其特征在于:所述推料板(14)內部設有與支撐柱(22)相匹配的第一安裝腔(33),所述推料板(14)內部設有與彈簧(24)和支撐片(23)相匹配的第二安裝腔(34),所述第一安裝腔(33)與刮料口(32)貫通,所述第二安裝腔(34)與第一安裝腔(33)貫通。
5.根據權利要求4所述的一種浮動式潷水器污水處理裝置,其特征在于:所述推料板(14)內部設有與導向桿(25)相匹配的第三安裝腔(35),所述推料板(14)內部設有與限位桿(27)相匹配的第四安裝腔(36),所述第三安裝腔(35)與第四安裝腔(36)貫通,所述第四安裝腔(36)與第一安裝腔(33)和刮料口(32)貫通,所述第一安裝腔(33)內壁遠離第四安裝腔(36)一側設有與限位桿(27)相匹配的限位槽(37)。
6.根據權利要求5所述的一種浮動式潷水器污水處理裝置,其特征在于:所述推料板(14)底部開設有與第一支撐桿(28)相匹配的第五安裝腔(38),所述第三安裝腔(35)與第五安裝腔(38)貫通。
7.根據權利要求2所述的一種浮動式潷水器污水處理裝置,其特征在于:所述刮條(19)外壁底部設有若干個柔性條(39),所述刮條(19)頂部通過轉軸與支撐盤(18)轉動連接,所述轉軸外壁套設有第二扭簧,所述轉軸與支撐盤(18)固定連接,所述刮條(19)轉動套設于轉軸外側,所述第二扭簧一端與轉軸固定連接,所述第二扭簧另一端與刮條(19)固定連接。
8.根據權利要求1所述的一種浮動式潷水器污水處理裝置,其特征在于:所述連接軟管(4)兩端外壁活動套設有連接套(40),兩個所述連接套(40)分別與潷水管(3)和排水管(5)螺紋連接,所述連接套(40)外壁靠近連接軟管(4)一端設有開口(41),所述連接軟管(4)外壁于連接套(40)內側設有第一環形密封圈(42),所述連接套(40)內壁靠近開口(41)一側設有第二環形密封圈(43)。
9.根據權利要求8所述的一種浮動式潷水器污水處理裝置,其特征在于:所述第二環形密封圈(43)內部設有若干組支撐環(44),所述第二環形密封圈(43)內部于相鄰兩組支撐環(44)之間設有環形腔(11)。
10.根據權利要求9所述的一種浮動式潷水器污水處理裝置,其特征在于:每組所述支撐環(44)包括兩個支撐環(44),所述環形腔(11)和同一組的兩個支撐環(44)呈等腰三角形分布,所述第二環形密封圈(43)延伸至所述開口(41)內側。
發明內容
本發明的目的在于提供一種浮動式潷水器污水處理裝置,以解決上述背景技術中提出的問題。
為了解決上述技術問題,本發明提供如下技術方案:一種浮動式潷水器污水處理裝置,包括支架、浮筒、潷水管、連接軟管和排水管,所述浮筒和潷水管均與支架滑動連接,所述浮筒設于潷水管上方,所述潷水管一端通過連接軟管與排水管連接,所述浮筒和潷水管之間對稱設有連接管,所述浮筒內部兩側均設有活動連接的推料機構,所述浮筒底部于連接管一側設有收集濾箱。
進一步的,所述浮筒和潷水管之間豎直設有轉動連接的支撐軸,所述支撐軸一端于潷水管內部設有若干個扇葉,所述支撐軸另一端于浮筒內部設有連接架,所述連接架包括第一幾型架和第二幾型架,所述第一幾型架和第二幾型架水平平行設置,且第一幾型架和第二幾型架朝向相反,所述推料機構包括推料板和連接桿,兩個所述推料板通過連接桿分別與第一幾型架和第二幾型架轉動連接,所述浮筒底部于收集濾箱頂部一側設有進料口,所述連接管頂部設有過濾網,所述推料板底部開設有刮料口,所述推料板底部于刮料口內側設有若干個活動連接的支撐盤,所述支撐盤底部活動設有若干個刮條,所述支撐盤頂部中心設有轉動連接的連接軸,所述連接軸外壁套設有第一扭簧,所述連接軸頂部設有支撐柱,所述第一扭簧一端與支撐柱固定連接,所述第一扭簧另一端與支撐盤固定連接,所述支撐柱外壁兩側對稱設有支撐片,所述支撐片底部設有彈簧,所述推料板內部于支撐柱一側設有活動連接的導向桿,所述支撐柱外壁開設有限位孔,所述導向桿外壁于支撐柱一側轉動設有與限位孔相匹配的限位桿,所述導向桿遠離支撐軸一端設有第一支撐桿,所述第一支撐桿底部設有撥片。
進一步的,所述連接桿兩端均設有套筒,所述推料板頂部中心設有第二支撐桿,所述第一幾型架和第二幾型架遠離支撐軸一側設有第三支撐桿,兩個套筒分別與第二支撐桿和第三支撐桿轉動連接。
進一步的,所述推料板內部設有與支撐柱相匹配的第一安裝腔,所述推料板內部設有與彈簧和支撐片相匹配的第二安裝腔,所述第一安裝腔與刮料口貫通,所述第二安裝腔與第一安裝腔貫通。
進一步的,所述推料板內部設有與導向桿相匹配的第三安裝腔,所述推料板內部設有與限位桿相匹配的第四安裝腔,所述第三安裝腔與第四安裝腔貫通,所述第四安裝腔與第一安裝腔和刮料口貫通,所述第一安裝腔內壁遠離第四安裝腔一側設有與限位桿相匹配的限位槽。
進一步的,所述推料板底部開設有與第一支撐桿相匹配的第五安裝腔,所述第三安裝腔與第五安裝腔貫通。
進一步的,所述刮條外壁底部設有若干個柔性條,所述刮條頂部通過轉軸與支撐盤轉動連接,所述轉軸外壁套設有第二扭簧,所述轉軸與支撐盤固定連接,所述刮條轉動套設于轉軸外側,所述第二扭簧一端與轉軸固定連接,所述第二扭簧另一端與刮條固定連接。
進一步的,所述連接軟管兩端外壁活動套設有連接套,兩個所述連接套分別與潷水管和排水管螺紋連接,所述連接套外壁靠近連接軟管一端設有開口,所述連接軟管外壁于連接套內側設有第一環形密封圈,所述連接套內壁靠近開口一側設有第二環形密封圈。
進一步的,所述第二環形密封圈內部設有若干組支撐環,所述第二環形密封圈內部于相鄰兩組支撐環之間設有環形腔。
進一步的,每組所述支撐環包括兩個支撐環,所述環形腔和同一組的兩個支撐環呈等腰三角形分布,所述第二環形密封圈延伸至所述開口內側。
與現有技術相比,本發明所達到的有益效果是:
1、本發明通過設置浮筒、潷水管、連接軟管、第一幾型架、第二幾型架、推料機構,水液在潷水管內部流動時,水液穿過潷水管內部的扇葉,水液推動扇葉進行旋轉運動,扇葉帶動支撐軸進行旋轉,支撐軸旋轉帶動連接架進行旋轉運動,連接架旋轉運動時,第一幾型架和第二幾型架沿著支撐軸進行旋轉運動,第一幾型架和第二幾型架旋轉運動過程中帶動兩側的推料機構進行水平往復運動,推料機構水平往復運動過程中,連接桿一端隨著第一幾型架和第二幾型架進行往復擺動,連接桿另一端帶動推料板進行水平往復運動;過濾網將水液中的漂浮物或其他雜質進行過濾處理,漂浮物和其他雜質停留在過濾網頂部表面,推料板水平往復運動過程中,當推料板向靠近支撐軸方向運動時,推料板將過濾網上的漂浮物和其他雜質進行推料處理,推料板運動過程中,將漂浮物和其他雜質推向進料口,漂浮物和其他雜質通過進料口推入到收集濾箱內部,收集濾箱對水液進行過濾排出,漂浮物和其他雜質收集在收集濾箱內部;當推料板向遠離支撐軸方向運動時,推料板將過濾網表面的漂浮物和其他雜質向外推,推料板將漂浮物和其他雜質推到遠離支撐軸一側,水液再將漂浮物推動流向過濾網,過濾網對漂浮物和其他雜質進行攔截過濾處理,推料板再次向靠近支撐軸方向運動時,推料板將過濾網頂部的漂浮物和其他雜質推到進料口處進入收集濾箱進行收集;在推料板移動過程中,刮條沿著轉軸進行擺動,第二扭簧對刮條進行扭轉支撐,使得刮條進行擺動和復位,當刮料口運動到過濾網上方時,支撐盤帶動刮條向下移,刮條從刮料口伸出,刮條與過濾網表面接觸,刮條對過濾網濾孔內側的漂浮物和雜質進行刮除處理,刮條上的柔性條在刮條外側對漂浮物和雜質進行柔性刮除處理,可有效保證柔性條插入過濾網的濾孔中對漂浮物和雜質進行全面刮除處理,可有效加強對過濾網濾孔的清潔處理效果,避免過濾網堵塞;當支撐盤的刮條運動到進料口上方時,刮條進行回彈復位擺動,刮條上的漂浮物和其他雜質掉落到進料口內側的收集濾箱中,同時刮條失去限位支撐,在第一扭簧扭轉作用下,第一扭簧帶動支撐盤沿著連接軸進行旋轉運動,支撐盤帶動刮條進行旋轉運動,可有效加強對刮條的旋轉運動,使得刮條上的漂浮物和其他雜質快速掉落,使得漂浮物和其他雜質快速掉落到進料口內側的收集濾箱中,使得對漂浮物和其他雜質的收集處理效果更佳,可有效避免污水處理池中漂浮物和其他雜質進入潷水管內部,同時對漂浮物和其他雜質進行收集處理,可有效避免漂浮物對污水處理池造成二次污染,且潷水管隨著浮筒的升降進行自由升降,無需外加設備對潷水管的高度進行升降處理,操作較為方便快捷。
2、本發明通過設置連接套、開口、第一環形密封圈、第二環形密封圈、支撐環、環形腔,連接軟管在與潷水管和排水管連接時,將連接套套在潷水管和排水管上,擰緊連接套,連接套在潷水管和排水管上擰緊,連接套內側的第二環形密封圈隨著連接套進行旋轉向前運動,當第二環形密封圈和第一環形密封圈接觸相抵時,第二環形密封圈將第一環形密封圈向前頂,使得第一環形密封圈外壁一側和潷水管和排水管端部頂緊,第一環形密封圈外壁另一側和第二環形密封圈外壁頂緊,且第一環形密封圈和第二環形密封圈在頂緊過程中發生變形,使得第一環形密封圈外壁和連接套內壁頂緊,第二環形密封圈內壁和連接軟管外壁頂緊,可有效加強連接軟管和潷水管、排水管的連接密封性,可有效保證連接軟管的密封性和安全性;在第二環形密封圈和第一環形密封圈頂緊過程中,支撐環在第二環形密封圈內部進行環形支撐,可有效避免第二環形密封圈完全變形失去密封鎖緊性能,保證第二環形密封圈在擠壓變形后仍然具有環形支撐密封效果,進而提高對連接軟管連接處的密封性能;環形腔在支撐環之間提供緩沖空間,可有效加強第二環形密封圈的壓縮變形性能。
(發明人:慶巴圖;湯春娜)






