公布日:2023.11.14
申請日:2023.09.06
分類號:B01D29/35(2006.01)I;B01D29/56(2006.01)I;B01D29/03(2006.01)I;B01D29/96(2006.01)I;B01D36/02(2006.01)I;C02F1/52(2023.01)I;C02F1/00(2023.01)I;B01D29/
64(2006.01)I;B01D29/94(2006.01)I
摘要
本發明公開了一種自清潔多重污水過濾池,屬于過濾池技術領域,池體一側開設有排污口,池體的頂部設置有進水管;雜質池的進料口與排污口連通;過濾結構置于池體內并與進水管對應,過濾結構包括若干個依次滑動套接相連的過濾件,各過濾件具有一用于過濾污水中雜質的過濾狀態及一收納狀態,當各過濾件位于過濾狀態時,各過濾件依次滑動至位于其上層的過濾件的底端;當各過濾件切換至收納狀態時,各過濾底板由過濾狀態依次向上移動,直至各過濾件的頂端均與排污口對應,使雜質通過排污口排出;收納驅動件與最底層的過濾件相連;本發明實現了對過濾池中過濾雜質的自動清理及收集,提高了對雜質的處理效率。

權利要求書
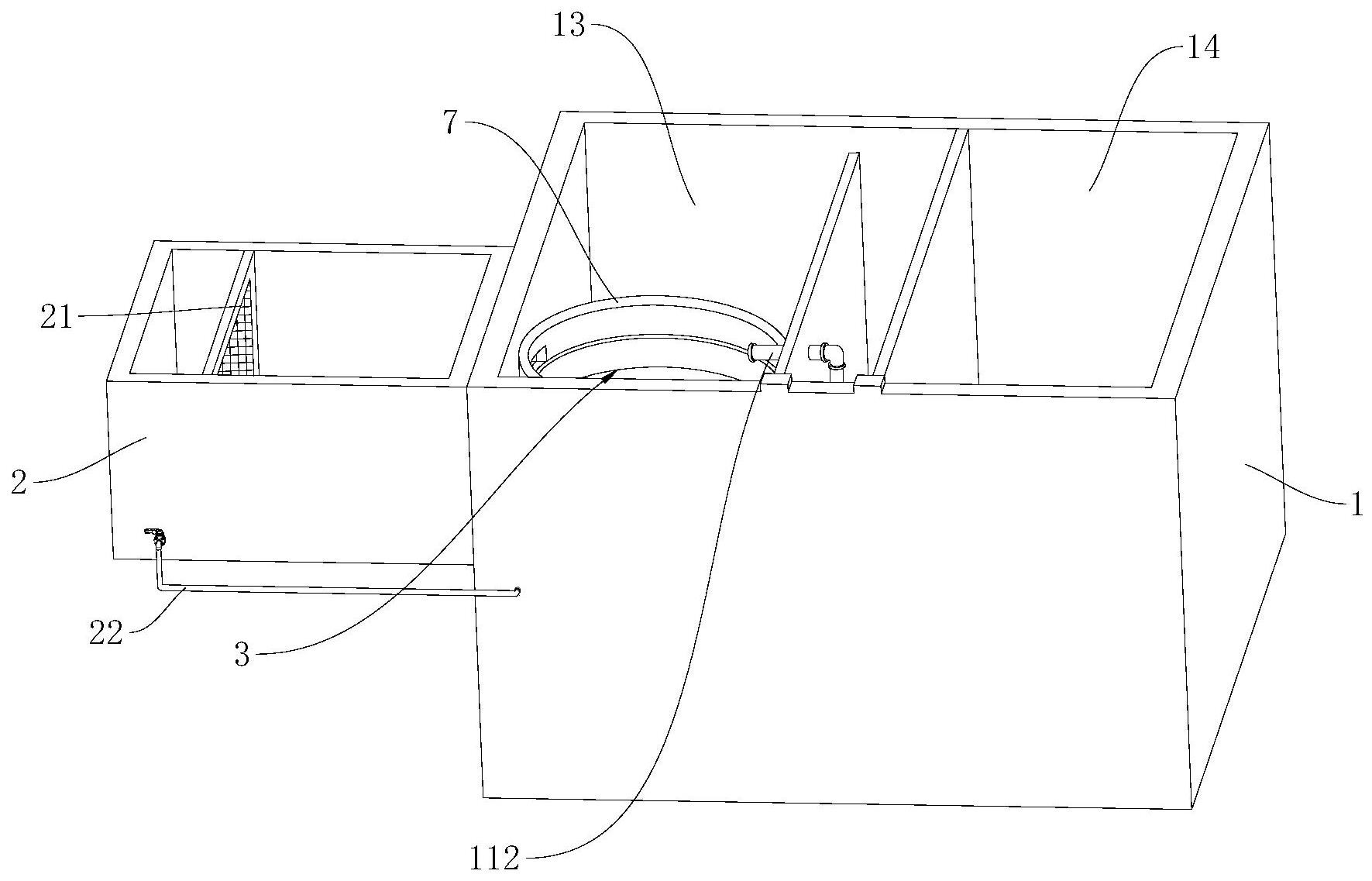
1.一種自清潔多重污水過濾池,其特征在于,包括:池體,所述池體一側開設有排污口,所述池體的頂部設置有進水管;雜質池,所述雜質池的進料口與所述排污口連通;過濾結構,所述過濾結構置于所述池體內并與所述進水管對應,所述過濾結構包括若干個依次滑動套接相連的過濾件,各所述過濾件具有一用于過濾污水中雜質的過濾狀態及一收納狀態,當各所述過濾件位于所述過濾狀態時,各所述過濾件依次滑動至位于其上層的所述過濾件的底端,以使各所述過濾件的內部之間形成供以容納雜質的過濾腔;當各所述過濾件切換至所述收納狀態時,各所述過濾件由過濾狀態依次向上移動,直至各所述過濾件的頂面均與所述排污口對應,供以將雜質推置于所述排污口一側,使雜質通過排污口排出;以及收納驅動件,所述收納驅動件與最底層的所述過濾件相連,用于驅動各所述過濾件依次上下移動以帶動各所述過濾件進行收納狀態或過濾狀態的切換。
2.根據權利要求1所述的自清潔多重污水過濾池,其特征在于,所述池體內設置有隔板,以將所述池體內部分隔形成有第一腔體及第二腔體,所述過濾結構內置于所述第一腔體,所述第二腔體內橫向設置有第一過濾網;所述池體內部還設置有第一水泵及第二水泵,所述第一水泵的進水口通過第一連接管與所述第一腔體的內部連通、其出水口連接第二連接管,所述第二連接管的出水端設于所述第一過濾網的上方并與所述第二腔體連通;所述第二水泵的進水口連接第三連接管、其出水口連接第四連接管,所述第三連接管的進水端設于所述第一過濾網的上方并與所述第二腔體連通,所述第四連接管的出水端與所述過濾腔對應。
3.根據權利要求1所述的自清潔多重污水過濾池,其特征在于,所述過濾結構包括若干個依次滑動套接相連的過濾框以及一過濾底板,所述過濾底板與最底層的過濾框滑動連接,當所述過濾件位于過濾狀態時,各所述過濾框均位于其上層的所述過濾框底端,所述過濾底板位于最底層的所述過濾框的底端,當過濾件位于收納狀態時,各所述過濾框的頂面平齊并與排污口對應,所述過濾底板位于各所述過濾框的頂端,以使所述過濾底板能夠將過濾腔內雜質推出至與排污口的一側,供雜質經由排污口排至雜質池內,各所述過濾框的直徑由上至下依次減小,各所述過濾框的高度均相等。
4.根據權利要求3所述的自清潔多重污水過濾池,其特征在于,各所述過濾框以及過濾底板的頂端邊緣均設置有沿該邊緣依次設置的若干刮齒,所述刮齒一側與位于其上層的所述過濾框的內側壁相貼合。
5.根據權利要求3所述的自清潔多重污水過濾池,其特征在于,各所述過濾框內側壁的頂端均設置有限位齒,各所述過濾框以及過濾底板的頂端邊緣與所述限位齒對應位置均設置有限位槽。
6.根據權利要求5所述的自清潔多重污水過濾池,其特征在于,所述過濾底板呈傾斜設置,其由靠近所述排污口的一端至另一端向上傾斜延伸,所述過濾結構的上端設置有導料框,當所述過濾框處于所述收納狀態時,所述導料框的上表面與所述過濾底板的上表面位于同一傾斜面上。
7.根據權利要求6所述的自清潔多重污水過濾池,其特征在于,所述過濾底板的較高一端的下方設置有墊板,所述墊板上開設有與所述限位槽對應的凹槽。
8.根據權利要求1所述的自清潔多重污水過濾池,其特征在于,所述收納驅動件包括氣缸,所述氣缸設于所述池體的池底,其驅動端向上延伸并與所述過濾件相連。
9.根據權利要求3所述的自清潔多重污水過濾池,其特征在于,所述自清潔多重污水過濾池還包括:清潔件,所述清潔件包括刮板、固定板及彈簧,所述固定板設于所述過濾結構的上方,所述刮板靠近所述過濾底板中部的一端與所述固定板鉸接相連,所述刮板的另一端通過彈簧連接所述固定板,當所述過濾底板位于所述過濾腔的最頂端時,所述過濾底板的上表面與所述刮板的下表面貼合;旋轉驅動件,所述驅動件包括電機及驅動桿,所述電機的驅動軸與所述驅動桿連接,所述驅動桿的中心線與所述過濾底板的中心線重合并與所述固定板的一端相連,供以通過所述固定板驅動所述刮板旋轉以刮除所述過濾底板上的雜質。
10.根據權利要求1所述的自清潔多重污水過濾池,其特征在于,所述雜質池內設置有第二過濾網,所述雜質池設置有回流管,所述回流管的一端與所述第二過濾網背離排污口一側的雜質池的內部連通,所述回流管的另一端與所述池體的內部連通。
發明內容
本發明的目的在于克服上述技術不足,提出一種自清潔多重污水過濾池,解決現有技術中過濾池中的過濾板上的雜質不便于進行清理,影響過濾池的處理效率的技術問題。
為達到上述技術目的,本發明的技術方案提供一種自清潔多重污水過濾池,包括池體、雜質池、過濾結構以及收納驅動件,池體一側開設有排污口,池體的頂部設置有進水管;雜質池的進料口與排污口連通;過濾結構置于池體內并與進水管對應,過濾結構包括若干個依次滑動套接相連的過濾件,各過濾件具有一用于過濾污水中雜質的過濾狀態及一收納狀態,當各過濾件位于過濾狀態時,各過濾件依次滑動至位于其上層的過濾件的底端,以使各過濾件的內部之間形成供以容納雜質的過濾腔;當各過濾件切換至收納狀態時,各過濾件由過濾狀態依次向上移動,直至各過濾件的頂端均與排污口對應,供以將雜質推置于排污口一側,使雜質通過排污口排出;收納驅動件與最底層的過濾件相連,用于驅動各過濾件依次上下移動以帶動各過濾件進行收納狀態或過濾狀態的切換。
在一些實施例中,池體內設置有隔板,以將池體內部分隔形成有第一腔體及第二腔體,過濾結構內置于第一腔體,第二腔體內橫向設置有第一過濾網;池體內部還設置有第一水泵及第二水泵,第一水泵的進水口通過第一連接管與第一腔體的內部連通、其出水口連接第二連接管,第二連接管的出水端設于第一過濾網的上方并與第二腔體連通;第二水泵的進水口連接第三連接管、其出水口連接第四連接管,第三連接管的進水端設于第一過濾網的上方并與第二腔體連通,第四連接管的出水端與過濾腔對應,使池體內形成循環過濾,以便將雜質清理排出,同時,能夠對污水進行循環過濾,提高了對污水中雜質的處理效果。
在一些實施例中,過濾結構包括若干個依次滑動套接相連的過濾框以及一過濾底板,過濾底板與最底層的過濾框滑動連接,當過濾件位于過濾狀態時,各過濾框均位于其上層的過濾框底端,過濾底板位于最底層的過濾框的底端,當過濾件位于收納狀態時,各過濾框的頂端平齊并與排污口對應,過濾底板位于各過濾框的頂端,以使過濾底板能夠將過濾腔內雜質推出至與排污口的一側,供雜質經由排污口排至雜質池內,各過濾框的直徑由上至下依次減小,各過濾框的高度均相等;各過濾框以及過濾底板的頂端邊緣均設置有沿該邊緣依次設置的若干刮齒,刮齒一側與位于其上層的過濾框的內側壁相貼合;各過濾框內側壁的頂端均設置有限位齒,各過濾框以及過濾底板的頂端邊緣與限位齒對應位置均設置有限位槽;過濾底板呈傾斜設置,其由靠近排污口的一端至另一端向上傾斜延伸,過濾結構的上端設置有導料框,當過濾框處于收納狀態時,導料框的上表面與過濾底板的上表面位于同一傾斜面上;過濾底板的較高一端的下方設置有墊板,墊板上開設有與限位槽對應的凹槽。
在一些實施例中,收納驅動件包括氣缸,氣缸設于池體的池底,其驅動端向上延伸并與過濾底板相連,實現驅動過濾底板進行升降運動。
在一些實施例中,自清潔多重污水過濾池還包括清潔件以及旋轉驅動件;清潔件包括刮板、固定板及彈簧,固定板設于過濾結構的上方,刮板靠近過濾底板中部的一端與固定板鉸接相連,刮板的另一端通過彈簧連接固定板,當過濾底板位于過濾腔的最頂端時,過濾底板的上表面與刮板的下表面貼合;驅動件包括電機及驅動桿,電機的驅動軸與驅動桿連接,驅動桿的中心線與過濾底板的中心線重合并與固定板的一端相連,供以通過固定板驅動刮板旋轉,以刮除過濾底板上的雜質。
在一些實施例中,雜質池內設置有第二過濾網,雜質池設置有回流管,回流管的一端與第二過濾網背離排污口一側的雜質池的內部連通,回流管的另一端與池體的內部連通,利用第二過濾網能夠對雜質中的固體物及液體物進一步進行固液分離,分離后的液體能夠通過回流管送回至第一腔體內。
與現有技術相比,本發明的有益效果包括:通過設置的池體、雜質池、過濾結構以及收納驅動件,在過濾狀態時,各過濾件用以過濾污水中的雜質,并將雜質收集于過濾腔內,利用收納驅動件可驅動各過濾件移動至收納狀態,此時各所述過濾件的頂端均與所述排污口對應,在過濾件由過濾狀態切換至收納狀態進行向上的運動過程中,可將過濾腔內的雜質依次從過濾腔內帶出,使雜質能夠通過排污口排放至雜質池內,實現對過濾池中過濾雜質的自動清理及收集,提高了對雜質的處理效率。
(發明人:李紅;黃昭瑋;吳璨;冷超群;吳德明;施卓;馬慧芬;郭珍珍)






