公布日:2023.11.14
申請日:2023.09.05
分類號:B01D36/02(2006.01)I;B01D29/64(2006.01)I;B01D35/16(2006.01)I
摘要
本發明提供了一種具有壓縮污泥功能的污水處理設備,所述污水處理箱內設有凈化筒,所述凈化筒上轉動連接有往復絲桿,所述凈化筒的內壁上固定連接有多個導軌,所述往復絲桿上螺紋連接有驅動盤,所述驅動盤上固定連接有位于每個導軌內的導桿,所述驅動盤上固定連接有多個安裝桿,每個所述導桿的外端上分別轉動連接有第一刮板,每個所述安裝桿的外端分別轉動連接有第二刮板;第一刮板與第二刮板可以對凈化筒清理的更加徹底,避免污泥對第一通孔堵塞,當不需要對凈化筒進行清理時,只需控制第一伸縮桿收縮,使第一刮板與第二刮板不與凈化筒內壁接觸即可,實現了污水和污泥的快速分離,也可以防止直接排放到河道內,造成河道堵塞和污染。

權利要求書
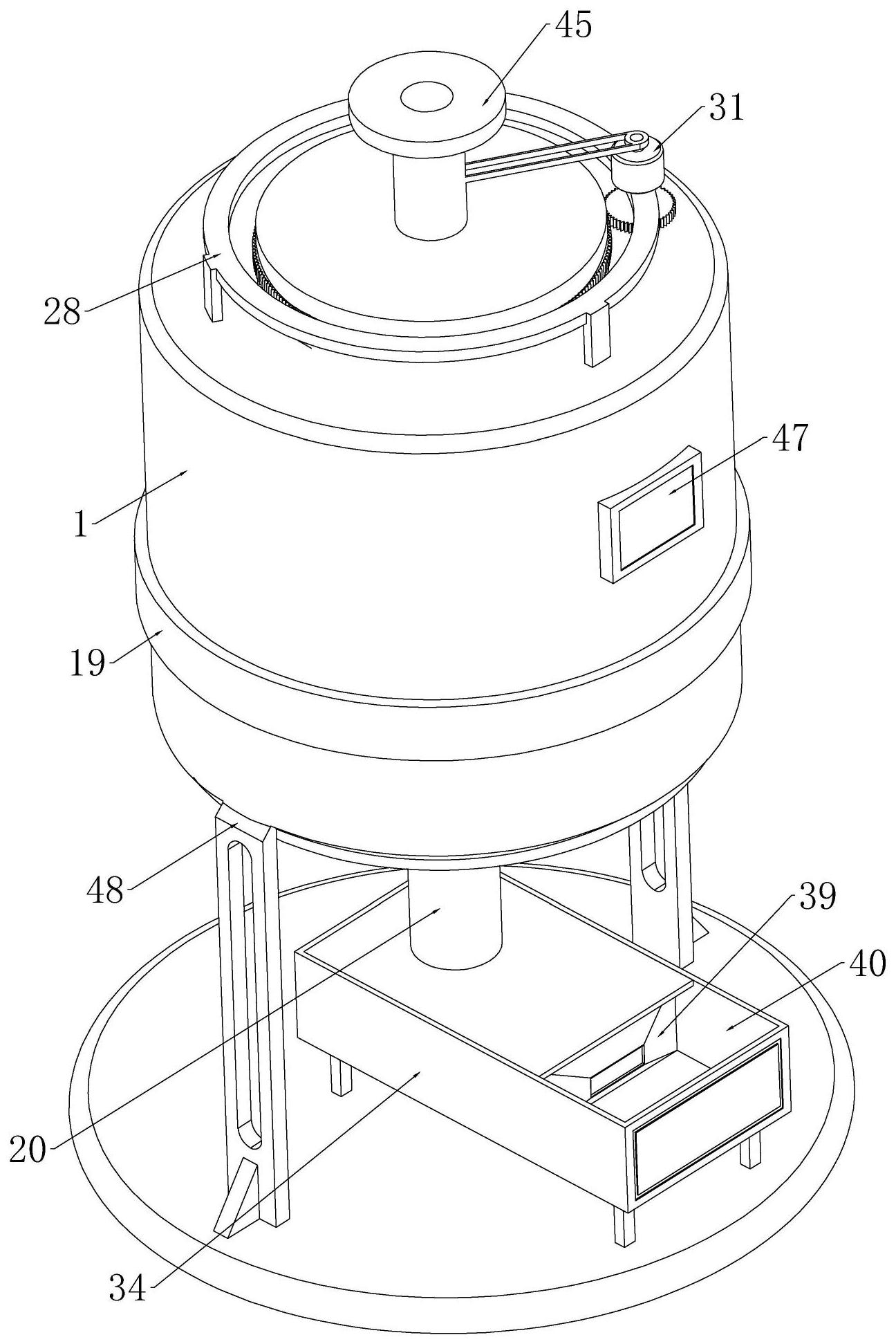
1.一種具有壓縮污泥功能的污水處理設備,包括污水處理箱(1),其特征在于,所述污水處理箱(1)內設有凈化筒(2),所述凈化筒(2)上轉動連接有往復絲桿(3),所述凈化筒(2)的內壁上固定連接有多個導軌(4),所述往復絲桿(3)上螺紋連接有驅動盤(5),所述驅動盤(5)上固定連接有位于每個導軌(4)內的導桿(6),所述驅動盤(5)上固定連接有多個安裝桿(7),每個所述導桿(6)的外端上分別轉動連接有第一刮板(8),每個所述安裝桿(7)的外端分別轉動連接有第二刮板(9),每個所述第一刮板(8)與對應的第二刮板(9)靠近端之間通過轉軸桿(10)連接,每個所述轉軸桿(10)與驅動盤(5)之間通過第一伸縮桿(11)連接,所述凈化筒(2)的底部內固定連接有安裝架(12),所述往復絲桿(3)的底部轉動連接在安裝架(12)上,所述往復絲桿(3)上固定連接有位于驅動盤(5)上方的分散裝置。
2.根據權利要求1所述的一種具有壓縮污泥功能的污水處理設備,其特征在于,所述污水處理箱(1)的上端固定連接有圓臺(13),所述凈化筒(2)的上端轉動連接在圓臺(13)上,所述凈化筒(2)的下端固定連接有內錐形箱(14),所述凈化筒(2)上均勻開設有第一通孔(15),所述內錐形箱(14)的下端設有污泥輸送裝置。
3.根據權利要求2所述的一種具有壓縮污泥功能的污水處理設備,其特征在于,所述凈化筒(2)的底部與污水處理箱(1)的底部之間固定連接有外錐形箱(16),所述外錐形箱(16)上均勻開設有第二通孔(17),所述污水處理箱(1)上固定連接有位于外錐形箱(16)下方的收集倉(18),所述污水處理箱(1)上設有備用門(19)。
4.根據權利要求2所述的一種具有壓縮污泥功能的污水處理設備,其特征在于,所述輸送裝置包括污泥管(20),所述污泥管(20)固定連接在內錐形箱(14)的下端上,所述往復絲桿(3)的底部固定連接有延長軸(21),所述延長軸(21)的底部固定連接有位于污泥管(20)內的輸送絞龍(22),所述輸送絞龍(22)的下端設有壓縮組件。
5.根據權利要求1所述的一種具有壓縮污泥功能的污水處理設備,其特征在于,所述分散裝置包括固定連接在往復絲桿(3)上的分散盤(23),所述分散盤(23)上均勻固定連接有多個弧形條(24)。
6.根據權利要求3所述的一種具有壓縮污泥功能的污水處理設備,其特征在于,所述污水處理箱(1)的上端內轉動連接有轉動環(25),所述轉動環(25)的下端固定連接有多個清理組件,所述凈化筒(2)上固定連接有同步環(26),所述同步環(26)與轉動環(25)之間通過連接桿(27)固定連接,所述污水處理箱(1)的頂部固定連接有連接架(28),所述連接架(28)與圓臺(13)之間固定連接有固定桿(29),所述圓臺(13)轉動連接有與凈化筒(2)固定連接有齒環(30),所述連接架(28)上固定連接有雙軸電機(31),所述雙軸電機(31)的下端軸上固定連接有與齒環(30)嚙合的固定齒輪(32),所述雙軸電機(31)的上端與往復絲桿(3)之間連接有鏈輪組(33)。
7.根據權利要求4所述的一種具有壓縮污泥功能的污水處理設備,其特征在于,所述壓縮組件分別包括固定連接在污泥管(20)底部的壓縮箱(34),所述壓縮箱(34)內滑動連接有推動板(35),所述推動板(35)上固定連接有伸縮桿(36),所述污泥管(20)的底部轉動連接有閉合蓋(37),所述推動板(35)上固定連接有活動桿(38),所述壓縮箱(34)內固定連接有收縮盒(39),所述壓縮箱(34)上開設有取放口(40)。
8.根據權利要求6所述的一種具有壓縮污泥功能的污水處理設備,其特征在于,每個所述清理組件分別包括固定連接在轉動環(25)上的豎板(41),每個所述豎板(41)上分別固定連接有圓桿(42),每個所述圓桿(42)上分別滑動連接有清理板(43),每個所述豎板(41)的下端分別固定連接有清理刷(44)。
9.根據權利要求3所述的一種具有壓縮污泥功能的污水處理設備,其特征在于,所述污水處理箱(1)的上端固定連接有進水管(45),所述收集倉(18)的下端固定連接有排水管(46)。
10.根據權利要1求所述的一種具有壓縮污泥功能的污水處理設備,其特征在于,所述污水處理箱(1)的外表面上設有控制器(47),所述污水處理箱(1)的下端固定連接有穩定架(48)。
發明內容
為了解決上述問題,本發明提供了一種具有壓縮污泥功能的污水處理設備,有效解決了背景技術中提到的問題。
為實現上述目的,本發明采取的技術方案為:
一種具有壓縮污泥功能的污水處理設備,包括污水處理箱,所述污水處理箱內設有凈化筒,所述凈化筒上轉動連接有往復絲桿,所述凈化筒的內壁上固定連接有多個導軌,所述往復絲桿上螺紋連接有驅動盤,所述驅動盤上固定連接有位于每個導軌內的導桿,所述驅動盤上固定連接有多個安裝桿,每個所述導桿的外端上分別轉動連接有第一刮板,每個所述安裝桿的外端分別轉動連接有第二刮板,每個所述第一刮板與對應的第二刮板靠近端之間通過轉軸桿連接,每個所述轉軸桿與驅動盤之間通過第一伸縮桿連接,所述凈化筒的底部內固定連接有安裝架,所述往復絲桿的底部轉動連接在安裝架上,所述往復絲桿上固定連接有位于驅動盤上方的分散裝置。
優選的、所述污水處理箱的上端固定連接有圓臺,所述凈化筒的上端轉動連接在圓臺上,所述凈化筒的下端固定連接有內錐形箱,所述凈化筒上均勻開設有第一通孔,所述內錐形箱的下端設有污泥輸送裝置。
優選的、所述凈化筒的底部與污水處理箱的底部之間固定連接有外錐形箱,所述外錐形箱上均勻開設有第二通孔,所述污水處理箱上固定連接有位于外錐形箱下方的收集倉,所述污水處理箱上設有備用門。
優選的、所述輸送裝置包括污泥管,所述污泥管固定連接在內錐形箱的下端上,所述往復絲桿的底部固定連接有延長軸,所述延長軸的底部固定連接有位于污泥管內的輸送絞龍,所述輸送絞龍的下端設有壓縮組件。
優選的、所述分散裝置包括固定連接在往復絲桿上的分散盤,所述分散盤上均勻固定連接有多個弧形條。
優選的、所述污水處理箱的上端內轉動連接有轉動環,所述轉動環的下端固定連接有多個清理組件,所述凈化筒上固定連接有同步環,所述同步環與轉動環之間通過連接桿固定連接,所述污水處理箱的頂部固定連接有連接架,所述連接架與圓臺之間固定連接有固定桿,所述圓臺轉動連接有與凈化筒固定連接有齒環,所述連接架上固定連接有雙軸電機,所述雙軸電機的下端軸上固定連接有與齒環嚙合的固定齒輪,所述雙軸電機的上端與往復絲桿之間連接有鏈輪組。
優選的、所述壓縮組件分別包括固定連接在污泥管底部的壓縮箱,所述壓縮箱內滑動連接有推動板,所述推動板上固定連接有伸縮桿,所述污泥管的底部轉動連接有閉合蓋,所述推動板上固定連接有活動桿,所述壓縮箱內固定連接有收縮盒,所述壓縮箱上開設有取放口。
優選的、每個所述清理組件分別包括固定連接在轉動環上的豎板,每個所述豎板上分別固定連接有圓桿,每個所述圓桿上分別滑動連接有清理板,每個所述豎板的下端分別固定連接有清理刷。
優選的、所述污水處理箱的上端固定連接有進水管,所述收集倉的下端固定連接有排水管。
優選的、所述污水處理箱的外表面上設有控制器,所述污水處理箱的下端固定連接有穩定架。
本發明的有益效果為:
1、本發明在使用時,第一刮板與第二刮板可以對凈化筒清理的更加徹底,避免污泥對第一通孔堵塞,當不需要對凈化筒進行清理時,只需控制第一伸縮桿收縮,使第一刮板與第二刮板與凈化筒內壁脫離接觸即可,這樣實現了污水和污泥的快速分離,避免直接排放到河道內,造成河道堵塞和污染。
2、本發明在使用時,分散盤和弧形條的轉動可以把污水甩到凈化筒的內壁上,同時也可以對污水中的大顆粒雜質進行打碎,避免大顆粒堵塞第一通孔。
3、本發明在使用時,從污泥管下落的污泥進入到壓縮箱內收集,伸縮桿通過推動板推著污泥移動到壓縮箱的前端內進行壓縮,壓縮后的污泥更容易清理。
4、本發明在使用時,豎桿帶著清理板帶著轉動,實現對污水處理箱的內壁進行清理,同時的緩沖彈簧收縮可以起到收縮作用,可以避免清理板的損壞,提高了清理板的使用壽命,也可以避免污水處理箱內壁上殘留雜質腐蝕內壁,影響其使用。
(發明人:張兵兵;朱學紅;何江華;王冰;李婉茹;劉偉華)






