公布日:2023.11.14
申請日:2023.07.22
分類號:C02F1/52(2023.01)I;B01D29/03(2006.01)I;B01F27/70(2022.01)I;B01F35/80(2022.01)I;B01F35/75(2022.01)I
摘要
本發明公開了一種污水凈化箱,屬于污水處理領域,包括凈化殼,凈化殼的上端連通設有輸入管,凈化殼的下端開設有輸出管,凈化殼的外表面上側連通設有防護外殼一,防護外殼一的下側設置有防護外殼二,防護外殼二的下側設置有矩形殼,防護外殼二、矩形殼均與凈化殼相互連通,矩形殼的下端面四角處均固定安裝有支撐腿,凈化殼的外表面后側固定安裝有支撐架,支撐架的內部設置有傳動機構。本方案通過設置傳動機構,利用一組電機,驅動傳動機構進行轉動,從而對污水定量機構、絮凝劑定量機構、攪拌機構、過濾機構與卸料機構進行傳動,從而完成對污水的定量精細化處理,提高污水的處理效果,從而達到降本增效的目的。

權利要求書
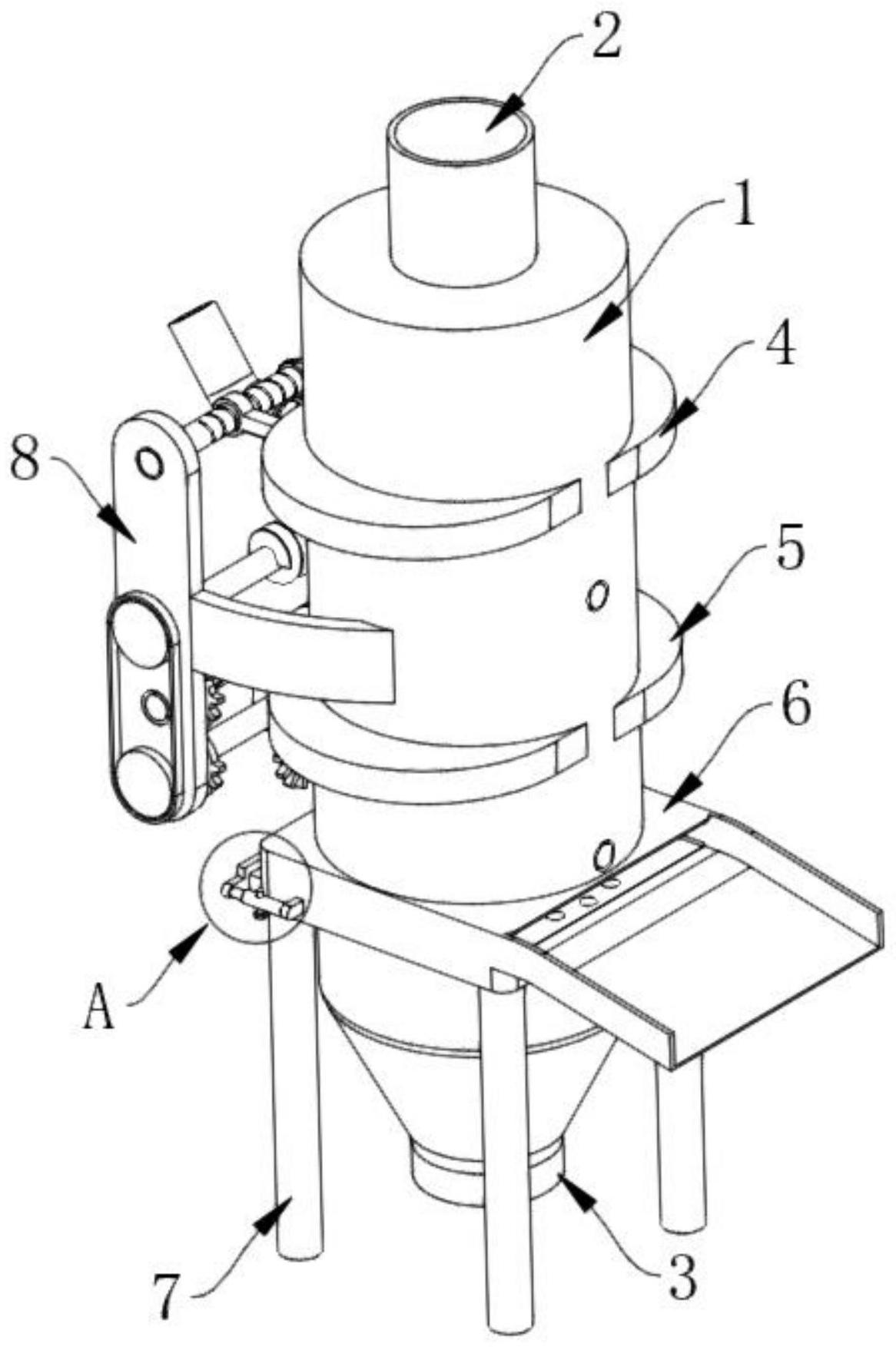
1.一種污水凈化箱,包括凈化殼(1),所述凈化殼(1)的上端連通設有輸入管(2),所述凈化殼(1)的下端開設有輸出管(3),其特征在于:所述凈化殼(1)的外表面從上到下依次連通設有防護外殼一(4)、防護外殼二(5)與矩形殼(6),所述矩形殼(6)的下端面四角處均固定安裝有支撐腿(7),所述凈化殼(1)的外表面后側固定安裝有支撐架(8),所述支撐架(8)的內部設置有傳動機構,所述凈化殼(1)的內部設置有污水定量機構,所述污水定量機構的內部設置有攪拌機構,所述攪拌機構的內部設置有絮凝劑定量機構,所述污水定量機構的下側設置有過濾機構,所述過濾機構的上側設置有卸料機構,所述支撐架(8)的內部右端面下側固定安裝有電機(9),所述電機(9)的左側設置有輸出軸,所述輸出軸的左端固定安裝有轉軸一(10)所述傳動機構利用電機(8)為動力源,分別對污水定量機構、絮凝劑定量機構、攪拌機構、過濾機構與卸料機構進行傳動,污水定量機構則對污水進行定量處理,隨后通過絮凝劑定量機構添加等比例的絮凝劑后,在由攪拌機構進行充分混合處理,經過濾機構過濾后排出設備,截留下來的殘渣則通過卸料機構排出設備。
2.根據權利要求1所述的一種污水凈化箱,其特征在于:所述傳動機構包括轉軸一(10)的上側設置的往復絲桿一(11),所述往復絲桿一(11)與支撐架(8)轉動連接,所述轉軸一(10)的外表面右側固定安裝有不完全齒輪一(12),所述往復絲桿一(11)的外表面右側固定安裝有傳動齒輪一(13),所述傳動齒輪一(13)與不完全齒輪一(12)相互嚙合,所述往復絲桿一(11)的上側設置有轉軸二(14),所述支撐架(8)的左側設置有傳動輪一(15)與傳動輪二(16),所述傳動輪一(15)設置在傳動輪二(16)的下側,所述轉軸一(10)貫穿支撐架(8)并延伸至左側與傳動輪一(15)固定連接,所述轉軸二(14)貫穿支撐架(8)并延伸至左側與傳動輪二(16)固定連接,所述傳動輪一(15)與傳動輪二(16)的外側設置有皮帶(17),并通過皮帶(17)傳動連接。
3.根據權利要求2所述的一種污水凈化箱,其特征在于:所述支撐架(8)的內部上側轉動連接有往復絲桿二(22),所述支撐架(8)的右側設置有傳動齒輪二(18),所述傳動齒輪二(18)的上側設置有轉軸三(19),所述轉軸三(19)與支撐架(8)轉動連接,所述轉軸二(14)的右端貫穿支撐架(8)并延伸至外側與傳動齒輪二(18)固定連接,所述轉軸三(19)的外表面固定安裝有傳動齒輪三(20),所述傳動齒輪二(18)與傳動齒輪三(20)相互嚙合,所述轉軸三(19)的上側設置有傳動齒輪四(23),所述往復絲桿二(22)的右端貫穿支撐架(8)并延伸至外側與傳動齒輪四(23)固定連接,所述轉軸三(19)的右端固定安裝有不完全齒輪二(21),所述不完全齒輪二(21)與傳動齒輪四(23)相互嚙合。
4.根據權利要求3所述的一種污水凈化箱,其特征在于:所述污水定量機構包括往復絲桿二(22)的外表面右側螺旋傳動連接的螺紋套一(24),所述防護外殼一(4)的內部右側滑動連接有閘門一(25),所述閘門一(25)與螺紋套一(24)固定連接,所述往復絲桿二(22)的外表面左側螺旋傳動連接有螺紋套二(26),所述防護外殼一(4)的內部左側滑動連接有閘門二(27),所述閘門二(27)與螺紋套二(26)固定連接。
5.根據權利要求4所述的一種污水凈化箱,其特征在于:所述污水定量機構還包括往復絲桿一(11)的外表面右側螺旋傳動連接的螺紋套三(28),所述防護外殼二(5)的內部右側滑動連接有閘門三(29),所述閘門三(29)與螺紋套三(28)固定連接,所述往復絲桿一(11)的外表面左側螺旋傳動連接有螺紋套四(30),所述防護外殼二(5)的內部左側滑動連接有閘門四(31),所述閘門四(31)與螺紋套四(30)固定連接。
6.根據權利要求5所述的一種污水凈化箱,其特征在于:所述攪拌機構包括轉軸二(14)的外表面中部固定安裝的蝸桿一(32),所述蝸桿一(32)的上側嚙合傳動有傳動齒輪五(34),所述傳動齒輪五(34)的前端面固定安裝有轉軸四(33),所述轉軸四(33)貫穿凈化殼(1)并延伸至內部與凈化殼(1)的內壁轉動連接,所述轉軸四(33)的外表面固定安裝有多組攪拌桿(35),多組所述攪拌桿(35)均設置在凈化殼(1)的內部,并位于污水定量機構的內部。
7.根據權利要求6所述的一種污水凈化箱,其特征在于:所述絮凝劑定量機構包括凈化殼(1)的外表面上側后端連通設有的進料管(36),所述往復絲桿二(22)的外表面中部固定安裝有不完全齒輪三(37),所述進料管(36)的下側內壁開設有滑槽(38),所述滑槽(38)的內部滑動連接有滑桿(39),所述進料管(36)的外表面套設有滑環(44),所述滑環(44)與滑桿(39)固定連接,所述滑環(44)的后端面與凈化殼(1)之間固定安裝有彈簧(40),所述滑桿(39)的前端固定安裝有封堵塊(41),所述進料管(36)的內壁對應封堵塊(41)固定安裝有封閉環(42),所述滑環(44)的外表面上側固定安裝有齒條(43),所述齒條(43)與不完全齒輪相互嚙合。
8.根據權利要求7所述的一種污水凈化箱,其特征在于:所述過濾機構包括矩形殼(6)的后端面開設的槽口(45),所述矩形殼(6)的內部滑動連接有過濾板(46),所述槽口(45)的后側設置有密封板(47),所述過濾板(46)貫穿槽口(45)與密封板(47)固定連接,所述密封板(47)的后端面固定安裝有把手(48)。
9.根據權利要求8所述的一種污水凈化箱,其特征在于:所述密封板(47)的左端與右端均固定安裝有支撐板一(49),所述支撐板一(49)的前端面固定安裝有固定柱(50),所述矩形殼(6)的左端與右端對應支撐板一(49)固定安裝有支撐板二(51),所述支撐板二(51)的后端固定安裝有固定套(52),所述固定柱(50)承插在固定套(52)的內部,所述固定套(52)的外表面螺旋傳動連接有螺栓(53),所述固定柱(50)與固定套(52)之間通過螺栓(53)進行固定連接。
10.根據權利要求9所述的一種污水凈化箱,其特征在于:所述卸料機構包括轉軸一(10)的外表面中部固定安裝的蝸桿二(57),所述蝸桿二(57)的下側嚙合傳動有傳動齒輪六(56),所述傳動齒輪六(56)的前端固定安裝有往復絲桿三(55),所述往復絲桿三(55)貫穿凈化殼(1)并延伸至內部與凈化殼(1)的內壁轉動連接,所述過濾板(46)的上側緊貼設置有刮板(58),所述刮板(58)與往復絲桿三(55)螺旋傳動連接,所述矩形殼(6)的前端面連通設有出料口(54)。
發明內容
針對現有技術中存在的問題,本發明的目的在于提供一種污水凈化箱,可以實現對污水絮凝劑的投放比例達到精準控制,從而提升污水處理效果。
為解決上述問題,本發明采用如下的技術方案。
一種污水凈化箱,包括凈化殼,所述凈化殼的上端連通設有輸入管,所述凈化殼的下端開設有輸出管,所述凈化殼的外表面從上到下依次連通設有防護外殼一、防護外殼二與矩形殼,所述矩形殼的下端面四角處均固定安裝有支撐腿,所述凈化殼的外表面后側固定安裝有支撐架,所述支撐架的內部設置有傳動機構,所述凈化殼的內部設置有污水定量機構,所述污水定量機構的內部設置有攪拌機構,所述攪拌機構的內部設置有絮凝劑定量機構,所述污水定量機構的下側設置有過濾機構,所述過濾機構的上側設置有卸料機構,所述支撐架的內部右端面下側固定安裝有電機,所述電機的左側設置有輸出軸,所述輸出軸的左端固定安裝有轉軸一所述傳動機構利用電機為動力源,分別對污水定量機構、絮凝劑定量機構、攪拌機構、過濾機構與卸料機構進行傳動,污水定量機構則對污水進行定量處理,隨后通過絮凝劑定量機構添加等比例的絮凝劑后,在由攪拌機構進行充分混合處理,經過濾機構過濾后排出設備,截留下來的殘渣則通過卸料機構排出設備。
進一步的,所述傳動機構包括轉軸一的上側設置的往復絲桿一,所述往復絲桿一與支撐架轉動連接,所述轉軸一的外表面右側固定安裝有不完全齒輪一,所述往復絲桿一的外表面右側固定安裝有傳動齒輪一,所述傳動齒輪一與不完全齒輪一相互嚙合,所述往復絲桿一的上側設置有轉軸二,所述支撐架的左側設置有傳動輪一與傳動輪二,所述傳動輪一設置在傳動輪二的下側,所述轉軸一貫穿支撐架并延伸至左側與傳動輪一固定連接,所述轉軸二貫穿支撐架并延伸至左側與傳動輪二固定連接,所述傳動輪一與傳動輪二的外側設置有皮帶,并通過皮帶傳動連接。
進一步的,所述支撐架的內部上側轉動連接有往復絲桿二,所述支撐架的右側設置有傳動齒輪二,所述傳動齒輪二的上側設置有轉軸三,所述轉軸三與支撐架轉動連接,所述轉軸二的右端貫穿支撐架并延伸至外側與傳動齒輪二固定連接,所述轉軸三的外表面固定安裝有傳動齒輪三,所述傳動齒輪二與傳動齒輪三相互嚙合,所述轉軸三的上側設置有傳動齒輪四,所述往復絲桿二的右端貫穿支撐架并延伸至外側與傳動齒輪四固定連接,所述轉軸三的右端固定安裝有不完全齒輪二,所述不完全齒輪二與傳動齒輪四相互嚙合。
進一步的,所述污水定量機構包括往復絲桿二的外表面右側螺旋傳動連接的螺紋套一,所述防護外殼一的內部右側滑動連接有閘門一,所述閘門一與螺紋套一固定連接,所述往復絲桿二的外表面左側螺旋傳動連接有螺紋套二,所述防護外殼一的內部左側滑動連接有閘門二,所述閘門二與螺紋套二固定連接。
進一步的,所述污水定量機構還包括往復絲桿一的外表面右側螺旋傳動連接的螺紋套三,所述防護外殼二的內部右側滑動連接有閘門三,所述閘門三與螺紋套三固定連接,所述往復絲桿一的外表面左側螺旋傳動連接有螺紋套四,所述防護外殼二的內部左側滑動連接有閘門四,所述閘門四與螺紋套四固定連接。
進一步的,所述攪拌機構包括轉軸二的外表面中部固定安裝的蝸桿一,所述蝸桿一的上側嚙合傳動有傳動齒輪五,所述傳動齒輪五的前端面固定安裝有轉軸四,所述轉軸四貫穿凈化殼并延伸至內部與凈化殼的內壁轉動連接,所述轉軸四的外表面固定安裝有多組攪拌桿,多組所述攪拌桿均設置在凈化殼的內部,并位于污水定量機構的內部。
進一步的,所述絮凝劑定量機構包括凈化殼的外表面上側后端連通設有的進料管,所述往復絲桿二的外表面中部固定安裝有不完全齒輪三,所述進料管的下側內壁開設有滑槽,所述滑槽的內部滑動連接有滑桿,所述進料管的外表面套設有滑環,所述滑環與滑桿固定連接,所述滑環的后端面與凈化殼之間固定安裝有彈簧,所述滑桿的前端固定安裝有封堵塊,所述進料管的內壁對應封堵塊固定安裝有封閉環,所述滑環的外表面上側固定安裝有齒條,所述齒條與不完全齒輪相互嚙合。
進一步的,所述過濾機構包括矩形殼的后端面開設的槽口,所述矩形殼的內部滑動連接有過濾板,所述槽口的后側設置有密封板,所述過濾板貫穿槽口與密封板固定連接,所述密封板的后端面固定安裝有把手。
進一步的,所述密封板的左端與右端均固定安裝有支撐板一,所述支撐板一的前端面固定安裝有固定柱,所述矩形殼的左端與右端對應支撐板一固定安裝有支撐板二,所述支撐板二的后端固定安裝有固定套,所述固定柱承插在固定套的內部,所述固定套的外表面螺旋傳動連接有螺栓,所述固定柱與固定套之間通過螺栓進行固定連接。
進一步的,所述卸料機構包括轉軸一的外表面中部固定安裝的蝸桿二,所述蝸桿二的下側嚙合傳動有傳動齒輪六,所述傳動齒輪六的前端固定安裝有往復絲桿三,所述往復絲桿三貫穿凈化殼并延伸至內部與凈化殼的內壁轉動連接,所述過濾板的上側緊貼設置有刮板,所述刮板與往復絲桿三螺旋傳動連接,所述矩形殼的前端面連通設有出料口。
相比于現有技術,本發明的有益效果:
(1)本方案通過設置傳動機構,利用一組電機,驅動傳動機構進行轉動,從而對污水定量機構、絮凝劑定量機構、攪拌機構、過濾機構與卸料機構進行傳動,從而完成對污水的定量精細化處理,提高污水的處理效果,從而達到降本增效的目的;
(2)本方案通過設置污水定量機構與絮凝劑定量機構,通過對污水與絮凝劑進行定量投放控制,使得單位的污水與適量的絮凝劑進行充分融合,從而使得污水的絮凝效果達到最佳,相對提升了污水的凈化效果;
(3)本方案通過設置攪拌機構,利用傳動機構的傳動,使得攪拌機構進行持續運作,對污水與絮凝劑進行攪拌,加快絮凝劑與污水的融合效率的同時提升絮凝劑的效果;
(4)本方案通過設置過濾機構與卸料機構,利用過濾板對污水進行過濾處理,使得絮凝劑產生的濾渣進行截留,并通過卸料機構,排出設備的外部,其次對過濾板進行便攜設置,便于拆卸與安裝,相對提升了設備的實用性。
(發明人:屈松林;高浩然)






