公布日:2023.01.31
申請日:2022.10.11
分類號:C07C229/22(2006.01)I;C07C227/40(2006.01)I;C02F1/42(2006.01)I;C02F1/66(2006.01)I;C02F101/30(2006.01)N;C02F103/36(2006.01)N
摘要
本發明公開了一種左旋肉堿生產過程廢水中的左旋肉堿回收工藝,涉及左旋肉堿廢水回收工藝領域,針對現有的含左旋肉堿廢水排放造成左旋肉堿資源浪費和環境污染的問題,現提出如下方案,其包括工藝流程,所述工藝流程為采用先樹脂吸附再分離回收的方式,將左旋肉堿進行回收利用,該過程包括以下步驟:S1、將左旋肉堿生產廢水的pH調節至6-7;S2、將樹脂清洗多次后,濕法裝柱轉移至層析柱中,并依次用鹽酸和氫氧化鈉溶液進行活化;S3、將活化后的樹脂清洗多次至中性。本發明結構新穎,該工藝設備和回收工藝方法解決了現有的含左旋肉堿廢水排放造成左旋肉堿資源浪費和環境污染的問題。

權利要求書
1.一種左旋肉堿生產過程廢水中的左旋肉堿回收工藝,其特征在于,包括工藝流程,所述工藝流程為采用先樹脂吸附再分離回收的方式,將左旋肉堿進行回收利用,該過程包括以下步驟:S1、將左旋肉堿生產廢水的pH調節至6-7;S2、將樹脂清洗多次后,濕法裝柱轉移至層析柱中,并依次用鹽酸和氫氧化鈉溶液進行活化;S3、將活化后的樹脂清洗多次至中性;S4、將左旋肉堿生產廢水用樹脂進行吸附;S5、對吸附左旋肉堿后的樹脂進行解析,將左旋肉堿從樹脂中分離出來并回收利用。
2.根據權利要求1所述的一種左旋肉堿生產過程廢水中的左旋肉堿回收工藝,其特征在于,所用樹脂為大孔陽離子交換樹脂,且樹脂活化所用鹽酸溶液質量分數為2-4%,氫氧化鈉溶液質量分數為2-4%。
3.根據權利要求1所述的一種左旋肉堿生產過程廢水中的左旋肉堿回收工藝,其特征在于,樹脂活化所用鹽酸與氫氧化鈉溶液的體積與樹脂體積比為2:1,樹脂吸附過程中流速控制在每小時流過層析柱的水樣體積為樹脂體積的2-4倍,樹脂解析所用溶液為氫氧化鈉或氨水。
4.根據權利要求1所述的一種左旋肉堿生產過程廢水中的左旋肉堿回收工藝,其特征在于,左旋肉堿解析后的流出液,可再加入左旋肉堿生產工藝中回收利用。
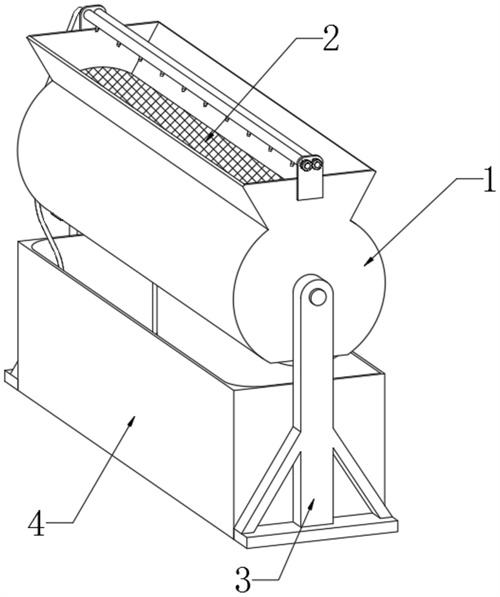
5.根據權利要求1所述的一種左旋肉堿生產過程廢水中的左旋肉堿回收工藝,其特征在于,還包括工藝設備,所述工藝設備包括網籠機構(2)和噴淋機構;所述網籠機構(2):內套管(201)的兩端固定連接有擋板(202),且所述擋板(202)之間固定連接有管狀金屬網板(204),所述金屬網板(204)、內套管(201)和擋板(202)之間填充有樹脂顆粒,所述網籠機構(2)外套接有導流殼(1),所述導流殼(1)的兩端均固定設置有支架(3),且所述網籠機構(2)兩端的擋板(202)通過短軸與導流殼(1)、支架(3)轉動連接;所述噴淋機構:兩組支架(3)之間位于導流殼(1)底端處設置有廢液箱(4),且所述廢液箱(4)內設置有第二水泵(5),所述第二水泵(5)的排水口連接有軟管(504),且所述軟管(504)的末端連接有噴淋管(501),所述噴淋管(501)的外壁設置有多組噴頭(502),且所述噴淋管(501)的兩端通過固定板(503)與導流殼(1)連接,廢液通過第二水泵(5)泵入噴淋管(501),通過噴頭(502)向網籠機構(2)內的樹脂噴淋。
6.根據權利要求5所述的一種左旋肉堿生產過程廢水中的左旋肉堿回收工藝,其特征在于,所述導流殼(1)的頂端呈V形開設有槽口,且所述網籠機構(2)的底端貫穿導流殼(1)。
7.根據權利要求5所述的一種左旋肉堿生產過程廢水中的左旋肉堿回收工藝,其特征在于,所述蓋板(205)與金屬網板(204)材料相同,且所述蓋板(205)的兩端設置有固定耳(206),且所述固定耳(206)與擋板(202)之間通過螺絲(207)緊固,所述擋板(202)之間固定連接有支撐桿(203),且所述支撐桿(203)關于網籠機構(2)呈環形陣列分布。
8.根據權利要求5所述的一種左旋肉堿生產過程廢水中的左旋肉堿回收工藝,其特征在于,所述廢液箱(4)內的三個拐角處均呈圓角(401)設置,所述廢液箱(4)位于直角拐角處設置有第一水泵(402),所述第一水泵(402)驅動廢液箱(4)內廢液保持循環流動狀態。
9.根據權利要求5所述的一種左旋肉堿生產過程廢水中的左旋肉堿回收工藝,其特征在于,所述噴淋管(501)的兩端與固定板(503)轉動插接,且所述噴淋管(501)的一端螺紋連接有螺母(505)夾緊固定板(503),固定噴淋管(501)和噴頭(502)的噴淋角度。
10.根據權利要求5所述的一種左旋肉堿生產過程廢水中的左旋肉堿回收工藝,其特征在于,所述支架(3)的頂端設置有電機(208),且所述電機(208)輸出軸與網籠機構(2)共軸連接。
發明內容
本發明提出的一種左旋肉堿生產過程廢水中的左旋肉堿回收工藝,解決了現有的含左旋肉堿廢水排放造成左旋肉堿資源浪費和環境污染的問題。
為了實現上述目的,本發明采用了如下技術方案:
一種左旋肉堿生產過程廢水中的左旋肉堿回收工藝,包括工藝流程,所述工藝流程為采用先樹脂吸附再分離回收的方式,將左旋肉堿進行回收利用,該過程包括以下步驟:
S1、將左旋肉堿生產廢水的pH調節至6-7;
S2、將樹脂清洗多次后,濕法裝柱轉移至層析柱中,并依次用鹽酸和氫氧化鈉溶液進行活化;
S3、將活化后的樹脂清洗多次至中性;
S4、將左旋肉堿生產廢水用樹脂進行吸附;
S5、對吸附左旋肉堿后的樹脂進行解析,將左旋肉堿從樹脂中分離出來并回收利用。
作為本發明一種優選的技術方案,所用樹脂為大孔陽離子交換樹脂,且樹脂活化所用鹽酸溶液質量分數為2-4%,氫氧化鈉溶液質量分數為2-4%。
作為本發明一種優選的技術方案,樹脂活化所用鹽酸與氫氧化鈉溶液的體積與樹脂體積比為2:1,樹脂吸附過程中流速控制在每小時流過層析柱的水樣體積為樹脂體積的2-4倍,樹脂解析所用溶液為氫氧化鈉或氨水。
作為本發明一種優選的技術方案,左旋肉堿解析后的流出液,可再加入左旋肉堿生產工藝中回收利用。
作為本發明一種優選的技術方案,還包括工藝設備,所述工藝設備包括網籠機構和噴淋機構;
所述網籠機構:內套管的兩端固定連接有擋板,且所述擋板之間固定連接有管狀金屬網板,所述金屬網板、內套管和擋板之間填充有樹脂顆粒,所述網籠機構外套接有導流殼,所述導流殼的兩端均固定設置有支架,且所述網籠機構兩端的擋板通過短軸與導流殼、支架轉動連接;
所述噴淋機構:兩組支架之間位于導流殼底端處設置有廢液箱,且所述廢液箱內設置有第二水泵,所述第二水泵的排水口連接有軟管,且所述軟管的末端連接有噴淋管,所述噴淋管的外壁設置有多組噴頭,且所述噴淋管的兩端通過固定板與導流殼連接,廢液通過第二水泵泵入噴淋管,通過噴頭向網籠機構內的樹脂噴淋。
作為本發明一種優選的技術方案,所述導流殼的頂端呈V形開設有槽口,且所述網籠機構的底端貫穿導流殼。
作為本發明一種優選的技術方案,所述蓋板與金屬網板材料相同,且所述蓋板的兩端設置有固定耳,且所述固定耳與擋板之間通過螺絲緊固,所述擋板之間固定連接有支撐桿,且所述支撐桿關于網籠機構呈環形陣列分布。
作為本發明一種優選的技術方案,所述廢液箱內的三個拐角處均呈圓角設置,所述廢液箱位于直角拐角處設置有第一水泵,所述第一水泵驅動廢液箱內廢液保持循環流動狀態。
作為本發明一種優選的技術方案,所述噴淋管的兩端與固定板轉動插接,且所述噴淋管的一端螺紋連接有螺母夾緊固定板,固定噴淋管和噴頭的噴淋角度。
作為本發明一種優選的技術方案,所述支架的頂端設置有電機,且所述電機輸出軸與網籠機構共軸連接。
本發明的有益效果為:
1、本發明提出的一種左旋肉堿廢水中的左旋肉堿回收工藝,采用色譜分離技術,將樹脂活化后對左旋肉堿生產廢水進行多次吸附,將左旋肉堿吸附至樹脂中,解析后收集流出液,進一步處理后可加入左旋肉堿生產工藝中回收利用,該工藝不僅可降低左旋肉堿生產廢水的COD,還能實現左旋肉堿的回收利用,該工藝操作簡單,成本低,可有效實現左旋肉堿廢水的資源利用;
2、該工藝設備通過第二水泵將廢液通過軟管泵入噴淋管,通過噴頭向下放的網籠機構噴淋,廢水經過網籠機構內的樹脂被吸收掉左旋肉堿成分后流回到廢液箱內,不斷循環,實現對廢液中左旋肉堿的充分回收,且通過電機驅動網籠機構不斷旋轉,使得樹脂顆粒被均勻噴淋上廢液,有助于提高樹脂顆粒吸收左旋肉堿的效率。
綜上所述,該工藝設備和回收工藝方法解決了現有的含左旋肉堿廢水排放造成左旋肉堿資源浪費和環境污染的問題。
(發明人:張芳;畢永銳;黎鋒;蔡耿林;李日魏)






