公布日:2023.11.14
申請日:2023.09.21
分類號:C02F1/44(2023.01)I;C02F1/48(2023.01)I;C02F1/00(2023.01)I;C02F101/20(2006.01)N
摘要
本發明涉及一種污水處理技術領域,尤其涉及一種污水處理用碳化鐵回收裝置。本發明的技術問題是提供一種方便收集污水中碳化鐵的污水處理用碳化鐵回收裝置。本發明提供了這樣一種污水處理用碳化鐵回收裝置,包括有底座、第一固定架、氣缸、搖晃組件,移動架、第一固定塊、第一導向桿、收集框、等;底座左側固定安裝有第一固定架,第一固定架上固定安裝氣缸,底座安裝有搖晃組件,底座頂部的前側和中間均固定安裝有兩個第一固定塊,左側的兩個第一固定塊之間固定安裝有第一導向桿,右側的兩個第一固定塊之間固定安裝有第一導向桿,兩個第一導向桿之間滑動安裝有收集框。本發明通過控制氣缸的上下和收集框的前后,使回收污水中的碳化鐵更加方便。

權利要求書
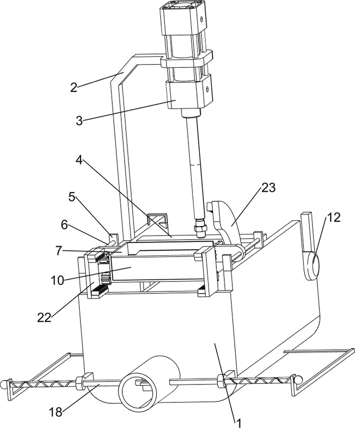
1.一種污水處理用碳化鐵回收裝置,包括有底座(1)、第一固定架(2)、氣缸(3)和搖晃組件(18),搖晃組件(18)用于將底座(1)內部兩側的污水向中間撥動,底座(1)左側固定安裝有第一固定架(2),第一固定架(2)上固定安裝氣缸(3),底座(1)下部左右兩側之間安裝有搖晃組件(18),其特征是,還包括有移動架(4)、第一固定塊(5)、第一導向桿(6)、收集框(7)、第一扭簧(8)、第一轉動板(9)、第二轉動板(10)、隔離膜(11)、第一轉動桿(14)、第二轉動桿(15)、磁吸桿(16)和固定板(17),底座(1)開有凹槽,底座(1)前側設有進水口,底座(1)頂部左右對稱固定安裝有兩個第一固定塊(5),左側的兩個第一固定塊(5)之間固定安裝有第一導向桿(6),右側的兩個第一固定塊(5)之間也固定安裝有第一導向桿(6),兩個第一導向桿(6)之間滑動安裝有收集框(7),收集框(7)開有凹槽,收集框(7)的底部轉動式安裝有第一轉動板(9),收集框(7)的前側轉動式安裝有第二轉動板(10),第一轉動板(9)和第二轉動板(10)均與收集框(7)之間固定安裝有兩個第一扭簧(8),氣缸(3)下部固定安裝有移動架(4),移動架(4)下部固定安裝有六個磁吸桿(16),移動架(4)左右對稱固定安裝有固定板(17),兩個固定板(17)之間轉動安裝有一個第一轉動桿(14)和三個第二轉動桿(15),一個第一轉動桿(14)和三個第二轉動桿(15)之間繞卷有隔離膜(11)。
2.按照權利要求1所述的一種污水處理用碳化鐵回收裝置,其特征是,搖晃組件(18)包括有第三固定架(181)、第一雙向螺紋桿(182)、撥動片(183)、第一連接桿(184)和撥動板(185),底座(1)前部左右對稱固定安裝有第三固定架(181),兩個第三固定架(181)之間轉動安裝有第一雙向螺紋桿(182),第一雙向螺紋桿(182)穿過底座(1)的進水口,第一雙向螺紋桿(182)中間固定安裝有多個撥動片(183),撥動片(183)處于底座(1)的進水口內,第一雙向螺紋桿(182)的左右對稱螺紋式安裝有第一連接桿(184),兩個第一連接桿(184)均穿過底座(1)固定安裝有撥動板(185)。
3.按照權利要求2所述的一種污水處理用碳化鐵回收裝置,其特征是,還包括有電機(12)、第二固定架(13)、第四固定架(191)、第二導向桿(192)、第二固定塊(193)和第一刮板(194),右側的固定板(17)固定安裝有第二固定架(13),第二固定架(13)上固定安裝有電機(12),電機(12)可以在底座(1)開有的凹槽上移動,電機(12)的輸出軸通過聯軸器與第一轉動桿(14)固定連接,電機(12)在底座(1)的凹槽內滑動,右部的固定板(17)前側固定安裝有第四固定架(191),第四固定架(191)上固定安裝有第二導向桿(192),第二導向桿(192)上滑動式安裝有第二固定塊(193),第二固定塊(193)靠近隔離膜(11)的一側固定安裝有第一刮板(194)。
4.按照權利要求3所述的一種污水處理用碳化鐵回收裝置,其特征是,還包括有第五固定架(201)、第二雙向螺紋桿(202)和第一傳動組件(203),右部的固定板(17)前側固定安裝有第五固定架(201),第五固定架(201)位于第四固定架(191)的上方,第五固定架(201)上固定安裝有第二雙向螺紋桿(202),第二雙向螺紋桿(202)與第二固定塊(193)螺紋式連接,第二雙向螺紋桿(202)與第一轉動桿(14)之間安裝有第一傳動組件(203)。
5.按照權利要求4所述的一種污水處理用碳化鐵回收裝置,其特征是,還包括有第六固定架(211)、第二傳動組件(212)、第二連接桿(213)和凸塊(214),右部的固定板(17)前側固定安裝有第六固定架(211),第六固定架(211)位于第四固定架(191)的下方,第六固定架(211)上固定安裝有第二連接桿(213),第二連接桿(213)上固定安裝有凸塊(214),第二連接桿(213)上與第二雙向螺紋桿(202)之間安裝有第二傳動組件(212)。
6.按照權利要求5所述的一種污水處理用碳化鐵回收裝置,其特征是,還包括有第三固定塊(221)、平齒條(222)和平齒輪(223),第一轉動板(9)和第二轉動板(10)均左右對稱固定安裝有平齒輪(223),底座(1)的前部左右對稱固定安裝有第三固定塊(221),兩個第三固定塊(221)的上下對稱均固定安裝有平齒條(222),平齒輪(223)與平齒條(222)嚙合。
7.按照權利要求6所述的一種污水處理用碳化鐵回收裝置,其特征是,還包括有第四固定塊(231)、第三導向桿(232)、弧形齒條(233)、單向螺紋桿(234)、錐齒輪(235)和第二刮板(236),收集框(7)的右側固定安裝有弧形齒條(233),第一轉動板(9)前部左右對稱固定安裝有第四固定塊(231),左側的第四固定塊(231)上固定安裝有第三導向桿(232),第三導向桿(232)上滑動式安裝有第二刮板(236),右側的第四固定塊(231)上轉動式安裝有單向螺紋桿(234),單向螺紋桿(234)與第二刮板(236)螺紋式連接,單向螺紋桿(234)在收集框(7)的凹槽內滑動,單向螺紋桿(234)后側固定安裝有錐齒輪(235),錐齒輪(235)與弧形齒條(233)嚙合。
8.按照權利要求7所述的一種污水處理用碳化鐵回收裝置,其特征是,還包括有解鎖件(241)、第七固定架(242)、過濾框(243)、第二扭簧(244)、限位件(245)和伸縮彈簧(246),底座(1)左部后側固定安裝有解鎖件(241),兩個固定板(17)的底部后側均固定安裝有第七固定架(242),第七固定架(242)上轉動式安裝有過濾框(243),過濾框(243)上開有限位槽,過濾框(243)的與第七固定架(242)之間固定安裝有第二扭簧(244),第七固定架(242)左部下側滑動式安裝有限位件(245),限位件(245)與第七固定架(242)之間固定安裝有伸縮彈簧(246),限位件(245)與解鎖件(241)擠壓配合。
9.按照權利要求8所述的一種污水處理用碳化鐵回收裝置,其特征是,限位槽和限位件(245)均為楔形狀。
10.按照權利要求9所述的一種污水處理用碳化鐵回收裝置,其特征是,平齒條(222)的長度恰好能使錐齒輪(235)在弧形齒條(233)上嚙合到極限位置,錐齒輪(235)在弧形齒條(233)上嚙合到極限位置恰好能使第二刮板(236)向前移動到極限位置,第二刮板(236)向前移動到極限位置與第四固定塊(231)接觸。
發明內容
為了克服人工收集殘余污水溶液中的碳化鐵較為困難的缺點,本發明的技術問題是:提供一種方便收集污水中碳化鐵的污水處理用碳化鐵回收裝置。
本發明的技術實施方案為:調整污水處理用碳化鐵回收裝置,包括有底座、第一固定架、氣缸和搖晃組件,搖晃組件用于將底座內部兩側的污水向中間撥動,底座左側固定安裝有第一固定架,第一固定架上固定安裝氣缸,底座下部左右兩側之間安裝有搖晃組件,還包括有移動架、第一固定塊、第一導向桿、收集框、第一扭簧、第一轉動板、第二轉動板、隔離膜、第一轉動桿、第二轉動桿、磁吸桿和固定板,底座開有凹槽,底座前側設有進水口,底座頂部左右對稱固定安裝有兩個第一固定塊,左側的兩個第一固定塊之間固定安裝有第一導向桿,右側的兩個第一固定塊之間也固定安裝有第一導向桿,兩個第一導向桿之間滑動安裝有收集框,收集框開有凹槽,收集框的底部轉動式安裝有第一轉動板,收集框的前側轉動式安裝有第二轉動板,第一轉動板和第二轉動板均與收集框之間固定安裝有兩個第一扭簧,氣缸下部固定安裝有移動架,移動架下部固定安裝有六個磁吸桿,移動架左右對稱固定安裝有固定板,兩個固定板之間轉動安裝有一個第一轉動桿和三個第二轉動桿,一個第一轉動桿和三個第二轉動桿之間繞卷有隔離膜。
在本發明一個較佳實施例中,搖晃組件包括有第三固定架、第一雙向螺紋桿、撥動片、第一連接桿和撥動板,底座前部左右對稱固定安裝有第三固定架,兩個第三固定架之間轉動安裝有第一雙向螺紋桿,第一雙向螺紋桿穿過底座的進水口,第一雙向螺紋桿中間固定安裝有多個撥動片,撥動片處于底座的進水口內,第一雙向螺紋桿的左右對稱螺紋式安裝有第一連接桿,兩個第一連接桿均穿過底座固定安裝有撥動板。
在本發明一個較佳實施例中,還包括有電機、第二固定架、第四固定架、第二導向桿、第二固定塊和第一刮板,右側的固定板固定安裝有第二固定架,第二固定架上固定安裝有電機,電機可以在底座開有的凹槽上移動,電機的輸出軸通過聯軸器與第一轉動桿固定連接,電機在底座的凹槽內滑動,右部的固定板前側固定安裝有第四固定架,第四固定架上固定安裝有第二導向桿,第二導向桿上滑動式安裝有第二固定塊,第二固定塊靠近隔離膜的一側固定安裝有第一刮板。
在本發明一個較佳實施例中,還包括有第五固定架、第二雙向螺紋桿和第一傳動組件,右部的固定板前側固定安裝有第五固定架,第五固定架位于第四固定架的上方,第五固定架上固定安裝有第二雙向螺紋桿,第二雙向螺紋桿與第二固定塊螺紋式連接,第二雙向螺紋桿與第一轉動桿之間安裝有第一傳動組件。
在本發明一個較佳實施例中,還包括有第六固定架、第二傳動組件、第二連接桿和凸塊,右部的固定板前側固定安裝有第六固定架,第六固定架位于第四固定架的下方,第六固定架上固定安裝有第二連接桿,第二連接桿上固定安裝有凸塊,第二連接桿上與第二雙向螺紋桿之間安裝有第二傳動組件。
在本發明一個較佳實施例中,還包括有第三固定塊、平齒條和平齒輪,第一轉動板和第二轉動板均左右對稱固定安裝有平齒輪,底座的前部左右對稱固定安裝有第三固定塊,兩個第三固定塊的上下對稱均固定安裝有平齒條,平齒輪與平齒條嚙合。
在本發明一個較佳實施例中,還包括有第四固定塊、第三導向桿、弧形齒條、單向螺紋桿、錐齒輪和第二刮板,收集框的右側固定安裝有弧形齒條,第一轉動板前部左右對稱固定安裝有第四固定塊,左側的第四固定塊上固定安裝有第三導向桿,第三導向桿上滑動式安裝有第二刮板,右側的第四固定塊上轉動式安裝有單向螺紋桿,單向螺紋桿與第二刮板螺紋式連接,單向螺紋桿在收集框的凹槽內滑動,單向螺紋桿后側固定安裝有錐齒輪,錐齒輪與弧形齒條嚙合。
在本發明一個較佳實施例中,還包括有解鎖件、第七固定架、過濾框、第二扭簧、限位件和伸縮彈簧,底座左部后側固定安裝有解鎖件,兩個固定板的底部后側均固定安裝有第七固定架,第七固定架上轉動式安裝有過濾框,過濾框上開有限位槽,過濾框的與第七固定架之間固定安裝有第二扭簧,第七固定架左部下側滑動式安裝有限位件,限位件與第七固定架之間固定安裝有伸縮彈簧,限位件與解鎖件擠壓配合。
在本發明一個較佳實施例中,限位槽和限位件均為楔形狀。
在本發明一個較佳實施例中,平齒條的長度恰好能使錐齒輪在弧形齒條上嚙合到極限位置,錐齒輪在弧形齒條上嚙合到極限位置恰好能使第二刮板向前移動到極限位置,第二刮板向前移動到極限位置與第四固定塊接觸。
與現有技術相比,本發明具有以下優點:1、工作人員通過控制氣缸的上下和收集框的前后,可以回收污水水流的碳化鐵,使回收污水中的碳化鐵更加方便,更加便捷。
2、通過污水水流撥動撥動片使撥動板向內外來回移動,撥動板向內外來回移動可以將底座左右兩側的污水水流向中間推攏,使磁吸桿吸附到兩側的碳化鐵。
3、通過控制電機使隔離膜在第一轉動桿和第二轉動桿上移動,使第一刮板能夠將隔離膜上碳化鐵向下刮落至收集框內,已達到將污水水流中碳化鐵更方便的收集到收集框中的效果。
4、通過第一轉動桿轉動使第一刮板左右來回移動,可以使隔離膜上的碳化鐵更好的被向下掛落。
5、通過第二雙向螺紋桿轉動使凸塊轉動不斷地對隔離膜進行敲擊,以將隔離膜上的碳化鐵敲擊震動,可以使隔離膜上的碳化鐵更好的被向下掛落。
6、通過移動收集框使第一轉動板下部向前轉動,第二轉動板的后部向上轉動,使收集框內的碳化鐵可以自動向下移動,已達到更好的回收利用碳化鐵。
7、通過第二轉動板的后部向上轉動使第二刮板沿著第三導向桿向前移動,可以使收集框內碳化鐵碎屑向下刮落。
8、通過移動架向上移動使過濾框貼合隔離膜,使隔離膜上沒有被第一刮板掛落的碳化鐵,再次收集到過濾框中,由此更充分的回收污水中的碳化鐵。
(發明人:章秀兵;劉濤;劉鵬;江亞慧)






