公布日:2023.04.04
申請日:2022.09.27
分類號:C02F1/461(2006.01)I;C02F9/00(2023.01)I;C02F1/52(2006.01)I;C02F1/66(2006.01)I;C02F1/76(2006.01)I;C02F1/28(2006.01)I;C02F103/36(2006.01)N
摘要
一種己內酰胺生產廢水處理工藝,包括以下步驟:步驟一,將己內酰胺廢水分為氨肟廢水及其余己內酰胺廢水;步驟二,在氨肟廢水中加入氧化劑,對氨肟廢水進行氧化處理,將對生化系統有沖擊的有機氧化物轉化對微生物無害的有機物;步驟三,在氧化后的氨肟廢水中加入混凝劑進行沉淀處理并進行過濾,然后送入微電解裝置中進行處理;步驟四,將微電解處理的氨肟廢水與其余己內酰胺廢水混合后送入生化裝置進一步處理;本申請通過限定己內酰胺生產廢水的處理方式,先對氨肟污水進行預處理,再與其他廢水混合后進入生化裝置進行進一步處理,以符合排放標準。

權利要求書
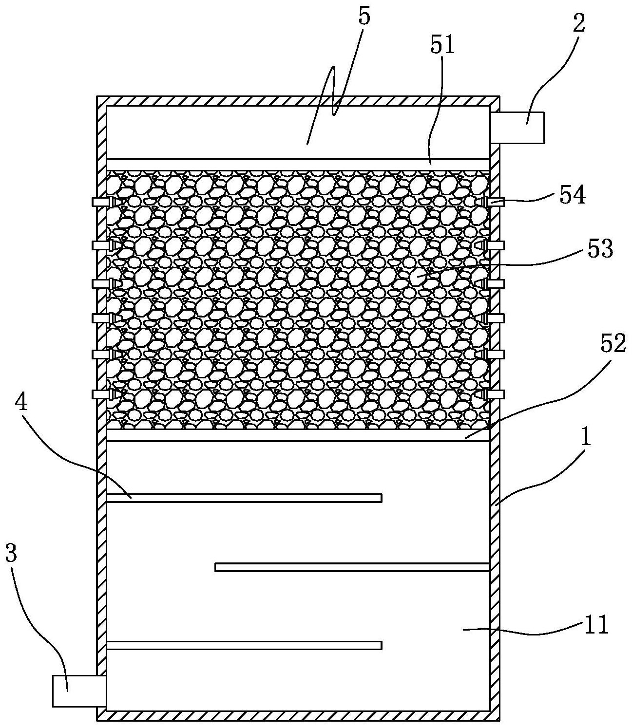
1.一種己內酰胺生產廢水處理工藝,其特征在于:包括以下步驟:步驟一,將己內酰胺廢水分為氨肟廢水及其余己內酰胺廢水;步驟二,在氨肟廢水中加入氧化劑,對氨肟廢水進行氧化處理,將對生化系統有沖擊的有機氧化物轉化對微生物無害的有機物;步驟三,在氧化后的氨肟廢水中加入混凝劑進行沉淀處理并進行過濾,然后送入微電解裝置中進行處理;步驟四,將微電解處理的氨肟廢水與其余己內酰胺廢水混合后送入生化裝置進一步處理;所述微電解裝置包括內部形成有處理腔的殼體、設置在殼體上端與處理腔連通的出水口、設置在殼體下端與處理腔連通的進水口、設置在處理腔中的折流件和設置在處理腔中位于折流件上端的填料機構;所述填料機構包括上下間隔設置在處理腔中的上承接板與下承接板、填充在上承接板與下承接板之間的填料層和設置在處理腔側壁與填料層相對的多個曝氣嘴,填料層包括均勻填充在上承接板與下承接板之間的多個橢圓形填料。
2.根據權利要求1所述的一種己內酰胺生產廢水處理工藝,其特征在于:所述折流件包括上下交錯設置形成折流通道的多個折流板。
3.根據權利要求2所述的一種己內酰胺生產廢水處理工藝,其特征在于:所述填料、折流板、上承接板與下承接板均包括以下重量份的原料:鐵粉60-70份、碳粉18-25份、催化劑4-5份、蛭石粉12-18份、白炭黑3-7份、埃洛石8-15份。
4.根據權利要求3所述的一種己內酰胺生產廢水處理工藝,其特征在于:所述催化劑由氧化鈦、氧化銅、氧化鎳按質量比0.5-0.6:1:0.12-0.18的比例組成。
5.根據權利要求3所述的一種己內酰胺生產廢水處理工藝,其特征在于:所述填料、折流板、上承接板與下承接板的制備方法包括以下步驟:A、將各原料按所需重量份分別稱重、破碎、混合、濕球磨制得漿料;B、利用制得的漿料按填料、折流板、上承接板與下承接板的形狀,制成相應形狀的坯體,然后送入窯爐中燒制成型,燒成具體控制如下:低溫階段:窯爐由常溫升至780-820℃,保溫燒制3-4h;氧化階段:窯爐內繼續升溫至1180-1230℃,保溫燒制5-6h;還原階段:窯爐內氣氛轉換為還原氣氛,控制窯爐內一氧化碳濃度為4.8-5.6%,游離氧的濃度為1.0-1.2%,繼續升溫至1250-1280℃,保溫燒制2-4h,保溫階段:窯爐內繼續保持還原氣氛,保溫燒制1-2h;冷卻階段:窯爐內自然冷卻至室溫,冷卻時間延長至12h以上。
6.根據權利要求1所述的一種己內酰胺生產廢水處理工藝,其特征在于:所述氧化劑為二氧化氯或次氯酸鈉。
7.根據權利要求1所述的一種己內酰胺生產廢水處理工藝,其特征在于:所述氧化劑的加入量為300-400mg/L。
8.根據權利要求1所述的一種己內酰胺生產廢水處理工藝,其特征在于:所述混凝劑為聚合硫酸鐵,加入量為48-65mg/L。
9.根據權利要求1所述的一種己內酰胺生產廢水處理工藝,其特征在于:步驟二中,氧化處理時,加入酸劑將氨肟廢水的pH控制在3-5。
發明內容
本發明的目的是克服現有技術的缺點,提供一種己內酰胺生產廢水處理工藝。
本發明采用如下技術方案:
一種己內酰胺生產廢水處理工藝,包括以下步驟:
步驟一,將己內酰胺廢水分為氨肟廢水及其余己內酰胺廢水;
步驟二,在氨肟廢水中加入氧化劑,對氨肟廢水進行氧化處理,將對生化系統有沖擊的有機氧化物轉化對微生物無害的有機物;
步驟三,在氧化后的氨肟廢水中加入混凝劑進行沉淀處理并進行過濾,然后送入微電解裝置中進行處理;
步驟四,將微電解處理的氨肟廢水與其余己內酰胺廢水混合后送入生化裝置進一步處理;
所述微電解裝置包括內部形成有處理腔的殼體、設置在殼體上端與處理腔連通的出水口、設置在殼體下端與處理腔連通的進水口、設置在處理腔中的折流件和設置在處理腔中位于折流件上端的填料機構;
所述填料機構包括上下間隔設置在處理腔中的上承接板與下承接板、填充在上承接板與下承接板之間的填料層和設置在處理腔側壁與填料層相對的多個曝氣嘴,填料層包括均勻填充在上承接板與下承接板之間的多個橢圓形填料。
優選的,所述折流件包括上下交錯設置形成折流通道的多個折流板。
優選的,所述填料、折流板、上承接板與下承接板均包括以下重量份的原料:鐵粉60-70份、碳粉18-25份、催化劑4-5份、蛭石粉12-18份、白炭黑3-7份、埃洛石8-15份。
優選的,所述催化劑由氧化鈦、氧化銅、氧化鎳按質量比0.5-0.6:1:0.12-0.18的比例組成。
優選的,所述填料、折流板、上承接板與下承接板的制備方法包括以下步驟:
A、將各原料按所需重量份分別稱重、破碎、混合、濕球磨制得漿料;
B、利用制得的漿料按填料、折流板、上承接板與下承接板的形狀,制成相應形狀的坯體,然后送入窯爐中燒制成型,燒成具體控制如下:
低溫階段:窯爐由常溫升至780-820℃,保溫燒制3-4h;
氧化階段:窯爐內繼續升溫至1180-1230℃,保溫燒制5-6h;
還原階段:窯爐內氣氛轉換為還原氣氛,控制窯爐內一氧化碳濃度為4.8-5.6%,游離氧的濃度為1.0-1.2%,繼續升溫至1250-1280℃,保溫燒制2-4h,
保溫階段:窯爐內繼續保持還原氣氛,保溫燒制1-2h;
冷卻階段:窯爐內自然冷卻至室溫,冷卻時間延長至12h以上。
優選的,所述氧化劑為二氧化氯或次氯酸鈉。
優選的,所述氧化劑的加入量為300-400mg/L。
優選的,所述混凝劑為聚合硫酸鐵,加入量為48-65mg/L。
優選的,步驟二中,氧化處理時,加入酸劑將氨肟廢水的pH控制在3-5。
由上述對本發明的描述可知,與現有技術相比,本發明的有益效果是:
第一,本申請通過限定己內酰胺生產廢水的處理方式,先對氨肟污水進行預處理,再與其他廢水混合后進入生化裝置進行進一步處理,以符合排放標準;其中,具體限定了氨肟污水的預處理方式,并進一步限定了微電解處理裝置的結構,在處理腔側壁設置與填料層相對的曝氣嘴,對填料層中的填料進行沖洗,防止填料結塊,提高微電解效率,進而提高氨肟廢水的可生化性,使氨肟廢水達到進入生化裝置進行處理的要求;同時通過限定填料的形狀為橢圓形,提高填料與氨肟廢水的接觸面積,配合多個曝氣嘴,以最大程度提高氨肟廢水的微電解效率;
通過在填料層下方設置折流件,且折流板的制備原料與填料的制備原料一樣,微電解處理時,氨肟廢水經進水口進入處理腔的時候,先經多個折流板緩沖進入的速度,同時折流板也可對氨肟廢水進行處理,再經填料層處理,以最大程度提高氨肟廢水的微電解效率;
限定填料的原料組成及制備工藝,在1180-1230℃的溫度下燒結而成,以提高填料的強度,防止填料在使用過程中分散,減少填料板結及鈍化的現象產生;其中,原料組成中,添加有多孔結構的蛭石粉,與鐵粉、碳粉配合,再配合埃洛石作為粘合劑,白炭黑作為分散劑,使制成的填料內部具備許多細小的孔洞,快速吸附廢水,進而提高反應效率,提高微電解效率。
(發明人:段新付)






