申請日2014.10.28
公開(公告)日2016.06.01
IPC分類號F24F13/22; F24J2/24; F24J2/48
摘要
本發明提供一種可對空調制冷劑進行冷卻的空調冷凝水處理裝置,該裝置包括換熱器、集水箱、太陽能蒸發器、水泵和噴管,所述換熱器設置在空調冷凝器管路上,空調冷凝水的排水管連接該換熱器的冷凝液進口端,該換熱器的冷凝液出口端連接集水箱的進水口,集水箱的出水口通過水泵與太陽能蒸發器的進水端連接,太陽能蒸發器的出水端與噴管連接,所述噴管的噴嘴正對太陽能蒸發器。本發明將冷凝水集中收集,且通過夏天太陽能蒸發器產生高溫,將冷凝水蒸發到空中,不僅環保節能,且還能增加建筑物周圍的濕度,降低建筑物周圍的環境溫度。
權利要求書
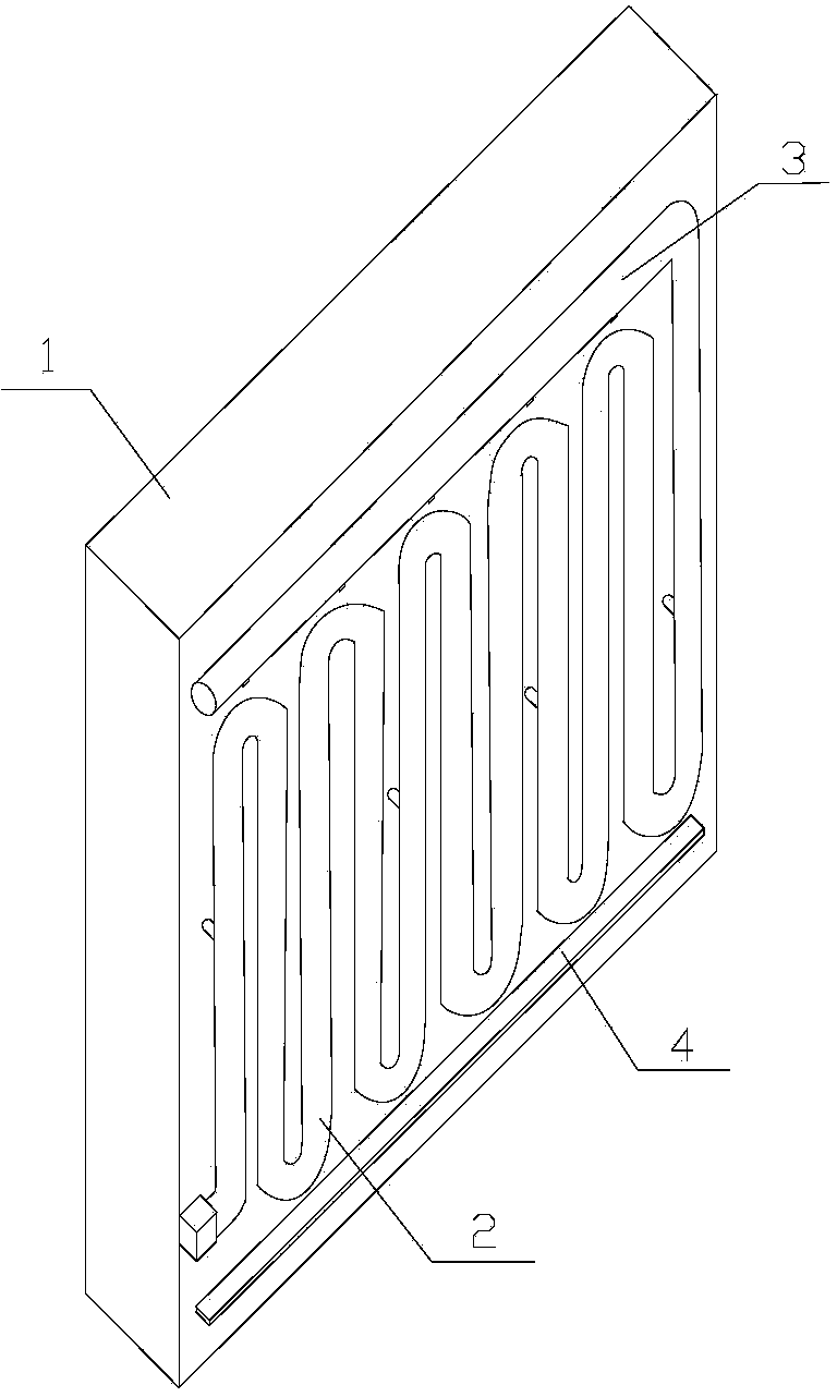
1.一種可對空調制冷劑進行冷卻的空調冷凝水處理裝置,其特征在于,該裝置包括換熱器、集水箱、太陽能蒸發器、水泵和噴管,所述換熱器設置在空調冷凝器管路上,空調冷凝水的排水管連接該換熱器的冷凝液進口端,該換熱器的冷凝液出口端連接集水箱的進水口,集水箱的出水口通過水泵與太陽能蒸發器的進水端連接,太陽能蒸發器的出水端與噴管連接,所述噴管的噴嘴正對太陽能蒸發器。
2.根據權利要求1所述的一種可對空調制冷劑進行冷卻的空調冷凝水處理裝置,其特征在于,所述太陽能蒸發器為管狀結構。
3.根據權利要求2所述的一種可對空調制冷劑進行冷卻的空調冷凝水處理裝置,其特征在于,所述太陽能蒸發器為豎向設置的蛇形排管,所述噴管設置在蛇形排管上方,且噴嘴正對準蛇形排管。
4.根據權利要求3所述的一種可對空調制冷劑進行冷卻的空調冷凝水處理裝置,其特征在于,豎向設置的蛇形排管的彎折延伸方向為水平方向,所述噴管設有多個噴嘴,每個噴嘴對準蛇形排管上方的一個凸起部。
5.根據權利要求1所述的一種可對空調制冷劑進行冷卻的空調冷凝水處理裝置,其特征在于,所述的太陽能蒸發器外表面涂覆有太陽能吸熱涂層。
6.根據權利要求5所述的一種可對空調制冷劑進行冷卻的空調冷凝水處理裝置,其特征在于,所述的太陽能吸熱涂層從內到外依次是紅外反射層、吸熱層和減反射層,其中紅外反射層、吸熱層和減反射層的厚度比為1:3:1.2,所述紅外反射層由內到外依次包括Ni、Cr和Cu三層,其中Ni、Cr和Cu的厚度比為0.8:1:1.5,所述吸熱層由內到外依次包括Mo、Ta和Al2O3三層,其中Mo、Ta和Al2O3的厚度比為0.875:1:1.5,所述減反射層由內到外依次包括TiO2、Si2O3和Al2O3三層,其中TiO2、Si2O3和Al2O3的厚度比為0.8:1:1.7。
7.根據權利要求5所述的一種可對空調制冷劑進行冷卻的空調冷凝水處理裝置,其特征在于,所述的集水箱和噴管中至少一個的外表面涂覆有所述太陽能吸熱涂層。
8.根據權利要求1所述的一種可對空調制冷劑進行冷卻的空調冷凝水處理裝置,其特征在于,所述太陽能蒸發器固定在集水箱的側表面。
說明書
一種可對空調制冷劑進行冷卻的空調冷凝水處理裝置
技術領域
本發明涉及冷凝水處理技術,尤其是涉及一種可對空調制冷劑進行冷卻的空調冷凝水處理裝置。
背景技術
空調設備早已普及于工業、商業或家庭,然而現有的空調機在制冷時,其室內機會有冷凝水排出。為了不影響室內環境,目前常用的方法是采用排水管直接將冷凝水排至室外的下水管道,然而對于比較舊的高層或者小高層建筑,其并沒有設置專門的空調冷凝水排水管道,如果用戶自己再安裝排水管,其不僅大大增加購買成本,同時影響樓外美觀,如果用戶直接將排水管懸空排水,其更是影響環境,甚至造成與樓下鄰居之間的爭吵,即便新修的高層建筑專門設置有空調冷凝水排水管道,其也會大大增加建筑成本。因此,為了解決空調機的冷凝水問題,很多冷氣機的業者都潛心研究冷凝水處理問題,并研發出了一些解決方案,但這些方案基本都需要增加額外的過多能耗,且會產生過多噪音,例如:
ZL200410046327.9公開了一種“空調機冷凝水的處理裝置”,其將冷凝水收集到空調外機的風機處,并利用風機將冷凝水甩出形成更小的水滴,進一步通過風機產生的強大氣流將這些小水滴吹散、無話,并吹向外部空間。這種方案無疑增加了風機的負載,不僅會增加空調電能消耗,還會降低風機使用壽命,而且這種方案還會在空調外機處形成高濕的壞境,造成對空調外機的腐蝕。
ZL200710201697.9公開了“一種家用空調機冷凝水的處理裝置”,其將冷凝水收集起來,并通過噴管噴灑在室外機的冷凝器上,利用冷凝器的高溫,蒸發排出的冷凝水。這種方案更是會直接腐蝕冷凝器,大大縮短冷凝器使用壽命,且一旦冷凝水較多,蒸發不完全,冷凝水進入室外機內部,輕則造成電氣短路,重則引發火災。
ZL200810161877.3公開了一種“空調設備的冷凝水處理裝置”,其利用振蕩多孔片式的霧化器將冷凝水霧化,并供給循環風扇或者冷凝器。這種方案增加了額外設備,會增加額外電能消耗,同時霧化器還會產生高頻噪音。
發明內容
本發明的目的在于:針對現有技術存在的問題,提供一種可對空調制冷劑進行冷卻的空調冷凝水處理裝置,解決現有冷凝水處理裝置不節能的問題,解決現有冷凝水處理裝置會產生噪音的問題,解決現有冷凝水處理裝置會減少空調外機使用壽命的問題。
本發明的發明目的通過以下技術方案來實現:
一種可對空調制冷劑進行冷卻的空調冷凝水處理裝置,其特征在于,該裝置包括換熱器、集水箱、太陽能蒸發器、水泵和噴管,所述換熱器設置在空調冷凝器管路上,空調冷凝水的排水管連接該換熱器的冷凝液進口端,該換熱器的冷凝液出口端連接集水箱的進水口,集水箱的出水口通過水泵與太陽能蒸發器的進水端連接,太陽能蒸發器的出水端與噴管連接,所述噴管的噴嘴正對太陽能蒸發器。
優選的,所述太陽能蒸發器為管狀結構。
優選的,所述太陽能蒸發器為豎向設置的蛇形排管,所述噴管設置在蛇形排管上方,且噴嘴正對準蛇形排管。
優選的,豎向設置的蛇形排管的彎折延伸方向為水平方向,所述噴管設有多個噴嘴,每個噴嘴對準蛇形排管上方的一個凸起部。
優選的,所述的太陽能蒸發器外表面涂覆有太陽能吸熱涂層。
優選的,所述的太陽能吸熱涂層從內到外依次是紅外反射層、吸熱層和減反射層,其中紅外反射層、吸熱層和減反射層的厚度比為1:3:1.2,所述紅外反射層由內到外依次包括Ni、Cr和Cu三層,其中Ni、Cr和Cu的厚度比為0.8:1:1.5,所述吸熱層由內到外依次包括Mo、Ta和Al2O3三層,其中Mo、Ta和Al2O3的厚度比為0.875:1:1.5,所述減反射層由內到外依次包括TiO2、Si2O3和Al2O3三層,其中TiO2、Si2O3和Al2O3的厚度比為0.8:1:1.7。
優選的,所述的集水箱和噴管中至少一個的外表面涂覆有所述太陽能吸熱涂層。
優選的,所述太陽能蒸發器固定在集水箱的側表面。
與現有技術相比,本發明具有以下優點:
1、將冷凝水集中收集,且通過夏天太陽能蒸發器產生高溫,將冷凝水蒸發到空中,不僅環保節能,且還能增加建筑物周圍的濕度,降低建筑物周圍的環境溫度;
2、利用獨特結構的太陽能蒸發器,在冷凝水經過排管內部時,先進行升溫,然后再噴灑到蒸發器表面進行蒸發,不僅可避免蒸發不完全的情況產生,而且還能大大提高蒸發效率;
3、太陽能蒸發器表面涂覆最新研發的吸熱涂層,可大大提高太陽能的轉化率,經測試表面,對太陽光在300~2100nm范圍內的波長吸收率達到0.917,對2100~25000nm波段的紅外熱輻射反射率達到0.028;
4、將太陽能蒸發器和噴管都安裝在集水箱上,且在這些表面也涂覆吸熱涂層,不僅能節約裝置所占空間,而且還能進一步提高太陽能的利用率,加快冷凝水蒸發速度。







