申請日2013.09.18
公開(公告)日2013.12.18
IPC分類號C12M1/00; C02F103/20; C02F3/32; C12N1/12
摘要
本發明涉及一種規模化利用微藻來凈化處理畜禽養殖廢水的裝置及其運用方法,該系統包括畜禽養殖的前處理系統、溫室系統、光生物反應器系統、藻液濃度在線檢測系統、收集系統、水循環系統、溫控系統、采光系統。本發明利用規模化畜禽養殖中產生的廢水經調制后來養殖微藻,大大降低了培養微藻的生產成本,廢液中的氮磷作為微藻培養的營養物質,降低廢水中的各項指標,凈化污水提高水質。
權利要求書
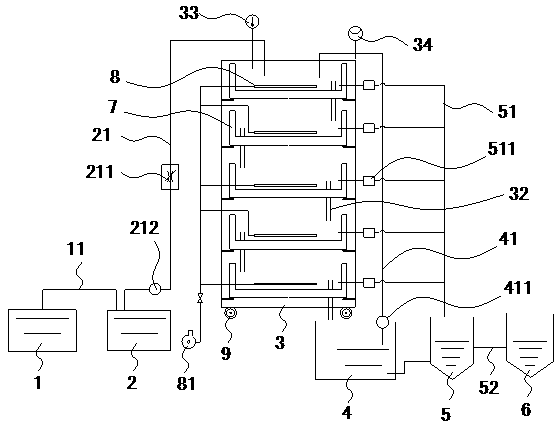
1.一種微藻凈化畜禽養殖廢水裝置,其特征在于,包括沼液池、藻液混合池、光生物反應器、儲液池、用于絮凝處理藻液的收集池以及收集處理后清水的清水池,所述沼液池經沼液管與藻液混合池相連接,所述光生物反應器包括機架,所述機架內設有若干個縱向層疊的平板式反應器,所述最底層平板式反應器上方的平板式反應器底部設有以讓液體由上層平板式反應器向下層平板式反應器流出的溢流管,所述最底層平板式反應器底部溢流管與儲液池相連通,儲液池還設有通向最上層平板式反應器的回液管,所述回液管上設有回液泵,所述藻液混合池設有與最上層平板式反應器相連通的輸液管,所述每層平板式反應器設有與收集池相連通的出液管,所述出液管上設有出液開關,所述收集池經連通管與清水池相連通。
2.根據權利要求1所述的一種微藻凈化畜禽養殖廢水裝置,其特征在于,所述平板式反應器底部設有曝氣管,所述曝氣管經輸氣管與提供氣體的氣泵相連接,所述輸氣管上設有控制氣體流速的氣閥。
3.根據權利要求1所述的一種微藻凈化畜禽養殖廢水裝置,其特征在于,所述機架下方設有輪子,所述機架上設有放置平板式反應器的支撐臺,所述平板式反應器每層間隔40~60cm,最下面一層離地面40~60 cm。
4.根據權利要求2所述的一種微藻凈化畜禽養殖廢水裝置,其特征在于,所述輸液管上設有流量控制閥和輸液泵,所述光生物反應器內設有溫度傳感器,所述回液管上設有流量指示器。
5.根據權利要求1所述的一種微藻凈化畜禽養殖廢水裝置,其特征在于,所述平板式反應器內設有取樣器、檢測器,所述取樣器、檢測器經控制系統與電腦相連接。
6.根據權利要求1所述的一種微藻凈化畜禽養殖廢水裝置,其特征在于,所述光生物反應器置于帶有蓋設有透光薄膜的溫室內。
7.根據權利要求6所述的一種微藻凈化畜禽養殖廢水裝置,其特征在于,所述溫室內設有日光燈和熱電偶溫感儀。
8.一種微藻凈化畜禽養殖廢水方法,包括如權利要求4所述的一種微藻凈化畜禽養殖廢水裝置其特征在于,按照如下步驟:
(1)將微藻藻種接種到裝有培養液的錐形瓶中,放置于搖床上進行培養,錐形瓶中藻液的OD680達到0.6-0.7時,得到了擴種培養后的藻液;
(2)將擴種后的藻液轉接到裝有沼液的沼液混合池中,繼續培養藻液使藻液的OD680達到1.2~1.3;
(3)開啟輸液泵將步驟(2)的藻液輸送至光生物反應器3中進行培養,并通過回液管及回液泵實現藻液循環凈化;
(4)當光生物反應器OD680達到3.0以上時,打開出液開關,藻液流到收集池中,當OD680降到1.2~1.3時,出液開關開關關閉。
9.根據權利要求8所述的一種微藻凈化畜禽養殖廢水方法,其特征在于,所述步驟2中擴種培養后的藻液與沼液體積比為3:7,培養溫度為22~25℃,光照強度為4000-4500lux,光照和黑暗的時間周期為12h:12h。
10.根據權利要求8所述的一種微藻凈化畜禽養殖廢水方法,其特征在于,步驟1中所用的培養液每升中含1,250 mg KNO3, 1,250 mg KH2PO4, 1,000 mg MgSO4·7H2O, 500 mg EDTA, 114.2 mg H3BO3, 111 mg CaCl2·2H2O, 49.8 mg FeSO4·7H2O, 88.2 mg ZnSO4·7H2O, 14.2 mg MnCl2·4H2O, 15.7 mg CuSO4·5H2O 和4.9 mg Co(NO3)2·6H2O。
說明書
一種微藻凈化畜禽養殖廢水裝置及其方法
技術領域
本發明涉及一種微藻凈化畜禽養殖廢水裝置及其方法。
背景技術
能源危機和水資源危機是21世紀人類面臨的兩大危機,是制約人類發展的主要問題。因此,開發經濟、高效、可再生的新型能源是世界各國的迫切需求,微藻由于不與糧食作物競爭土地、含油量高、光合效率高、環境適應性強、可大規模化且具有碳捕捉的作用而被認為是生產生物柴油的最佳原料。目前,微藻生物能源技術所面臨的主要瓶頸是大規模獲取生物質資源成本過高。因此,如何降低微藻生物柴油的生產成本是個亟待解決的問題。目前,大規模生產微藻的方法主要有開放的養殖池和密閉的光生物反應器。然而,開放池養殖條件變化較大,并存在嚴重的污染,無法實現連續穩定的養殖,一般達不到高密度養殖的目的。因此需要提供一種能夠降低微藻生物生產成本,同時又可實現高密度微藻養殖的系統。
發明內容
本發明對上述問題進行了改進,即本發明要解決的技術問題是設計一種可降低培養微藻的生產成本同時凈化養殖廢水的凈化畜禽養殖廢水的系統。
本發明的具體實施方案是:一種微藻凈化畜禽養殖廢水裝置,包括沼液池、藻液混合池、光生物反應器、儲液池、用于絮凝處理藻液的收集池以及收集處理后清水的清水池,所述沼液池經沼液管與藻液混合池相連接,所述光生物反應器包括機架,所述機架內設有若干個縱向層疊的平板式反應器,所述最底層平板式反應器上方的平板式反應器底部設有以讓液體由上層平板式反應器向下層平板式反應器流出的溢流管,所述最底層平板式反應器底部溢流管與儲液池相連通,儲液池還設有通向最上層平板式反應器的回液管,所述回液管上設有回液泵,所述藻液混合池設有與最上層平板式反應器相連通的輸液管,所述每層平板式反應器設有與收集池相連通的出液管,所述出液管上設有出液開關,所述收集池經連通管與清水池相連通。
進一步的,所述平板式反應器底部設有曝氣管,所述曝氣管經輸氣管與提供氣體的氣泵相連接,所述輸氣管上設有控制氣體流速的氣閥。
進一步的,所述機架下方設有輪子,所述機架上設有放置平板式反應器的支撐臺,所述平板式反應器每層間隔40 ~60 cm,最下面一層離地面40~60 cm。
進一步的,所述輸液管上設有流量控制閥和輸液泵,所述光生物反應器內設有溫度傳感器,所述回液管上設有流量指示器。
進一步的,所述平板式反應器內設有取樣器、檢測器,所述取樣器、檢測器經控制系統與電腦相連接。
進一步的,所述光生物反應器置于帶有蓋設有透光薄膜的溫室內。
進一步的,所述溫室內設有日光燈和熱電偶溫感儀。
本發明第二技術方案為一種微藻凈化畜禽養殖廢水方法,包括如權利要求4所述的一種微藻凈化畜禽養殖廢水裝置其特征在于,按照如下步驟:
(1) 將微藻藻種接種到裝有培養液的錐形瓶中,放置于搖床上進行培養,錐形瓶中藻液的OD680達到0.6-0.7時,得到了擴種培養后的藻液;
(2) 將擴種后的藻液轉接到裝有沼液的沼液混合池中,繼續培養藻液使藻液的OD680達到1.2~1.3。
(3) 開啟輸液泵將步驟(2)的藻液輸送至光生物反應器3中進行培養,并通過回液管及回液泵實現藻液循環凈化。
(4) 當光生物反應器OD680達到3.0以上時,打開出液開關,藻液流到收集池中,當OD680降到1.2~1.3時,出液開關開關關閉。
進一步的,所述步驟2中擴種培養后的藻液與沼液體積比為3:7,培養溫度為22~25℃,光照強度為4000-4500lux,光照和黑暗的時間周期為12h:12h,
進一步的,步驟1中所用的培養液每升中含1,250 mg KNO3, 1,250 mg KH2PO4, 1,000 mg MgSO4·7H2O, 500 mg EDTA, 114.2 mg H3BO3, 111 mg CaCl2·2H2O, 49.8 mg FeSO4·7H2O, 88.2 mg ZnSO4·7H2O, 14.2 mg MnCl2·4H2O, 15.7 mg CuSO4·5H2O 和4.9 mg Co(NO3)2·6H2O。
與現有技術相比,本發明具有以下有益效果:本發明利用多層平板式反應器及回液管形成養殖液循環,畜禽養殖廢水經沼氣池發酵后的沼液作為微藻養殖的培養液,節約了微藻養殖過程中的成本,微藻在養殖過程中,能對沼液進行進一步的脫氮除磷,縮短生產工藝,降低沼液中的各項指標,凈化水體水質,使沼液各項







