申請日2013.09.21
公開(公告)日2014.05.21
IPC分類號C02F11/00
摘要
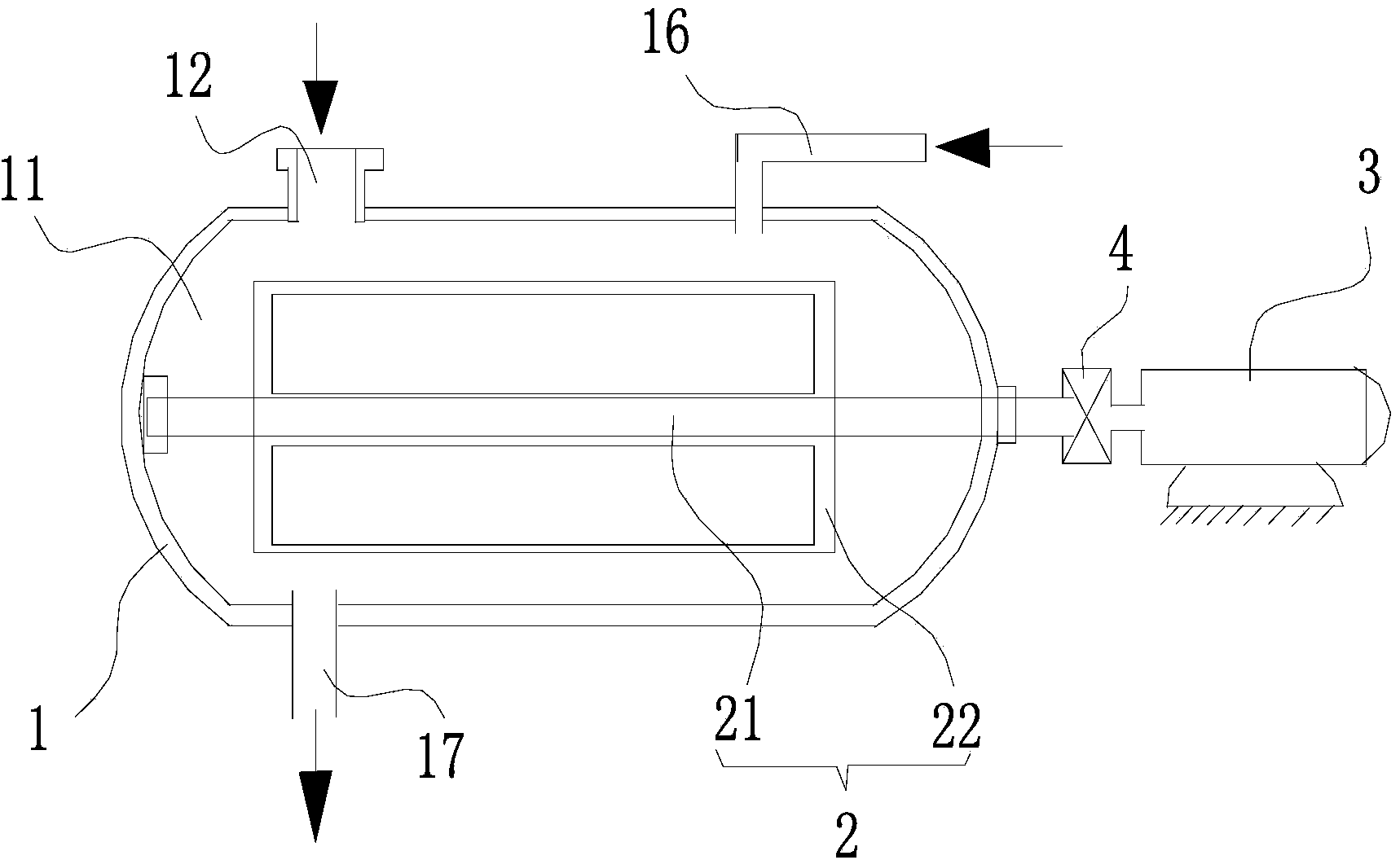
本實用新型公開了一種用于污泥處理的臥式自動混合機構,它包括:至少一個臥式的罐體,所述臥式的罐體具有圓柱體狀的內腔;所述罐體上設有向上敞開的加料口;旋流攪拌裝置,包括水平設置的轉軸,位于所述內腔的攪拌槳,攪拌槳固接在轉軸上,所述轉軸延伸到所述罐體外;電機和減速器,沿轉軸水平延伸方向設置,所述減速器軸接于所述電機和轉軸,以驅動所述攪拌槳旋轉。它具備結構簡單、牢固,制造成本低,傳動穩定,自動加料、自動化程度高、混合效果好、減輕工人勞動強度等特點,它是一種技術性優越的產品。
權利要求書
1.一種用于污泥處理的臥式自動混合機構,其特征在于,它包括:
至少一個臥式的罐體,所述臥式的罐體具有圓柱體狀的內腔;所述罐體上設有向上敞開的加料口;
旋流攪拌裝置,包括水平設置的轉軸,位于所述內腔的攪拌槳, 攪拌槳固接在轉軸上,所述轉軸延伸到所述罐體外;
電機和減速器,沿轉軸水平延伸方向設置,所述減速器軸接于所述電機和所述轉軸,以驅動所述攪拌槳旋轉。
2.根據權利要求1所述的用于污泥處理的臥式自動混合機構,其特征在于:它還包括位于所述加料口上的自動加料斗,所述自動加料斗上裝設有電子稱量器,與所述電子稱量器連接電控裝置,所述自動加料斗執行所述電控裝置的指令向所述加料口輸入設定的劑料。
3.根據權利要求2所述的用于污泥處理的臥式自動混合機構,其特征在于:所述電控裝置為單片機或PLC。
4.根據權利要求1或2所述的用于污泥處理的臥式自動混合機構,其特征在于:所述加料口數量為多個。
5.根據權利要求2所述的用于污泥處理的臥式自動混合機構,其特征在于:所述罐體連接于泥漿輸入管道和輸出管道,在所述輸入管道和輸出管道均設有電控閥,所述電控閥連接電控裝置,所述罐體設有液位探頭,所述液位探頭檢測到所述罐體內液體的高度時,反饋給所述電控裝置,以關閉所述輸入管道的電控閥;所述電子稱量器檢測到劑料反饋到所述電控裝置,指令所述自動加料斗加料;所述電機與所述電控裝置電連接,當所述自動加料完成后,所述電控裝置電連接指令所述電機驅動,以使所述旋流攪拌裝置動作。
6.根據權利要求5的任一項所述的用于污泥處理的臥式自動混合機構,其特征在于:所述電機為交流電機。
7.根據權利要求5的任一項所述的用于污泥處理的臥式自動混合機構,其特征在于:所述電機的軸線與所述轉軸的軸線重合。
說明書
用于污泥處理的臥式自動混合機構
【技術領域】
本實用新型涉及到一種用于污泥處理的臥式自動混合機構,屬于污泥處理生產線中的一個組成部分。
【背景技術】
污泥處理項目是符合國家資源循環的經濟發展方向、符合當前國家重點鼓勵發展的產業技術要求。《國家“十一五”經濟社會發展規劃綱要》提出:“經濟社會發展的戰略重點和主要任務之一就是建設資源節約、環境友好社會,建設資源節約、環境友好社會的重要任務是發展循環經濟。”而本項目通過對污泥進行穩定化、減理化、無害化處理后作為資源加以綜合利用,完全與國家提出的經濟社會發展的戰略重點和主要任務相吻合。《中共中央國務院關于實施科技規劃綱要增強自主創新能力的決定》中明確指出:“建設創新型國家,核心就是把增強自主創新能力作為發展科學技術的戰略基點。”本項目將污泥的無害化處理與生產制造過程二合為一,綜合多行業成熟工藝,成功研發出一套適用于污泥處置的工藝,達到將污泥穩定化、減量化、無害化處理并綜合利用的效果,這在國內外污泥處置方式中屬首創。
對于污泥無論采取填埋、焚燒、碳化、填海、干化等何種污泥處置方式,都存在著二次污染、耗費能源、占用空間的問題。資源化是污泥處置的最佳方式,通過規范的監控,除可有效杜絕二次污染,更可避免處理污泥直接造成資源消耗和高昂經濟支出的雙重代價。因此本項目的實施營運本身就是循環經濟節能項目,同時產出的衍生產品,作為一種新生的低碳經濟產品,其發展及市場需求非常巨大。
現有的用于污泥處理的臥式自動混合機構,大多是立式的,攪拌效率不高,污泥容易快速下沉,混合不均勻,而且操作不方便,結構復雜,制造成本高,攪拌傳動不穩定,而且人力增加混合料劑等情況;因此,為了克服上述的問題,我們研制了一種用于污泥處理的臥式自動混合機構。
【實用新型內容】
本實用新型的目的所要解決的技術問題是要提供一種用于污泥處理的臥式自動混合機構,它具備結構簡單、牢固,制造成本低,傳動穩定,自動加料、自動化程度高、混合效果好、減輕工人勞動強度等特點,它是一種技術性優越的產品。
本實用新型要解決其技術問題所采用的技術方案為:一種用于污泥處理的臥式自動混合機構,它包括:
至少一個臥式的罐體,所述臥式的罐體具有圓柱體狀的內腔;所述罐體上設有向上敞開的加料口;
旋流攪拌裝置,包括水平設置的轉軸,位于所述內腔的攪拌槳, 攪拌槳固接在轉軸上,所述轉軸延伸到所述罐體外;
電機和減速器,沿轉軸水平延伸方向設置,所述減速器軸接于所述電機和轉軸,以驅動所述攪拌槳旋轉。
本實用新型的一個實施例中,它還包括位于所述加料口上的自動加料斗,所述自動加料斗上裝設有電子稱量器,與所述電子稱量器連接電控裝置,所述自動加料斗執行所述電控裝置的指令向所述加料口輸入設定的劑料。
本實用新型的一個實施例中,所述電控裝置為單片機或PLC。
本實用新型的一個實施例中,所述加料口數量為多個。
本實用新型的一個實施例中,所述罐體連接于泥漿輸入管道和輸出管道,在所述輸入管道和輸出管道均設有電控閥,所述電控閥連接電控裝置,所述罐體設有液位探頭,所述液位探頭檢測到所述罐體內液體的高度時,反饋給所述電控裝置,以關閉所述輸入管道的電控閥;所述電子稱量器檢測到劑料反饋到所述電控裝置,指令所述自動加料斗加料;所述電機與所述電控裝置電連接,當所述自動加料完成后,所述電控裝置電連接指令所述電機驅動,以使所述旋流攪拌裝置動作。
本實用新型的一個實施例中,所述電機為交流電機。
本實用新型的一個實施例中,所述電機的軸線與所述轉軸的軸線重合。
本實用新型同背景技術相比所產生的有益效果:
由于本實用新型采用了上述的技術方案,能提供一種用于污泥處理的臥式自動混合機構,它具備結構簡單、牢固,制造成本低,傳動穩定,自動加料、自動化程度高、混合效果好、減輕工人勞動強度等特點,它是一種技術性優越的產品。







