申請日2014.10.28
公開(公告)日2015.03.04
IPC分類號C02F11/00; F23G7/00; C02F11/10
摘要
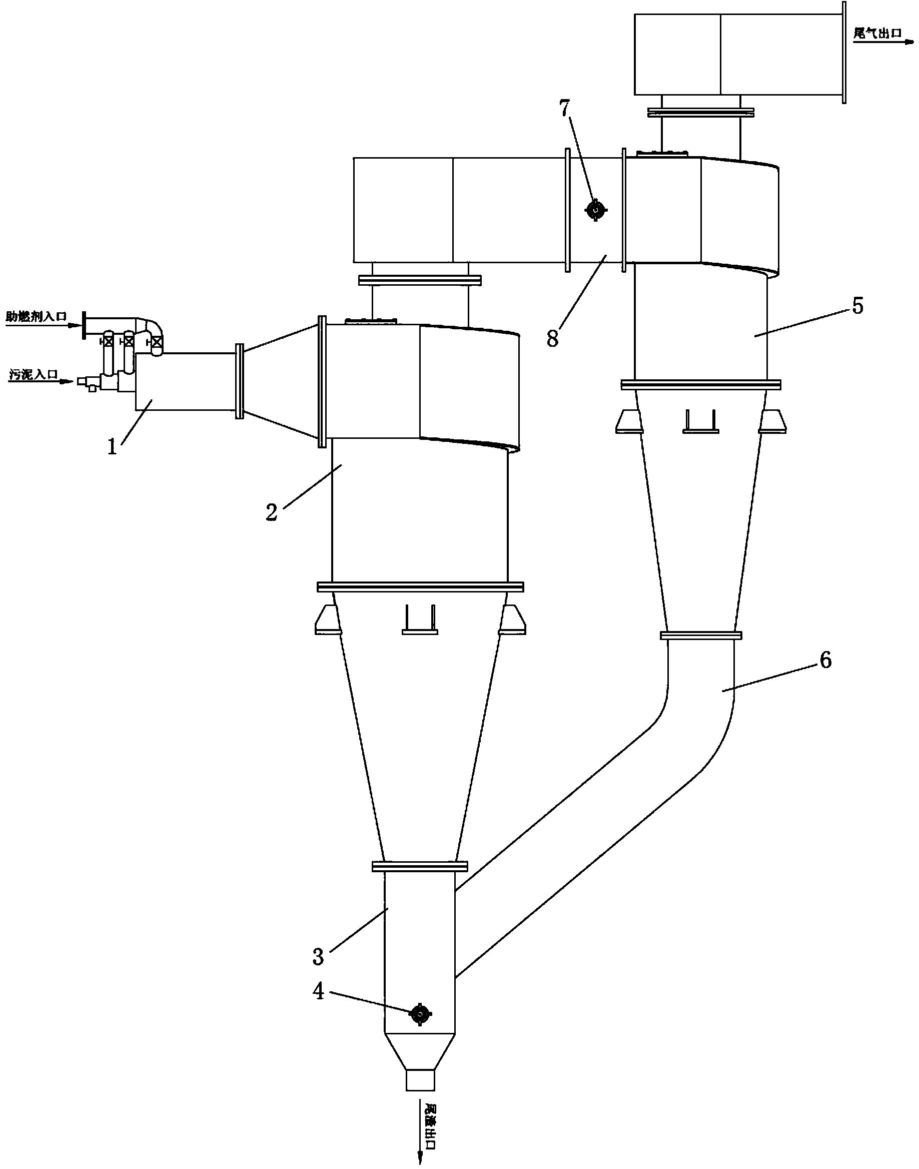
一種污泥高溫等離子玻璃化裝置,其結構是,污泥燃燒器的一端設有助燃劑入口和污泥入料口,污泥燃燒器的另一端分別連接于第一捕收器的上端和管道的一端;第一捕收器的下端連接于玻璃化爐的上端,玻璃化爐的下端設有用于排出熔融態的污泥的尾渣出口,玻璃化爐連接有第一高溫等離子火炬;管道的另一端連接于第二捕收器的上端,且設有用于排出煙氣的尾氣出口,收集管道的兩端分別連接于第二捕收器的下端和玻璃化爐,管道連接有第二高溫等離子火炬。本實用新型裝置結構簡單,占地面積小,處理過程由PLC自動控制,不需要人工操作和干預,處理時不排放有害氣體,也不產生有毒氣體,污泥處理徹底且效率高、適應范圍廣。
權利要求書
1.一種污泥高溫等離子玻璃化裝置,其特征在于,它包括污泥燃燒器、第一捕收器、 玻璃化爐、第一高溫等離子火炬、第二捕收器、收集管道、第二高溫等離子火炬、管道和 尾渣出口,所述污泥燃燒器的一端設有助燃劑入口和污泥入料口,污泥燃燒器的另一端分 別連接于第一捕收器的上端和管道的一端;
第一捕收器的下端連接于玻璃化爐的上端,玻璃化爐的下端設有用于排出熔融態的污 泥的尾渣出口,玻璃化爐連接有第一高溫等離子火炬;
管道的另一端連接于第二捕收器的上端,且設有用于排出煙氣的尾氣出口,收集管道 的兩端分別連接于第二捕收器的下端和玻璃化爐,管道連接有第二高溫等離子火炬。
2.如權利要求1所述的污泥高溫等離子玻璃化裝置,其特征在于,所述污泥燃燒器的 端部沿第一捕收器的外壁呈一弧形結構并與第一捕收器連通。
3.如權利要求1所述的污泥高溫等離子玻璃化裝置,其特征在于,所述管道與第二捕 收器的連接端沿第二捕收器的外壁呈一弧形結構后并與第二捕收器連通。
4.如權利要求1所述的污泥高溫等離子玻璃化裝置,其特征在于,所述第二高溫等離 子火炬有兩個或兩個以上,它們繞著管道軸線均勻布置。
5.如權利要求1至4任意一項所述的污泥高溫等離子玻璃化裝置,其特征在于,所述 污泥高溫等離子玻璃化裝置還包括實現污泥自動化處理操作控制的PLC自動控制系統,所 述PLC自動控制系統包括用于監控裝置內壓力、污泥入料口進入的污泥流速、助燃劑入口 進入的助燃劑流量、污泥燃燒器內溫度、玻璃化爐內溫度以及管道內溫度的傳感器、與傳 感器電連接的控制器和若干個執行控制器控制指令的電控裝置。
6.如權利要求5所述的污泥高溫等離子玻璃化裝置,其特征在于,所述電控裝置包 括用于控制污泥入料口進入的污泥流速和助燃劑入口進入的助燃劑流量的閥門裝置以及 控制第一高溫等離子火炬和第二高溫等離子火炬點火溫度的火炬溫度調節裝置。
說明書
一種污泥高溫等離子玻璃化裝置
技術領域
本實用新型涉及污泥處理設備,尤其涉及一種污泥高溫等離子玻璃化裝置。
背景技術
常規污泥是污水處理廠對污水進行凈化處理后的產物,污泥的特點是:1、成分十分復 雜,呈膠體狀,性質不穩定,易腐化發臭;2、重金屬、有毒有害污染物的含量高;3、含水率高,脫水性差,不易脫水;4、含大量病原菌及寄生蟲卵等。若不合理地處理此類污 泥,將對環境和人類及動物健康造成較大的危害。
當前主要的處置工藝有:一厭氧發酵;二好氧發酵;三協同焚燒(包括水泥廠協同焚燒、 電廠協同焚燒、垃圾協同焚燒等);四簡單填埋;五生產肥料。現有上述污泥處置技術工 藝存在以下幾個主要的技術缺點:1、厭氧發酵處置過程和效果受污泥成分變化影響較大, 處置效率低;2、好氧消化污泥處理方式能耗較高,基礎投資大,受污泥的成分變化影響 大;3、協同焚燒處置過程可產生二惡英等有毒氣體,不能解決污泥中重金屬等有毒有害 物質的污染問題;4、簡單填埋逐漸被禁止,這種方法可產生嚴重的環境污染問題;5、污 泥生產肥料中含有重金屬等污染物,僅可用作園林綠化,且存在引起環境污染的風險。
目前,干化處理工藝和處置工藝的組合便構成了當前污泥處理處置的主要技術路線。但 由于污泥量較大,干化需要消耗能源,成本費用很高,填埋又浪費土地資源,污泥自身有 一定的熱值,因此可以進行玻璃化實現污泥的處置。但是,目前的污泥玻璃化處理設備大 多結構復雜,控制難度也大,處理效率低,其在處理過程中產生的煙氣排放極易引起二次 污染;例如中國專利ZL 201420139125.8公開的一種玻璃化污泥處置系統,它無法對污泥 進行分類捕獲處理,這種無差別玻璃化處置過程會造成極大的能耗,對煙氣的洗滌處理不 僅成本高,還無法徹底避免污泥處理過程中的二次污染的可能。
實用新型內容
本實用新型的目的是提供一種污泥高溫等離子玻璃化裝置,它具有結構簡單,控制方 便和污泥處理效率高的優點。
本實用新型是這樣來實現的,一種污泥高溫等離子玻璃化裝置,其特征在于,它包括 污泥燃燒器、第一捕收器、玻璃化爐、第一高溫等離子火炬、第二捕收器、收集管道、第 二高溫等離子火炬、管道和尾渣出口,所述污泥燃燒器的一端設有助燃劑入口和污泥入料 口,污泥燃燒器的另一端分別連接于第一捕收器的上端和管道的一端;
第一捕收器的下端連接于玻璃化爐的上端,玻璃化爐的下端設有用于排出熔融態的污 泥的尾渣出口,玻璃化爐連接有第一高溫等離子火炬;管道的另一端連接于第二捕收器的 上端,且設有用于排出煙氣的尾氣出口,收集管道的兩端分別連接于第二捕收器的下端和 玻璃化爐,管道連接有第二高溫等離子火炬。
優選的是:所述污泥燃燒器的端部沿第一捕收器的外壁呈一弧形結構并與第一捕收器 連通。
優選的是:所述管道與第二捕收器的連接端沿第二捕收器的外壁呈一弧形結構后并與 第二捕收器連通。
優選的是:所述第二高溫等離子火炬有兩個或兩個以上,它們繞著管道軸線均勻布置。
所述污泥高溫等離子玻璃化裝置還包括實現污泥自動化處理操作控制的PLC自動控制 系統,所述PLC自動控制系統包括用于監控裝置內壓力、污泥入料口進入的污泥流速、助 燃劑入口進入的助燃劑流量、污泥燃燒器內溫度、玻璃化爐內溫度以及管道內溫度的傳感 器、與傳感器電連接的控制器和若干個執行控制器控制指令的電控裝置。所述電控裝置包 括用于控制污泥入料口進入的污泥流速和助燃劑入口進入的助燃劑流量的閥門裝置以及 控制第一高溫等離子火炬和第二高溫等離子火炬點火溫度的火炬溫度調節裝置。
本實用新型的有益效果為:1、不產生有害氣體排放。氣體排放前經高溫等離子火炬 整理,有效去除其中的氮氧化物、硫化物等有害物質;2、不產生有毒氣體。污泥玻璃化 爐內溫度高于1500℃,處理過程中不會產生二惡英、呋喃等有毒物質;3、污泥處理徹 底。處理溫度超過1500℃,高于污泥灰熔點,使污泥實現徹底處置;4、處理后的污泥可 方便進行建材利用。處理后的污泥呈現熔融態,經尾渣出口排出后可經離心法制成建筑保 溫材料巖棉或玻璃砂等,實現污泥的資源化利用。5、裝機功率小,節能環保。整個玻璃 化爐中無動力元件,粉狀污泥經燃燒器噴入后可自持燃燒,充分節約能源。6、適應范圍 廣。可適應于市政污泥、煤泥、工業污泥等各種污泥的處置。7、結構簡單,占地面積小。 本設備采用模塊化設計,占地面積小,且可根據實際情況進行組合。







