申請日2014.10.28
公開(公告)日2015.03.04
IPC分類號C02F1/44; F16B1/00
摘要
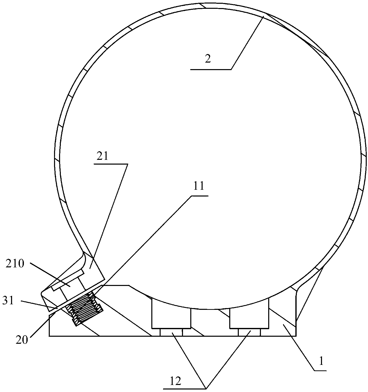
本實用新型的目的在于提供一種反滲透水處理系統中玻璃鋼壓力容器的固定安裝裝置。為實現所述目的的反滲透水處理系統中玻璃鋼壓力容器的固定安裝裝置,其特點是,包括一體注塑成形的底座和箍帶,箍帶的一端與底座成一體,另一端為自由端,通過緊固件與底座緊固連接,箍帶和底座能環繞玻璃鋼壓力容器的周向外圍并將玻璃鋼壓力容器緊箍。
權利要求書
1.反滲透水處理系統中玻璃鋼壓力容器的固定安裝裝置,其特征在于,包括 一體注塑成形的底座和箍帶,箍帶的一端與底座成一體,另一端為自由端,通過緊 固件與底座緊固連接,箍帶和底座能環繞玻璃鋼壓力容器的周向外圍并將玻璃鋼壓 力容器緊箍。
2.如權利要求1所述的固定安裝裝置,其特征在于,箍帶和/或底座的壁厚變 化處通過圓弧過渡并在壁部的外側設置加強筋。
3.如權利要求1所述的固定安裝裝置,其特征在于,箍帶的自由端具有搭接 平塊,搭接平塊上有孔,對應該搭接平塊,底座具有與搭接平塊相對的搭接平面, 搭接平面內側埋設有帶螺紋的金屬鑲嵌件,螺紋件穿過搭接平塊上的孔與所述金屬 鑲嵌件連接,以緊固箍帶的自由端和底座。
4.如權利要求3所述的固定安裝裝置,其特征在于,搭接平塊的厚度大于箍 帶的厚度,搭接平塊和箍帶之間的壁厚變化處通過圓弧過渡并在壁部的外側設置加 強筋。
5.如權利要求3所述的固定安裝裝置,其特征在于,金屬鑲嵌件的外側具有 條紋和/或溝槽,以使底座的塑料材料在注塑時進入到條紋和/或溝槽的空隙中,以 使金屬鑲嵌件固定在底座中。
6.如權利要求5所述的固定安裝裝置,其特征在于,所述條紋為軸向的直條 滾紋和周向的溝槽。
7.如權利要求1所述的固定安裝裝置,其特征在于,該固定安裝裝置還包括 水處理系統機架,底座具有螺栓孔,螺栓穿過底座的螺栓孔將底座固定在水處理系 統機架上,對應玻璃鋼壓力容器的兩端分別在水處理系統機架上設置有所述底座和 箍帶。
8.如權利要求3所述的固定安裝裝置,其特征在于,所述箍帶與所述底座圍 成的圓形,所述搭接平塊和所述搭接平面之間具有調節間隙,所述箍帶與所述底座 圍成的圓周尺寸由于該調節間隙而具有超出玻璃鋼壓力容器外圓尺寸變化的調節 范圍。
9.如權利要求1所述的固定安裝裝置,其特征在于,所述箍帶和所述底座是 聚丙烯。
說明書
反滲透水處理系統中玻璃鋼壓力容器的固定安裝裝置
技術領域
本實用新型涉及反滲透水處理系統中玻璃鋼壓力容器的固定安裝裝置。
背景技術
包括玻璃鋼壓力容器的反滲透水處理裝置,廣泛應用于電力、電子、冶金、化 工、醫藥、儀器,工業污水處理,海水淡化等領域。所述玻璃鋼壓力容器在工作時 比一般水處理容器所受的壓力要大,而且整個系統工作運行時受到的是交變壓力的 作用,會產生震動。因此對固定該裝置的要求是不能采取剛性連接,連接體既需要 強度,又要具備較好的彈力。
本實用新型發明人根據長期實踐,發現如何實現實效的、經濟的固定裝置仍然 是一項亟待解決的課題。
實用新型內容
本實用新型的目的在于提供一種反滲透水處理系統中玻璃鋼壓力容器的固定 安裝裝置。
為實現所述目的的反滲透水處理系統中玻璃鋼壓力容器的固定安裝裝置,其特 點是,包括一體注塑成形的底座和箍帶,箍帶的一端與底座成一體,另一端為自由 端,通過緊固件與底座緊固連接,箍帶和底座能環繞玻璃鋼壓力容器的周向外圍并 將玻璃鋼壓力容器緊箍。
所述的固定安裝裝置,其進一步的特點是,箍帶和/或底座的壁厚變化處通過 圓弧過渡并在壁部的外側設置加強筋。
所述的固定安裝裝置,其進一步的特點是,箍帶的自由端具有搭接平塊,搭接 平塊上有孔,對應該搭接平塊,底座具有與搭接平塊相對的搭接平面,搭接平面內 側埋設有帶螺紋的金屬鑲嵌件,螺紋件穿過搭接平塊上的孔與所述金屬鑲嵌件連 接,以緊固箍帶的自由端和底座。
所述的固定安裝裝置,其進一步的特點是,搭接平塊的厚度大于箍帶的厚度, 搭接平塊和箍帶之間的壁厚變化處通過圓弧過渡并在壁部的外側設置加強筋。
所述的固定安裝裝置,其進一步的特點是,金屬鑲嵌件的外側具有條紋和/或 溝槽,以使底座的塑料材料在注塑時進入到條紋和/或溝槽的空隙中,以使金屬鑲 嵌件固定在底座中。
所述的固定安裝裝置,其進一步的特點是,所述條紋為軸向的直條滾紋和周向 的溝槽。
所述的固定安裝裝置,其進一步的特點是,該固定安裝裝置還包括水處理系統 機架,底座具有螺栓孔,螺栓穿過底座的螺栓孔將底座固定在水處理系統機架上, 對應玻璃鋼壓力容器的兩端分別在水處理系統機架上設置有所述底座和箍帶。
所述的固定安裝裝置,其進一步的特點是,所述箍帶與所述底座圍成的圓形, 所述搭接平塊和所述搭接平面之間具有調節間隙,所述箍帶與所述底座圍成的圓周 尺寸由于該調節間隙而具有超出玻璃鋼壓力容器外圓尺寸變化的調節范圍。
所述的固定安裝裝置,其進一步的特點是,所述箍帶和所述底座是聚丙烯。
由于箍帶和底座一體成形,因此零件數量少,能提高安裝速度,減少材料成本, 另外通過塑料注塑成形,超過正常使用壽命期報廢后的材料可以回收處理,進一步 降低成本,因此前述技術方案具有較好的實效性以及經濟性。







