申請日2013.09.18
公開(公告)日2013.12.11
IPC分類號C02F9/04
摘要
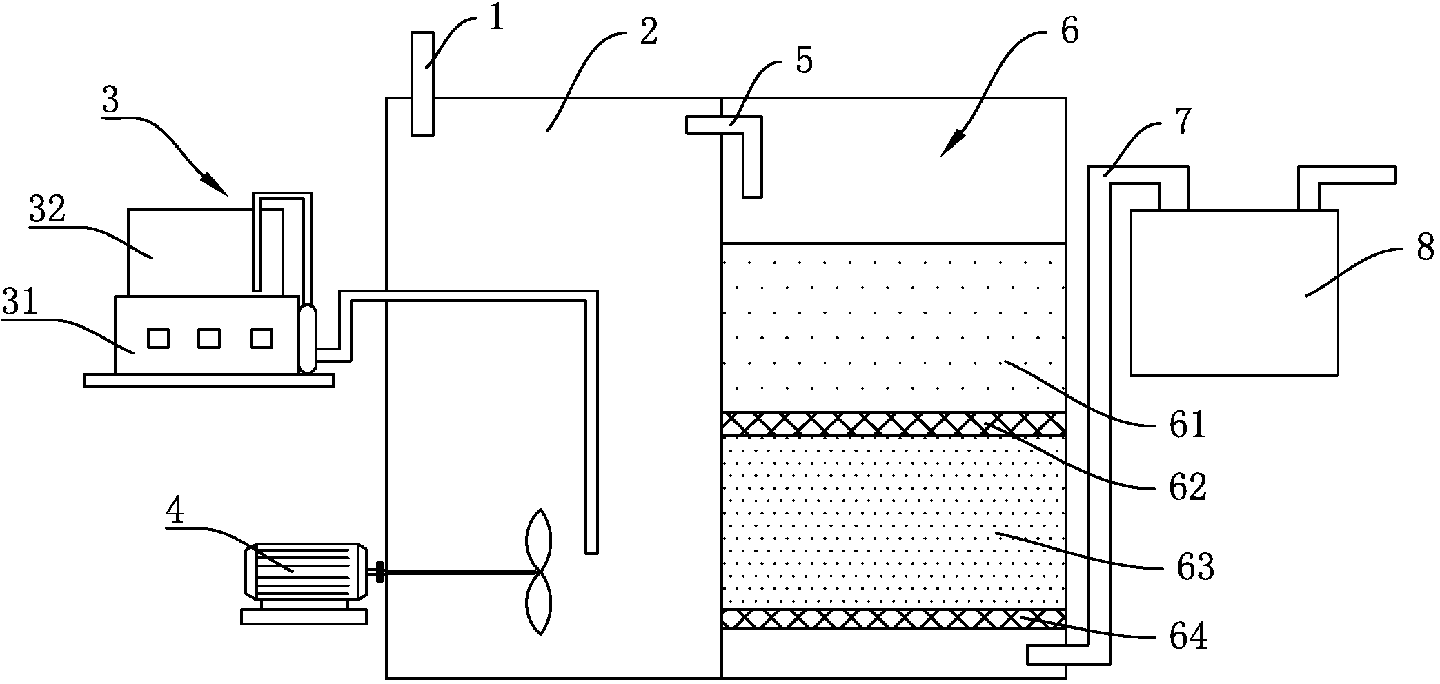
本發明屬于廢水處理設備技術領域,公開了一種雨水處理設備,包括設有進水管的沉淀箱,所述沉淀箱連接有用于添加絮凝劑的加藥裝置,所述加藥裝置的加藥口靠近所述沉淀箱的底部,所述沉淀箱還安裝有第一攪拌機,所述第一攪拌機的葉片靠近所述加藥裝置的加藥口,所述沉淀箱通過導管與砂濾池相連通,所述砂濾池內由高到低依次設有第一砂濾層、第一濾板、第二砂濾層和第二濾板,位于所述第二濾板下方的所述砂濾池上設有出水管,所述出水管與活性炭過濾器相連通。設備結構簡單,處理效果好,處理成本低,經過多次沉淀凈化處理,可達到生活雜用水的標準。
權利要求書
1.雨水處理設備,包括設有進水管的沉淀箱,所述沉淀箱連接有用于添加 絮凝劑的加藥裝置,其特征在于,所述加藥裝置的加藥口靠近所述沉淀箱的底 部,所述沉淀箱還安裝有第一攪拌機,所述第一攪拌機的葉片靠近所述加藥裝 置的加藥口,所述沉淀箱通過導管與砂濾池相連通,所述砂濾池內由高到低依 次設有第一砂濾層、第一濾板、第二砂濾層和第二濾板,位于所述第二濾板下 方的所述砂濾池上設有出水管,所述出水管與活性炭過濾器相連通。
2.如權利要求1所述的雨水處理設備,其特征在于,所述加藥裝置包括加 藥控制器和盛放所述絮凝劑的加藥箱,所述加藥箱通過所述加藥控制器連接所 述沉淀箱。
說明書
雨水處理設備
技術領域
本發明屬于廢水處理設備技術領域,尤其涉及一種雨水處理設備。
背景技術
隨著人口的急劇增長和經濟高速發展,水資源短缺已經成為全世界面臨的 問題。我國是缺水大國,有專家指出:2010年后,我國將進入嚴重缺水時期; 2030年,我國將缺水400億立方米至500億立方米,缺水高峰將會出現。因 此把雨水作為重要水資源加以收集利用,已經成為了解決水資源不足的重要途 徑。目前對雨水的處理利用多數采用污水處理系統,成本較高。
發明內容
本發明所要解決的技術問題是:提供一種雨水處理設備,以解決傳統方法 對雨水的處理利用成本高的技術問題。
為解決上述技術問題,本發明的技術方案是:
雨水處理設備,包括設有進水管的沉淀箱,所述沉淀箱連接有用于添加絮 凝劑的加藥裝置,所述加藥裝置的加藥口靠近所述沉淀箱的底部,所述沉淀箱 還安裝有攪拌機,所述攪拌機的葉片靠近所述加藥裝置的加藥口,所述沉淀箱 通過導管與砂濾池相連通,所述砂濾池內由高到低依次設有第一砂濾層、第一 濾板、第二砂濾層和第二濾板,位于所述第二濾板下方的所述砂濾池上設有出 水管,所述出水管與活性炭過濾器相連通。
作為一種改進,所述加藥裝置包括加藥控制器和盛放所述絮凝劑的加藥箱, 所述加藥箱通過所述加藥控制器連接所述沉淀箱。
采用了上述技術方案后,本發明的有益效果是:
由于雨水處理設備包括沉淀箱,沉淀箱上安裝有加藥裝置,沉淀箱內添加 絮凝劑,去除雨水中的雜質和漂浮物,沉淀箱通過導管與砂濾池相連通,砂濾 池內由高到低依次設有第一砂濾層、第一濾板、第二砂濾層和第二濾板,雨水 通過第一砂濾層、第一濾板、第二砂濾層和第二濾板時,可以對雨水進行多次 過濾沉淀,位于第二濾板下方的砂濾池上設有出水管,出水管與活性炭過濾器 相連通,活性炭過濾器可以對雨水做進一步的凈化處理,使凈化后的雨水符合 生活雜用水的標準。該雨水處理設備結構簡單,處理效果好,處理成本低,經 過多次沉淀凈化處理,凈化處理后的雨水可達到生活雜用水的標準。







