申請日2013.09.21
公開(公告)日2014.04.02
IPC分類號C02F11/00
摘要
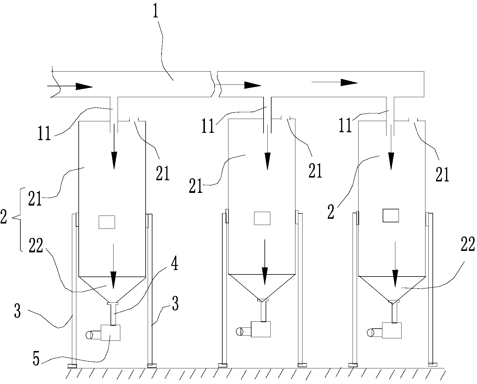
本實用新型公開了一種用于污泥處理的改性反應機構,它包括:泥漿輸送管道,在所述輸送管道上設有數個并聯向下的輸出管;位于所述泥漿輸送管道下方若干個具有內腔的反應罐體,所述輸出管與所述反應罐體內腔相通;所述反應罐體頂部具有排氣口,所述反應罐體上部為圓柱體,下部為圓錐體;每個所述反應罐體側壁的連接數根向下延伸出一定長度的支撐柱,以使所述反應罐體懸空于地面;所述圓錐體的下部連接有排出管道,在排出管道上設有螺桿泵,以形成較高壓力輸出。它具備結構簡單、牢固,制造成本低,安裝方便,容易檢修維護管道,能徹底排盡反應物,不存留死水等特點,它是一種技術性優越的產品。
權利要求書
1.一種用于污泥處理的改性反應機構,其特征在于,它包括:
-泥漿輸送管道,在所述輸送管道上設有數個并聯向下的輸出管;
-位于所述泥漿輸送管道下方若干個具有內腔的反應罐體,所述輸出管與所述反應罐體內腔相通;所述反應罐體頂部具有排氣口,所述反應罐體上部為圓柱體,下部為圓錐體;每個所述反應罐體側壁的連接數根向下延伸出一定長度的支撐柱,以使所述反應罐體懸空于地面;
所述圓錐體的下部連接有排出管道,在排出管道上設有螺桿泵,以形成較高壓力輸出。
2.根據權利要求1所述的用于污泥處理的改性反應機構,其特征在于:所述反應罐體數量為2個至20個,它們整齊排列或交錯排列。
3.根據權利要求2所述的用于污泥處理的改性反應機構,其特征在于:各所述反應罐體的大小相同或不相同。
4.根據權利要求1或2所述的用于污泥處理的改性反應機構,其特征在于:所述支撐柱為四個,均勻分布于所述反應罐體的側壁,所述支撐柱包括連接頭和腳墊,連接頭焊接在所述反應罐體的側壁中間位置,腳墊裝設于水平面上,采用地腳螺栓固定于所述地面。
5.根據權利要求4所述的用于污泥處理的改性反應機構,其特征在于:所述支撐柱橫截面為矩形。
6.根據權利要求5所述的用于污泥處理的改性反應機構,其特征在于:所述支撐柱長度大于所述反應罐體的二分之一長度。
說明書
用于污泥處理的改性反應機構
【技術領域】
本實用新型涉及到一種用于污泥處理的改性反應機構,屬于污泥處理生產線中的一個組成部分。
【背景技術】
污泥處理項目是符合國家資源循環的經濟發展方向、符合當前國家重點鼓勵發展的產業技術要求。《國家“十一五”經濟社會發展規劃綱要》提出:“經濟社會發展的戰略重點和主要任務之一就是建設資源節約、環境友好社會,建設資源節約、環境友好社會的重要任務是發展循環經濟。”而本項目通過對污泥進行穩定化、減理化、無害化處理后作為資源加以綜合利用,完全與國家提出的經濟社會發展的戰略重點和主要任務相吻合。《中共中央國務院關于實施科技規劃綱要增強自主創新能力的決定》中明確指出:“建設創新型國家,核心就是把增強自主創新能力作為發展科學技術的戰略基點。”本項目將污泥的無害化處理與生產制造過程二合為一,綜合多行業成熟工藝,成功研發出一套適用于污泥處置的工藝,達到將污泥穩定化、減量化、無害化處理并綜合利用的效果,這在國內外污泥處置方式中屬首創。
對于污泥無論采取填埋、焚燒、碳化、填海、干化等何種污泥處置方式,都存在著二次污染、耗費能源、占用空間的問題。資源化是污泥處置的最佳方式,通過規范的監控,除可有效杜絕二次污染,更可避免處理污泥直接造成資源消耗和高昂經濟支出的雙重代價。因此本項目的實施營運本身就是循環經濟節能項目,同時產出的衍生產品,作為一種新生的低碳經濟產品,其發展及市場需求非常巨大。
現有的污泥處理的改性反應機構,大多是立式的,但安裝操作不方便,結構復雜,制造成本高,組裝固定反應罐要預先深挖地基,支撐不牢固,而且排列不合理,由于管道設置于地下給安裝排出管或者設備維護均不方便,而且反應罐內的泥漿排出時不徹底,經過專利檢索,如中國發明專利申請文獻(CN200910014513.7)公開了:本發明屬污水處理技術領域,具體涉及一種旋流布水旋液分離內循環厭氧反應器。其特征是:在罐體內設中心立柱支撐連接中部集氣器和頂部的三相分離器;集氣器將罐體分隔成上、下兩個反應室;在罐體底部均布設有旋流布水器,三相分離器上側與旋流布水器對應位置上設氣液分離器;氣液分離器與三相分離器和集氣器之間設提氣管連通、與旋流布水器之間設回流管連通。結合該文獻的附圖理解,存在上述的不足。
因此,為了克服上述的問題,我們研制了一種用于污泥處理的臥式自動混合機構。
【實用新型內容】
本實用新型的目的所要解決的技術問題是要提供一種用于污泥處理的改性反應機構,它具備結構簡單、牢固,制造成本低,安裝方便,容易檢修維護管道,能徹底排盡反應物,不存留死水等特點,它是一種技術性優越的產品。
本實用新型要解決其技術問題所采用的技術方案為:一種用于污泥處理的改性反應機構,它包括:
-泥漿輸送管道,在所述輸送管道上設有數個并聯向下的輸出管;
-位于所述泥漿輸送管道下方若干個具有內腔的反應罐體,所述輸出管與所述反應罐體內腔相通;所述反應罐體頂部具有排氣口,所述反應罐體上部為圓柱體,下部為圓錐體;每個所述反應罐體側壁的連接數根向下延伸出一定長度的支撐柱,以使所述反應罐體懸空于地面;
所述圓錐體的下部連接有排出管道,在排出管道上設有螺桿泵,以形成較高壓力輸出。
作為本實用新型進一步優選的方案,所述反應罐體數量為2個至20個,它們整齊排列或交錯排列。
作為本實用新型進一步優選的方案,各所述反應罐體的大小相同或不相同。
作為本實用新型進一步優選的方案,所述支撐柱為四個,均勻分布于所述反應罐體的側壁,所述支撐柱包括連接頭和腳墊,連接頭焊接在所述罐體的側壁中間位置,腳墊裝設于水平面上,采用地腳螺栓固定于所述地面。
作為本實用新型進一步優選的方案,所述支撐柱橫截面為矩形。
作為本實用新型進一步優選的方案,所述支撐柱長度大于所述反應罐體的二分之一長度。
本實用新型同背景技術相比所產生的有益效果:
由于本實用新型采用了上述的技術方案,它具備結構簡單、牢固,制造成本低,安裝方便,容易檢修維護管道,能徹底排盡反應物,不存留死水等特點,它是一種技術性優越的產品。







