申請日2013.09.20
公開(公告)日2015.08.19
IPC分類號C02F3/12
摘要
一種設備和方法,用于使用篩在活性污泥工藝中選擇、截留或生物強化固體,用于改善廢水處理。可使用篩以基于尺寸、壓縮系數或者抗切變性分離并截留固體。在活性污泥工藝中使用篩以分離并選擇緩慢生長的有機物、較快沉降的有機物或者增加的物質,以吸收、處理或者移除成分。變換篩的設置提供了另一種選擇不同微粒的手段。可響應于從諸如分光光度計或者其它光學方法的分析儀器檢測到的讀數而手動地和/或自動地調整被暴露的切變率或者時間、微粒壓縮或者固體停留時間(SRT),以使有機物的選擇優化。
權利要求書
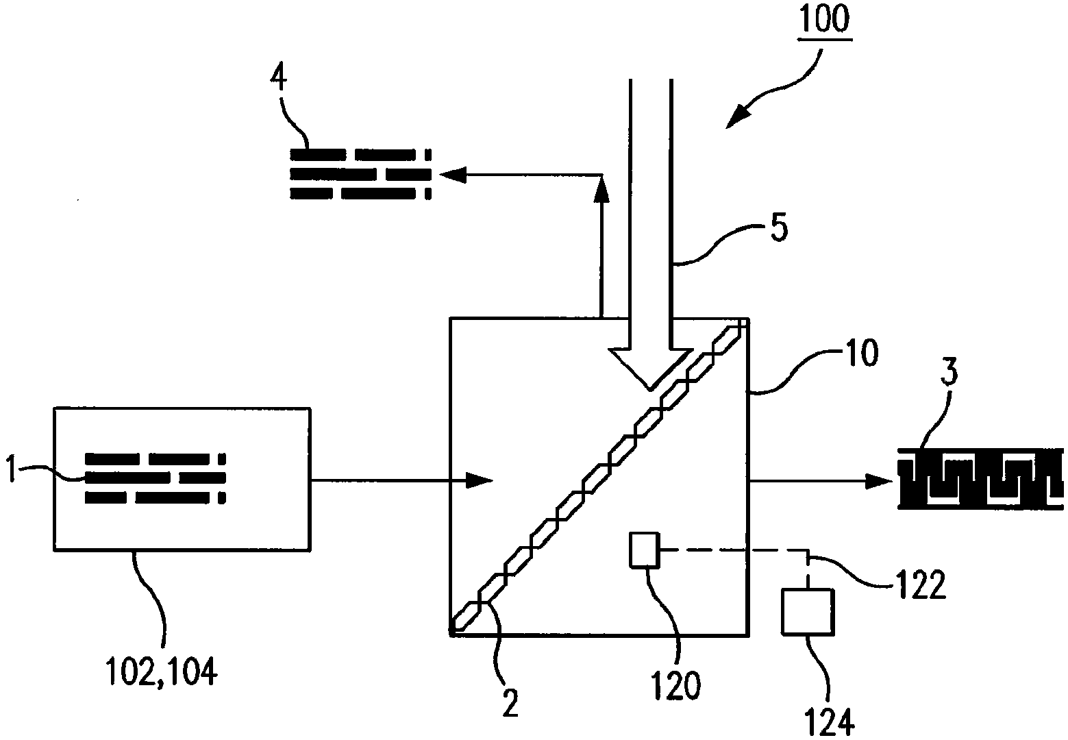
1.一種用于選擇和截留微粒的設備,所述設備包括分類篩,其應用在 10-5000微米范圍內的網眼尺寸,以從罐的混合溶液選擇微粒、從主固體- 液體分離器或者從萃取的廢物固體流選擇固體回收流,其中所述設備構造 為將至少一些被選擇的微粒返回至上游部分。
2.根據權利要求1所述的設備,進一步包括在篩濾期間通過施加正向 或負向壓力壓縮微粒的裝置。
3.根據權利要求1所述的設備,進一步包括機械裝置,其諸如在使用 震動篩的情況下通過篩的振蕩運動,或者在使用轉鼓篩的情況下通過旋轉 運動,或者通過使用篩的上游的分離混合切變裝置,或者通過更頻繁的將 過濾流回收至篩而將切變應力(或力)施加至微粒上。
4.根據權利要求1所述的設備,其中基于抗切變性發生優先的選擇, 更抗切變的級分被截留,手動地或自動地使用分析或檢測儀器控制暴露的 切變率或時間,以使有機物或者微粒的選擇優化。
5.根據權利要求1所述的設備,其中基于壓縮系數發生優先的選擇, 不易壓縮的物質被截留,手動地或自動地使用分析或檢測儀器控制微粒壓 縮,以使有機物或者微粒的選擇優化。
6.一種設備,其用于分離多種固體級分以保持多種固體停留時間,所 述設備構造為使用分類篩優先地選擇具有高于期望閾值的固體停留時間的 級分,且使用任何其他固體液體分離器保持具有較低固體停留時間的級分, 使得被截留和穿過污泥的級分具有相對比例,其可按重量從最小0%調節 至最大100%,以調整選擇固體的固體停留時間,其中所述設備構造為通 過變換分類篩的尺寸,或者通過調整一個或者多個篩的孔徑尺寸或者操作, 和/或分別用于較高和/或較低固體停留時間的固體-液體分離器來調整固體 停留時間,其中手動地或者自動地響應于位于篩的上游或者下游的分析或 者檢測儀器檢測到的讀數調整所述固體停留時間,以使有機物或微粒的選 擇優化。
7.一種用于分離多種固體級分以保持多種固體停留時間的方法,所述 方法包括使用至少一個分類篩優先地選擇具有高于期望閾值的固體停留時 間的級分,且使用任何其他固體液體分離器保持具有較低固體停留時間的 級分,以及將至少一些被選擇的微粒返回至上游部分。
8.根據權利要求7所述的方法,其中所述至少一個篩選擇部分或者全 部顆粒固體,所述顆粒固體可根據需要顯示增強的沉降特性,而所述的篩 將允許其他非顆粒固體的部分或全部的通過。
9.根據權利要求7所述的方法,其中基于顆粒尺寸發生優先的選擇, 截留較大尺寸的級分,較小尺寸的級分穿過所述篩。
10.根據權利要求7所述的方法,其中基于壓縮系數或者抗切變性發生 優先的選擇,通過所述篩截留不易壓縮或者更抗切變的級分。
11.根據權利要求9所述的方法,為了改善選擇效率且減少更抗切變級 分的擴散阻力,通過篩界限的機械操作或者通過液體施加附加切變應力。
12.根據權利要求7所述的方法,其中使用一系列的篩以選擇用于選擇 的上和下尺寸范圍。
13.根據權利要求7所述的方法,其中被截留的和穿過污泥的級分具有 相對比例,其可從按重量最小0%調節至最大100%,以調整被選擇固體的 固體停留時間。
14.根據權利要求8所述的方法,其中顆粒固體可在好氧、缺氧或者壓 氧或者這些情況的組合下被選擇且被截留,其中非顆粒固體包括凝聚劑或 者分散固體。
15.根據權利要求7所述的方法,其中所述分類篩可應用至廢物污泥 流,其在包括在混合溶液、返回污泥或者廢物污泥中的生物廢水處理工藝 中的任何一點處從反應器(混合溶液)或者回收流(RAS)直接地取得。
16.根據權利要求7所述的方法,其中來自篩的被截留的固體或者穿過 的固體被生物強化。
17.根據權利要求7所述的方法,其中所述篩過的固體具有生物性且包 括諸如厭氧氨氧化生物或者甲烷有機物、好氣微生物或者缺氧微生物以及 可共生的有機物的較慢生長的有機物,以基于至空氣或者其它基底的暴露 發展生態位級分。
18.根據權利要求7所述的方法,其中所述篩過的固體具有化學反應特 性且以樹脂、吸附劑或催化劑的形式移除污染物。
19.根據權利要求13所述的方法,其中,固體停留時間的調整由分類 篩的尺寸的變換和/或分別用于較高和/或較低固體停留時間的固體-液體分 離器的變換執行。
20.一種用于廢水處理的活性污泥系統,所述系統包括權利要求1所 述的設備。
說明書
用于使用篩的水處理的方法和設備
本申請要求2012年9月21日提交的美國第61/703,844號臨時專利申 請的利益。該美國第61/703,844號臨時專利申請的全部公開內容援引加入 本文中。
廢水的篩濾是廢水處理廠處理的常規方法。為了收集和清理,已經使 用廢水篩移除大或惰性固體超過一個世紀。移除這樣的雜物的廢水篩濾典 型地存在上游工藝中,以保護下游工藝免受這樣的物質之害。最近,已經 在活性污泥工藝本身內使用篩以選擇并移除惰性物質。
美國專利4,541,933、5,824,222、6,814,868和7,569,147 討論了這種用于從活性污泥以及膜生物反應器中移除惰性物質的概念的變 形,即應用對不期望的固體的選擇。篩在活性污泥工藝中的第二個作用是 用篩替換最終澄清工藝,以通過用薄膜或篩替換澄清器截留活性絮體并使 其返回曝氣池。這些的應用作為用于固體液體分離的過濾篩和薄膜被發現。 美國專利號6,821,425是后一個應用的示例且工藝描述在Kiso等人 (2005)、Tewari等人(2010)和Ren等人(2010)的科學文獻中。美國 專利3,959,124和Hemandez等人(2002)描述了篩的另一個作用,其 中為了減少固體-液體分離裝置的固體載荷,篩位于活性污泥工藝中的曝氣 槽和固體液體分離裝置之間。固體-液體分離裝置可以為澄清器或者過濾薄 膜。
總之,已經在活性污泥工藝中使用篩以廢棄垃圾、替換澄清器或者減 少固體-液體分離裝置的載荷。這些先前公開的工藝都沒有將篩用于固體的 “選擇”和“截留”兩者,或者物理地合成具有適宜構造的生物固體,以 增強與控制用于成分移除的反應相關的活性污泥性能。
當前活性污泥工藝操作的缺點是活性污泥中所有部分的固體停留時間 相同。已經通過例如使用塑料介質以將生物膜上的有機物截留更長的固體 停留時間克服了此缺點。可參見美國專利號5,458,779和7,854,843。 其它的選擇包括旋風分離器的使用,其可基于比重區分固體 (US2011/0198284Al)。這些工藝都沒有選擇基于與篩濾相關的尺寸、壓 縮系數或者切變特性增加固體停留時間。
發明內容
所公開的實施方式包括使用篩的選擇工藝,用于基于微粒成分的尺寸 和壓縮系數截留微粒成分。特別地,在活性污泥工藝中使用篩以“開采” 和“截留”特定類型的固體,且這些被截留的固體改善了工藝的性能。通 過物質的選擇和保留開采具有特定范圍的尺寸、壓縮系數和抗切變性的活 性污泥固體的此種能力是本公開的實施方式的關鍵特征。本公開使得活性 污泥系統對不同的固體級分(fractions)以不同的固體停留時間(SRT)運 行,以允許在與快速生長的有機物或者其聚集體的競爭中建立緩慢生長的 有機物。增大物理力(切變/切線應力和/或法線應力)以通過實現更明顯的 微粒分離長期保持不同的固體停留時間,舉例來說,通過從緩慢生長的聚 集體的表面剪切掉快速生長或者表面的生物質,或者通過使用壓力從更可 壓縮的生物質提取并截留更不易壓縮的物質。
本公開不必然地限定為與廢水相關使用。關于除了廢水之外的水處理, 可使用此處描述的設備和方法。例如,可使用本設備和方法從農田徑流移 除營養物,和/或處理來自固體廢物操作的瀝出物、水產養殖系統中的水、 動物性雜肥以及厭氧消化工藝中的沼渣或者污泥,以及解決地下水污染、 處理飲用水和處理有害廢物。







