申請日2014.10.28
公開(公告)日2016.06.01
IPC分類號A01K63/04
摘要
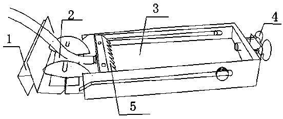
本發明公開了一種簡易型水處理過濾器,包括固定端、角度調節板、藻屏、吸盤夾、分水梳板,所述固定端位于過濾器的一端,所述角度調節板與固定端連接,所述藻屏與角度調節板連接,所述吸盤夾與藻屏連接,所述分水梳板與藻屏連接。本發明的固定端固定在水族池的一端,通過角度調節板與藻屏連接,前后藻屏之間分離,可手動調節長度,藻屏連接吸盤夾,連接在水族池的另一端,水泵抽水上來后經過分水梳板將水流分散到整個藻屏上,避免水流太大影響效果。
權利要求書
1.一種簡易型水處理過濾器,包括固定端、角度調節板、藻屏、吸盤夾、分水梳板,其特征在于:所述固定端位于過濾器的一端,所述角度調節板與固定端連接,所述藻屏與角度調節板連接,所述吸盤夾與藻屏連接,所述分水梳板與藻屏連接。
2.根據權利要求1所述的新型過濾器,其特征在于:所述固定端固定在水族池的一端。
3.根據權利要求1所述的新型過濾器,其特征在于:所述吸盤夾連接在水族池的另一端。
說明書
一種簡易型水處理過濾器
技術領域
本發明涉及水處理設備領域,尤其是一種簡易型水處理過濾器。
背景技術
過濾器廣泛用于冶金、化工、石油、造紙、醫藥、食品、采礦、電力、城市給水領域。諸如工業廢水,循環水的過濾,乳化液的再生,廢油過濾處理,冶金行業的連鑄水系統、高爐水系統,熱軋用高壓水除鱗系統,是一種先進、高效且易操作的全自動過濾裝置。現在普通的過濾器采用棉布或紗布過濾,過程復雜,效果不好。
發明內容
針對上述問題,本發明旨在提供一種簡易型水處理過濾器。
為實現該技術目的,本發明的方案是:一種簡易型水處理過濾器,包括固定端、角度調節板、藻屏、吸盤夾、分水梳板,所述固定端位于過濾器的一端,所述角度調節板與固定端連接,所述藻屏與角度調節板連接,所述吸盤夾與藻屏連接,所述分水梳板與藻屏連接。
作為優選,所述固定端固定在水族池的一端。
作為優選,所述吸盤夾連接在水族池的另一端。
本發明的固定端固定在水族池的一端,通過角度調節板與藻屏連接,前后藻屏之間分離,可手動調節長度,藻屏連接吸盤夾,連接在水族池的另一端,水泵抽水上來后經過分水梳板將水流分散到整個藻屏上,避免水流太大影響效果。







