申請日2013.08.27
公開(公告)日2014.03.26
IPC分類號E03C1/12; E03F5/22
摘要
本實用新型提供一種污水粉碎提升裝置,應用于廚房或衛生間,包括:內設有粉碎抽排泵的污水箱和裝有感壓器電子機械元件和電線的匣子,匣子容置于污水箱內,匣子上設有通氣管,匣子通過通氣管在污水粉碎提升裝置外部形成開口,并通過通氣管和開口連接到污水粉碎提升裝置外面,感壓器的感壓膜把污水箱和匣子分隔開,通氣管在污水粉碎提升裝置外部的開口向上延伸至預設高度,所述預設高度大于環境水位的高度,能夠防止水從通氣管進入裝有感壓器電子機械元件和電線的匣子,防水效果好,可以確保污水粉碎提升裝置完好無損,提高了使用安全性和可靠性,結構簡單,使用方便。
權利要求書
1.一種污水粉碎提升裝置,應用于廚房或衛生間,包括:內 設有粉碎抽排泵的污水箱和裝有感壓器電子機械元件和電線的匣 子,匣子容置于污水箱內,匣子上設有通氣管,匣子通過通氣管 在污水粉碎提升裝置外部形成開口,并通過通氣管和開口連接到 污水粉碎提升裝置外面,感壓器的感壓膜把污水箱和匣子分隔開, 其特征在于,通氣管在污水粉碎提升裝置外部的開口向上延伸至 預設高度,所述預設高度大于環境水位的高度。
說明書
一種污水粉碎提升裝置
技術領域
本實用新型屬于污水處理技術領域,具體涉及一種污水粉碎 提升裝置。
背景技術
污水粉碎提升裝置已在市場上存在多年,它使在距離下水管 很遠的地方改建廚房廁所成為可能。
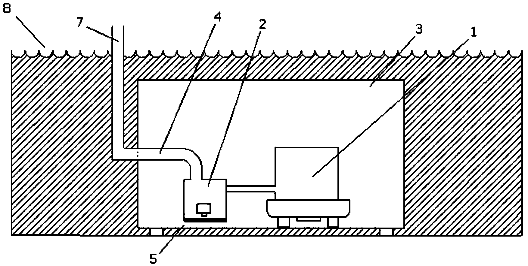
如圖1所示,這種污水粉碎提升裝置由一個粉碎抽排泵1, 一個污水箱3和一個水位感應器組成。
廁所的下水,包括馬桶所排的下水和廚房的下水,流入污水 箱3內,這些下水及其中的糞污等被粉碎并從一個小管道被抽排 出去。
粉碎抽排泵1由污水箱3內的水位感應器控制,水位到一定 高度時會自動啟動粉碎抽排泵1。
一般情況下所用的水位感應器是一種壓力感應器即感壓器, 這種感壓器通過一個可變形的感壓膜5感受水位上升時的壓力, 感壓膜5的另一側,是一個裝有感壓器電子機械元件和電線的匣 子2。
感壓器只有在感應到感壓膜5兩側的壓力不同時啟動,因此, 裝有感壓器電子機械元件和電線的匣子2必須一直處在正常大氣 壓下,也就是說,裝有感壓器電子機械元件和電線的匣子2必須 在污水粉碎提升裝置外部有開口。
為了達到這一目的,裝有感壓器電子機械元件和電線的匣子 2上設有一段通氣管4,連接到污水粉碎提升裝置外面,這段通氣 管4有時還用于放置連接電源的電纜。
參見圖2,如果污水粉碎提升裝置所在的地方被環境水位8 淹沒,水可以從通氣管4進入裝有感壓器電子機械元件和電線的 匣子2,導致污水粉碎提升裝置的損壞。
實用新型內容
本實用新型針對現有技術中存在的上述不足,提供一種污水 粉碎提升裝置,用以解決現有的污水粉碎提升裝置不具有防水性 的問題。
本實用新型為解決上述技術問題,采用如下技術方案:
一種污水粉碎提升裝置,應用于廚房或衛生間,包括:內設 有粉碎抽排泵的污水箱和裝有感壓器電子機械元件和電線的匣 子,匣子容置于污水箱內,匣子上設有通氣管,匣子通過通氣管 在污水粉碎提升裝置外部形成開口,并通過通氣管和開口連接到 污水粉碎提升裝置外面,感壓器的感壓膜把污水箱和匣子分隔開, 其特征在于,通氣管在污水粉碎提升裝置外部的開口向上延伸至 預設高度,所述預設高度大于環境水位的高度。
本實用新型具有如下有益效果:
本實用新型裝置通過將通氣管在污水粉碎提升裝置外部的開 口向上延伸至大于環境水位的預設高度,當環境水位上升時,可 以有效防止水從通氣管進入裝有感壓器電子機械元件和電線的匣 子,避免設備進水損壞,防水效果好,可以確保污水粉碎提升裝 置完好無損,提高了使用安全性和可靠性,而且結構簡單,使用 方便。







