申請日2013.08.27
公開(公告)日2014.03.12
IPC分類號C02F3/28
摘要
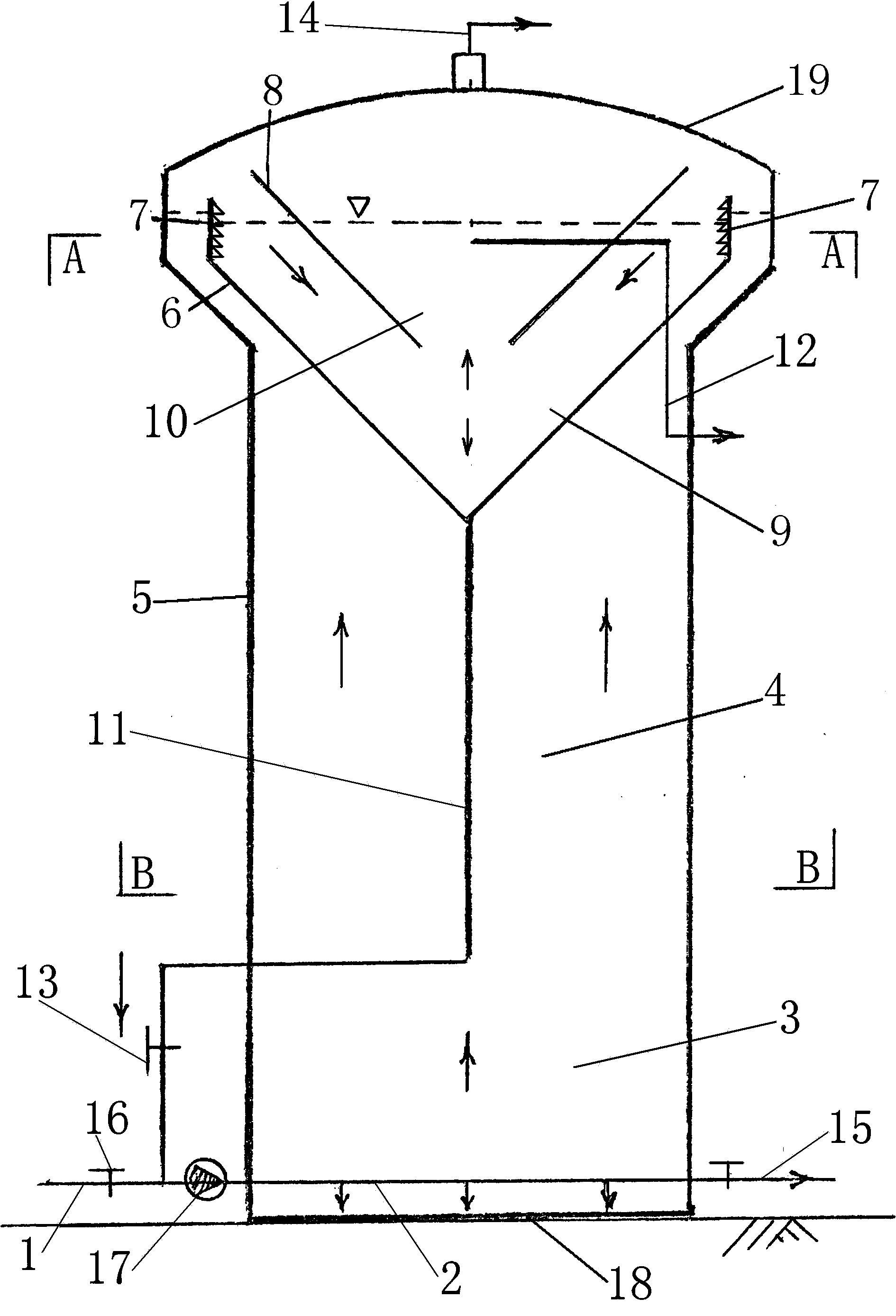
本實用新型自循環污泥床反應器涉及的是一種高濃度難降解有機廢水處理的反應器,屬于污水處理工程中的核心裝置生物反應器。包括進水管、布水管、反應器筒體、導流底板、堰板、斜流板、污泥回流管、出水管、污泥回流閥、沼氣出口、排泥管、進水閥、進水和污泥回流泵;反應器筒體底部設置有筒底,反應器筒體頂部設置有筒蓋,反應器筒體內上部設置有導流底板,在導流底板上部設置有堰板,在導流底板上部設置有斜流板,在反應器筒體內底部設置有布水管,污泥回流管一端與導流底板底部相連通,污泥回流管另一端與進水管相連通;進水和污泥回流泵安裝在反應器筒體底部外側,進水和污泥回流泵進水口與進水管相連,進水和污泥回流泵出水口與布水管相連。
權利要求書
1.一種自循環污泥床反應器,其特征在于:包括進水管、布水管、反應器筒體、導流底板、堰板、斜流板、污泥回流管、出水管、沼氣出口、排泥管、進水和污泥回流泵; 反應器筒體底部設置有筒底,反應器筒體頂部設置有筒蓋,反應器筒體內上部設置有導流底板,在導流底板上部設置有堰板,在導流底板上部設置有斜流板,在反應器筒體內底部設置有布水管,污泥回流管一端與導流底板底部相連通,污泥回流管另一端與進水管相連通;
進水和污泥回流泵安裝在反應器筒體底部外側,進水和污泥回流泵進水口與進水管相連,進水和污泥回流泵出水口與布水管相連,布水管出口連接有排泥管;
在反應器筒體上部設置有出水管,在反應器筒體頂部的筒蓋上設置有沼氣出口。
2.根據權利要求1所述的自循環污泥床反應器,其特征在于:反應器筒體內設置有四個區,分別為污泥床區、污泥懸浮層區、沉淀區和出水區。
3.根據權利要求1所述的自循環污泥床反應器,其特征在于:在進水管上設置有進水閥,用于控制污水進水量。
4.根據權利要求1所述的自循環污泥床反應器,其特征在于:在污泥回流管上設置有污泥回流閥,用于控制污泥回流量。
說明書
自循環污泥床反應器
技術領域
本實用新型自循環污泥床反應器涉及的是一種高濃度難降解有機廢水處理的反應器,屬于污水處理工程中的核心裝置生物反應器。
背景技術
污水生物處理第一代反應器是全混合式反應器,由于處理效果不理想,隨后便研發出一系列的第二代反應器,升流式厭氧污泥床“UASB”反應器是其中的代表之一,它的特征是在反應器上部設置了一個氣、液、固三相分離器,使容積負荷率比第一代提高一倍多,目前國內外都有較多的工程在使用。
在升流式厭氧污泥床“UASB”反應器基礎上又研發出膨脹顆粒污泥床反應器“EGSB”第三代反應器,其容積負荷率比升降式厭氧污泥床“UASB”反應器提高約50%,但是由于性能不夠穩定,目前處于研究、試用階段。
第二代反應器升流式厭氧污泥床“UASB”和第三代反應膨脹顆粒污泥床反應器“EGSB”,其核心是三相分離器,這是反應器技術的一次重大突破。但是它仍然存在不足之處:
1.三相分離器中的沉淀區由于受到紊流等不利影響,使得沉淀效果不好。
2.回流縫處有部分進水和升流水的影響使污泥回流受到干擾。
3.經回流縫回流的污泥只能回到污泥懸浮層的上部,對反應器的處理效果貢獻有限。
結果便限制了反應器整體效果和使用的穩定性。
發明內容
本實用新型的目的是在于針對上述不足之處提供了一種自循環污泥床反應器,是一種高效的自循環污泥床反應器,克服了現有反應器的缺點,使其容積負荷率比升流式厭氧污泥床“UASB”提高一倍多,性能穩定、可控。
自循環污泥床反應器是采取以下技術方案實現的:
自循環污泥床反應器包括進水管、布水管、反應器筒體、導流底板、堰板、斜流板、污泥回流管、出水管、沼氣出口、排泥管、進水和污泥回流泵。反應器筒體底部設置有筒底,反應器筒體頂部設置有筒蓋,反應器筒體內上部設置有導流底板,在導流底板上部設置有堰板,在導流底板上部設置有斜流板,在反應器筒體內底部設置有布水管,污泥回流管一端與導流底板底部相連通,污泥回流管另一端與進水管相連通。
進水和污泥回流泵安裝在反應器筒體底部外側,進水和污泥回流泵進水口與進水管相連,進水和污泥回流泵出水口與布水管相連,布水管出口連接有排泥管。
在反應器筒體上部設置有出水管。在反應器筒體頂部的筒蓋上設置有沼氣出口。
在進水管上設置有進水閥,用于控制污水進水量。
在污泥回流管上設置有污泥回流閥,用于控制污泥回流量。
反應器筒體內設置有四個區,分別為污泥床區、污泥懸浮層區4、沉淀區和出水區。
自循環污泥床反應器沉淀區按照斜流式向心輻流沉淀原理設計,沉淀區在斜流板和導流底板之間,使沉淀率提高30~40%。
污泥的回流是由專設的污泥回流管和閥組成,回流的污泥經過回流管和閥之后進入反應器底部的進水和布水系統上升,經過污泥床,污泥懸浮層區和沉淀區,進行一次全循環過程。回流的污泥得到充分的降解,同時又增加了反應器的微生物量,使得反應器的效率提高。
污泥回流比是由污泥回流管上的閥和進水閥泵的調整得到控制,使反應器處于可控的最佳運行狀態。
污泥得到充分的沉淀和最佳的回流,則使污水的水質得到了優化,使反應器性能得到了保證。
反應器的高徑比,沉淀區和回流比等參數按照行業技術要求設計,規范化,標準化可靠性得到保證。
本實用新型具有以下優點:
1、反應器中沉淀區,按斜流式向心輻流沉淀原理設計,沉淀率比原三相分離器提高約30~40%。
2、污泥回流是由專設的管道、閥和進水泵控制,使污泥回流在可控制情況下進行。
3、污泥回流進入反應器底層的布水系統,再次進入污泥床污泥懸浮層區和沉淀區進行全循環,提高了污泥中有機物的降解率,同時又增加了反應器中的微生物量,使反應器的降解能力增加。
4、反應器在同等條件下,容積負荷率比升流式厭氧污泥床“UASB”反應器提高一倍多。







