申請日2013.08.27
公開(公告)日2014.03.12
IPC分類號C02F9/04
摘要
本實用新型涉及一種廢水除硬裝置。包括裝置主體,所述裝置主體由兩塊布水板從下至上依次分為氣助力反應區、切割反應區及出水區;所述氣助力反應區設置有曝氣裝置;所述切割反應區中填充有填料。本實用新型裝置結構簡單,不需要復雜的配套設施,維護方便。
權利要求書
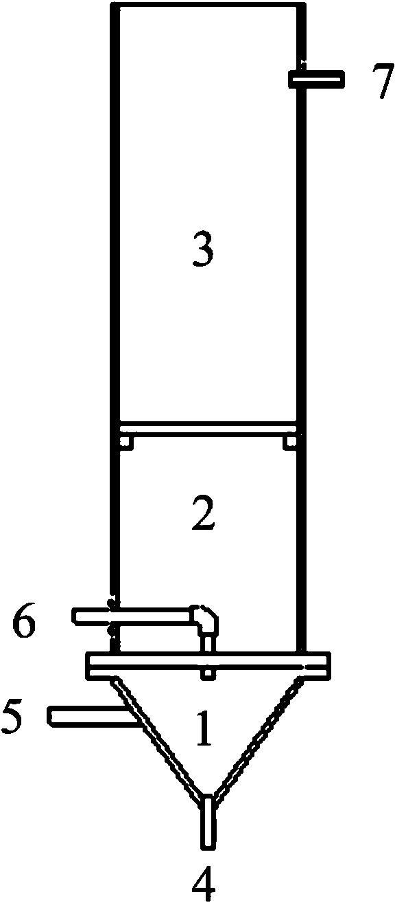
1.一種廢水除硬裝置,包括裝置主體,其特征在于,所述裝置主體由兩塊 布水板從下至上依次分為氣助力反應區(1)、切割反應區(2)及出水區(3); 所述氣助力反應區(1)設置有曝氣裝置(5);所述切割反應區(2)中填充有 填料。
2.如權利要求1所述的裝置,其特征在于,還包括進水管(6);進水管(6) 的出口位于氣助力反應區(1)。
3.如權利要求2所述的裝置,其特征在于,所述進水管(6)的出口位于 曝氣裝置(5)的上方。
4.如權利要求1所述的裝置,其特征在于,所述切割反應區(2)與出水 區(3)之間的布水板為可拆裝形式。
5.如權利要求1所述的裝置,其特征在于,所述氣助力反應區(1)的底 部設有排污口(4)。
6.如權利要求1所述的裝置,其特征在于,所述氣助力反應區(1)為平 底或錐形底。
7.如權利要求1所述的裝置,其特征在于,所述填料在切割反應區(2) 內交錯設置。
8.如權利要求1或7所述的裝置,其特征在于,所述填料的體積占整個裝 置主體體積的1/4~2/5。
9.如權利要求1所述的裝置,其特征在于,所述氣助力反應區(1)的體 積小于等于整個裝置主體體積的1/3;出水區(3)的體積大于等于整個裝置主 體體積的1/3。
10.如權利要求1所述的裝置,其特征在于,所述出水區(3)設有出水口 (7)。
說明書
一種廢水除硬裝置
技術領域
本實用新型涉及廢水除硬技術領域,尤其涉及一種廢水除硬裝置。
背景技術
硬度在水處理及用水過程中會產生諸如結垢等問題,嚴重影響生活及工業 生產。硬度過高還會對污水處理過程產生影響。因此,去除水中的硬度離子是 解決結垢、改善水處理效果、凈化水質的根本途徑。目前如化學沉淀法、納濾、 反滲透、電滲析等多種技術都可用于水的軟化,然而每種處理技術都存在其局 限性。其中,納濾、反滲透、電滲析等方法僅適用于低濃度硬度離子的處理, 且其裝置復雜,成本較高。
化學沉淀法是目前最常用的適用于較高硬度廢水的處理方法。典型的化學 沉淀法主要有石灰軟化法及其組合工藝,如石灰/蘇打軟化法,石灰/蘇打/磷酸軟 化法等。化學沉淀法中,多種化學藥劑的加入不僅提高了處理成本,而且石灰 乳會導致水的pH值上升,出水pH還需投加酸回調,有可能引起二次污染;加 入石灰乳還會增加固體廢棄物(CaCO3)的產量。
現有化學沉淀法的設備需要配藥罐或配藥池,以及相應的管線、泵、攪拌 器等配套裝置,裝置復雜。在設備的實際操作中,加CaO容易堵塞管道,加大 系統維護的難度,加入石灰乳會增加固體廢棄物(CaCO3)的產量。
針對上述缺點急需提出一種新的廢水除硬裝置。
實用新型內容
本實用新型的目的在于提供一種廢水除硬裝置。所述裝置結構簡單合理, 不需要復雜的配套設備,維護方便,可用于廢水除硬工藝中。
為達此目的,本實用新型采用以下技術方案:
一種廢水除硬裝置,包括裝置主體,所述裝置主體由兩塊布水板從下至上 依次分為氣助力反應區、切割反應區及出水區;所述氣助力反應區設置有曝氣 裝置;所述切割反應區中填充有填料。
以下作為本實用新型優選的技術方案,但不作為本實用新型提供的技術方 案的限制,通過以下技術方案,可以更好的達到和實現本實用新型的技術目的 和有益效果。
優選地,在本實用新型提供的技術方案的基礎上,所述裝置還包括進水管; 進水管的出口位于氣助力反應區。
優選地,在本實用新型提供的技術方案的基礎上,所述進水管的出口位于 曝氣裝置的上方。
優選地,在本實用新型提供的技術方案的基礎上,所述切割反應區與出水 區之間的布水板為可拆裝形式。
優選地,在本實用新型提供的技術方案的基礎上,所述氣助力反應區的底 部設有排污口。
優選地,在本實用新型提供的技術方案的基礎上,所述氣助力反應區為平 底或錐形底,優選為錐形底。
優選地,在本實用新型提供的技術方案的基礎上,所述填料在切割反應區 內交錯設置。
優選地,在本實用新型提供的技術方案的基礎上,所述填料的體積占整個 裝置主體體積的1/4~2/5。
優選地,在本實用新型提供的技術方案的基礎上,所述氣助力反應區的體 積小于等于整個裝置主體體積的1/3;出水區的體積大于等于整個裝置主體體積 的1/3。
優選地,在本實用新型提供的技術方案的基礎上,所述出水區設有出水口。
與已有技術方案相比,本實用新型具有以下有益效果:
本實用新型提供的技術方案中,裝置結構簡單,不需要復雜的配套設施, 維護方便。







