申請日2013.08.27
公開(公告)日2014.02.19
IPC分類號C02F11/12
摘要
本實用新型屬于固廢處理領域,具體涉及一種城市污泥干化裝置。本實用新型包括軸線傾斜放置的滾筒以及用于驅動該滾筒沿其軸線旋轉的驅動組件,滾筒內部具備有容納污泥的容納腔;容納腔沿滾筒軸向方向順延貫穿設置,且其進料端處于滾筒的高端部處,其出料端位于滾筒的低端部;城市污泥干化裝置還包括用于供給容納腔熱量的供熱通道以及收集和排除濕污泥烘干后飛灰廢熱的回風通道,所述供熱通道連通容納腔布置;回風通道進風端連通容納腔,出風端連通于外部飛灰廢熱處理設備。本實用新型污泥干化效率高,可避免傳統的“飛灰廢熱隨干泥同時排出”所導致的環境污染乃至人身安全等狀況的發生,其結構簡潔,操作可靠,工作效率高而安全穩定。
權利要求書
1.一種城市污泥干化裝置,其特征在于:包括軸線傾斜放置的滾 筒(10)以及用于驅動該滾筒(10)沿其軸線旋轉的驅動組件,滾筒(10) 內部具備有容納污泥的容納腔(11);容納腔(11)沿滾筒(10)軸向 方向順延貫穿設置,且其進料端處于滾筒(10)的高端部處,其出料端 位于滾筒(10)的低端部;城市污泥干化裝置還包括用于供給容納腔(11) 熱量的供熱通道(12)以及收集和排除濕污泥烘干后飛灰廢熱的回風通 道(13),所述供熱通道(12)連通容納腔(11)布置;回風通道(13) 進風端連通容納腔(11),出風端連通于外部飛灰廢熱處理設備。
2.根據權利要求1所述的城市污泥干化裝置,其特征在于:所述 回風通道(13)緊鄰容納腔(11),且回風通道(13)出風端位于滾筒 (10)的低端部處,其進風端連通容納腔(11)的位于滾筒(10)高端 部的一端處。
3.根據權利要求1所述的城市污泥干化裝置,其特征在于:所述 供熱通道(12)與容納腔(11)均呈圓管狀,供熱管道(12)套設于容 納腔(11)內且兩者同心布置,兩者彼此間由徑向布置的加強筋(14) 呈輻射狀固接;供熱通道(12)沿其軸向和/或周向方向依次布置有多 個貫穿管壁設置的通風孔(12a),所述通風孔(12a)構成容納腔(11) 內的熱風進風端。
4.根據權利要求1所述的城市污泥干化裝置,其特征在于:供熱 通道(12)尾端密封且在其進風端管壁處設置有喇叭狀熱風導向口 (12b),所述熱風導向口(12b)連通供熱通道(12)及容納腔(11), 熱風導向口(12b)的吹風導向方向指向滾筒(10)的高端部處布置。
5.根據權利要求1所述的城市污泥干化裝置,其特征在于:所述 容納腔(11)于其進料口處還設置有用于打散濕污泥的破泥筋條(11a), 破泥筋條(11a)外形呈直桿狀且沿容納腔(11)腔道布置方向順延設 置;所述容納腔(11)的內壁處還凸設有用于梳耙污泥的凸齒部(11b)。
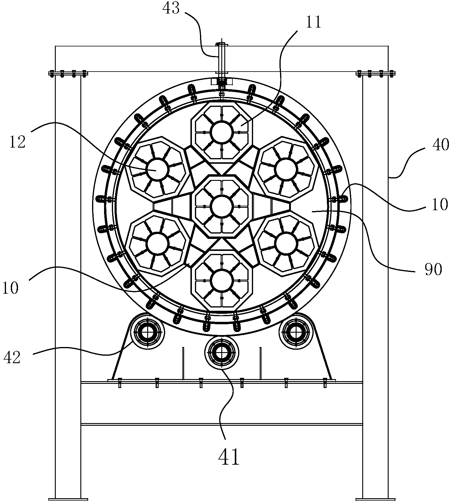
6.根據權利要求1所述的城市污泥干化裝置,其特征在于:所述 容納腔(11)包括位于滾筒(10)軸心處的中心容納腔(111)和環繞 中心容納腔(111)軸線呈軸對稱布置的旁支容納腔(112),所述中心 容納腔(111)和旁支容納腔(112)均具備相應的供熱通道(12)以形 成彼此獨立的污泥干化組件;所述滾筒(10)進料口亦分別包括對應指 向中心容納腔(111)進料端的中心進料口和對應指向旁支容納腔(112) 進料端的旁支進料口,所述中心進料口和旁支進料口均為一個且旁支進 料口的出口口徑與中心進料口的出口口徑之比等于旁支容納腔(112) 數目與中心容納腔(111)數目之比。
7.根據權利要求1所述的城市污泥干化裝置,其特征在于:所述 供熱通道(12)呈由其進風端至其密封端口徑減小的階梯管狀或錐形管 狀,旁支容納腔(112)為沿中心容納腔(111)軸線對稱布置的六個。
8.根據權利要求1所述的城市污泥干化裝置,其特征在于:滾筒 (10)由螺旋輸送機(20)供給進料,螺旋輸送機(20)的各出料端構 成滾筒(10)的相應進料口;容納腔(11)進料端處設置有便于進料的 “八”字形環板(15),所述“八”字形環板(15)的小口徑端構成螺 旋輸送機(20)的各出料端的插接端,“八”字形環板(15)的大口徑 端連通并罩設容納腔(11)進料端布置;兩兩臨近布置的旁支容納腔 (112)的進料口間還布置有用于引導濕污泥流向指定旁支容納腔(112) 處的擋泥引導板(16)。
9.根據權利要求1所述的城市污泥干化裝置,其特征在于:所述 城市污泥干化裝置還包括套設于滾筒(10)外的外殼體(30),所述外 殼體(30)外形呈圓筒狀,所述滾筒(10)外形呈圓柱狀且與外殼體(30) 間構成同心套插式配合;所述外殼體(30)為保溫殼體,外殼體(30) 上沿其周向均布有多個用于固定其與滾筒(10)位置關系的固定單元 (31);固定單元(31)為固定栓,其徑向貫穿外殼體(30)且端部緊 密抵靠支撐滾筒(10)外壁處設置。
10.根據權利要求1所述的城市污泥干化裝置,其特征在于:所述 固定單元(30)用于抵靠滾筒(10)的一端和/或栓身處包覆有隔熱層; 以周向環繞滾筒(10)布置的固定單元(30)數目為一組,所述固定單 元(30)為多組且沿滾筒(10)長度方向順延布置;固定單元(30)上 套設螺栓防雨罩。
11.根據權利要求1所述的城市污泥干化裝置,其特征在于:所述 城市污泥干化裝置還包括兩個以上的沿外殼體(30)軸向順次布置的支 撐架(40),所述外殼體(30)外壁與支撐架(40)間構成轉動配合; 所述支撐架(40)包括位于外殼體(30)下方處的用于托撐外殼體(30) 的托撐輥(41)以及用于扶持外殼體(30)的扶持輥(42),所述扶持 輥(42)為兩組且沿外殼體(30)軸線軸對稱布置;所述支撐架(40) 上還設置有用于定向滾筒(10)及外殼體(30)旋轉方向的定向輪(43)。
12.根據權利要求1所述的城市污泥干化裝置,其特征在于:滾筒 (10)高端部處罩設有回風罩(50),回風罩(50)外形呈圓桶狀且其 桶口端固接密封外殼體(30)高端部設置,所述回風罩(50)構成的回 風腔連通容納腔(11)和回風通道(13)以形成兩者的連接腔道;回風 罩(50)在其端頭部貫穿設置有用于穿設螺旋輸送機(20)的孔道,螺 旋輸送機(20)與回風罩(50)間密封布置。
13.根據權利要求1所述的城市污泥干化裝置,其特征在于:外殼 體(30)低端部處設置主供熱管(60),主供熱管(60)一端連通外部 引風機,另一端分別連通各供熱通道;主供熱管(60)外壁處套接有主 回風管(70),主回風管(70)內壁與主供熱管(60)外壁間所形成的 腔道構成連通回風通道(13)與外部飛灰廢熱處理設備的回風腔道;外 殼體(30)低端部與主回風管(70)外壁間設置密封段且兩者間構成回 轉配合關系;主回風管(70)外壁處同心布置齒輪部(81),所述城市 污泥干化裝置還包括動力源,所述動力源與齒輪部(81)嚙合傳動構成 驅動滾動旋轉的驅動組件。
說明書
一種城市污泥干化裝置
技術領域
本實用新型屬于固廢處理領域,具體涉及一種城市污泥干化裝置。
背景技術
隨著城市化進程的不斷加快以及現代化工業的發展。每年全球均 會產生數量巨大的各類城市生活污泥和工業污泥。為此,人們開始尋求 某種合適的工藝方式以有效處理上述污泥。污泥干化技術是一種常見的 可有效降低污泥含水率以便于其繼續進行后續處理的技術,具體即為在 專門設計的設備中對污泥進行加熱,蒸發其中水分的過程,其不但可有 效地實現對于污泥中的“自由水”的去除效果,同時也對其中的“間隙 水”、“表面結合水”乃至“內部結合水”都可起到快速蒸發目的;由于 該技術可根據后續處理工序的要求,將污泥干化至指定的含水率,因此 其被廣泛的應用于現有污泥干化處理中。
污泥干化通常使用專用的污泥干化機,以蒸汽、高溫煙氣或就受 熱的導熱油乃至太陽能作為熱源,采用直接或間接的加熱方式,輔以混 合和攪拌,進而達到其干化目的。其中,直接傳熱式污泥干化機,這在 申請人為蘇州市自力化工設備有限公司于2010年6月22日申請的發明 專利《污泥干化工藝及設備》等文本中均有所描述,其大都是以鍋爐高 溫煙氣等作為熱源,使其進入干化機后與濕污泥直接接觸,通過熱對流 方式以直接帶出濕污泥內的水分;該種方式除濕效率高,但由于大量煙 氣與濕污泥的直接接觸和析出,導致飛灰廢熱中粉塵含量巨大,又因無 妥善的后續粉塵分離措施,往往易于產生粉塵爆炸等安全隱患。間接傳 熱式污泥干化機中,污泥和熱源不直接接觸,而是通過熱傳導的方式進 行熱量傳遞,如申請人為浙江大學于2012年4月19日申請的發明專利 《污泥干化焚燒集成處理系統及其工藝》就給出了一種間接傳熱式污泥 干化方式,由于污泥和熱源被人為的分隔開來,其加熱煙氣清潔度好, 無相關粉塵隱患,因此使用較多;然而,由于目前的間接傳熱式干化機 或采用類似鍋灶的靜態培烘的方式,導致其內部在重力作用下產生污泥 沉降而出現單面加熱現象,加熱不夠均勻,從而導致待處理污泥無法均 勻干透,除濕效率較差,即使如前述專利文本中的定、動齒交錯且動齒 呈空心煙道設計的方式,其方式也不但導致其結構復雜繁冗,維護極其 不便,同時還會致使其內污泥在定齒下部腔室內大量淤積而出現無法烘 透和直接燒結的現象,此外,由于其動齒齒面為垂直其轉軸方向設置, 如何保證污泥在烘干后的出料目的,就其機構而言顯然是無法確鑿實現 的;此外,目前的污泥干化機,由于其污泥容納腔始終需要頻繁接觸或 干或濕的污泥,其劇烈摩擦后的容納腔磨損率極高,使用壽命也往往影 響到整機的實際使用效率。如何研發出一種結構合理的城市污泥干化裝 置,從而使其確實的起到便捷而高效率的污泥干化目的,為國內外近十 年來所迫待解決的技術難題。
發明內容
本實用新型的目的在于克服上述現有技術的不足,提供一種結構合 理而實用的城市污泥干化裝置,其工作效率高而安全穩定。
為實現上述目的,本實用新型采用了以下技術方案:
一種城市污泥干化裝置,其特征在于:包括軸線傾斜放置的滾筒以 及用于驅動該滾筒沿其軸線旋轉的驅動組件,滾筒內部具備有容納污泥 的容納腔;容納腔沿滾筒軸向方向順延貫穿設置,且其進料端處于滾筒 的高端部處,其出料端位于滾筒的低端部;城市污泥干化裝置還包括用 于供給容納腔熱量的供熱通道以及收集和排除濕污泥烘干后飛灰廢熱 的回風通道,所述供熱通道連通容納腔布置;回風通道進風端連通容納 腔,出風端連通于外部飛灰廢熱處理設備。
且回風通道出風端位于滾筒的低端部處,其進風端連通容納腔的位 于滾筒高端部的一端處。
所述供熱通道與容納腔均呈圓管狀,供熱管道套設于容納腔內且兩 者同心布置,兩者彼此間由徑向布置的加強筋呈輻射狀固接;供熱通道 沿其軸向和/或周向方向依次布置有多個貫穿管壁設置的通風孔,所述 通風孔構成容納腔內的熱風進風端。
供熱通道尾端密封且在其進風端管壁處設置有喇叭狀熱風導向口, 所述熱風導向口連通供熱通道及容納腔,熱風導向口的吹風導向方向指 向滾筒的高端部處布置。
所述容納腔于其進料口處還設置有用于打散濕污泥的破泥筋條,破 泥筋條外形呈直桿狀且沿容納腔腔道布置方向順延設置;容納腔的內壁 處還凸設有用于梳耙污泥的凸齒部。
所述容納腔包括位于滾筒軸心處的中心容納腔和環繞中心容納腔 軸線呈軸對稱布置的旁支容納腔,所述中心容納腔和旁支容納腔均具備 相應的供熱通道以形成彼此獨立的污泥干化組件;所述滾筒進料口亦分 別包括對應指向中心容納腔進料端的中心進料口和對應指向旁支容納 腔進料端的旁支進料口,所述中心進料口和旁支進料口均為一個且旁支 進料口的出口口徑與中心進料口的出口口徑之比等于旁支容納腔數目 與中心容納腔數目之比。
所述供熱通道呈由其進風端至其密封端口徑減小的階梯管狀或錐 形管狀,旁支容納腔為沿中心容納腔軸線對稱布置的六個。
滾筒由螺旋輸送機供給進料,螺旋輸送機的各出料端構成滾筒的相 應進料口;容納腔進料端處設置有便于進料的“八”字形環板,所述“八” 字形環板的小口徑端構成螺旋輸送機的各出料端的插接端,“八”字形 環板的大口徑端連通并罩設容納腔進料端布置;兩兩臨近布置的旁支容 納腔的進料口間還布置有用于引導濕污泥流向指定旁支容納腔處的擋 泥引導板。
所述城市污泥干化裝置還包括套設于滾筒外的外殼體,所述外殼體 外形呈圓筒狀,所述滾筒外形呈圓柱狀且與外殼體間構成同心套插式配 合;所述外殼體為保溫殼體,外殼體上沿其周向均布有多個用于固定其 與滾筒位置關系的固定單元;固定單元為固定栓,其徑向貫穿外殼體且 端部緊密抵靠支撐滾筒外壁處設置。
所述固定單元用于抵靠滾筒的一端和/或栓身處包覆有隔熱層;以 周向環繞滾筒布置的固定單元數目為一組,所述固定單元為多組且沿滾 筒長度方向順延布置;固定單元上套設螺栓防雨罩。
所述城市污泥干化裝置還包括兩個以上的沿外殼體軸向順次布置 的支撐架,所述外殼體外壁與支撐架間構成轉動配合;所述支撐架包括 位于外殼體下方處的用于托撐外殼體的托撐輥以及用于扶持外殼體的 扶持輥,所述扶持輥為兩組且沿外殼體軸線軸對稱布置;所述支撐架上 還設置有用于定向滾筒及外殼體旋轉方向的定向輪。
滾筒高端部處罩設有回風罩,回風罩外形呈圓桶狀且其桶口端固接 密封外殼體高端部設置,所述回風罩構成的回風腔連通容納腔和回風通 道以形成兩者的連接腔道;回風罩在其端頭部貫穿設置有用于穿設螺旋 輸送機的孔道,螺旋輸送機與回風罩間密封布置。
外殼體低端部處設置主供熱管,主供熱管一端連通外部引風機,另 一端分別連通各供熱通道;主供熱管外壁處套接有主回風管,主回風管 內壁與主供熱管外壁間所形成的腔道構成連通回風通道與外部飛灰廢 熱處理設備的回風腔道;外殼體低端部與主回風管外壁間設置密封段且 兩者間構成回轉配合關系;主回風管外壁處同心布置齒輪部,所述城市 污泥干化裝置還包括動力源,所述動力源與齒輪部嚙合傳動構成驅動滾 動旋轉的驅動組件。
本實用新型的主要優點如下:
1)、摒棄了傳統的單純使用直接供熱組件或間接供熱組件所導致的 各種缺陷,一方面依靠旋轉滾筒的布置,從而有效的解決了濕污泥于容 納腔內的快速培烘問題,利用滾筒的自身旋轉,濕污泥在進入容納腔后, 也即產生隨動并不斷翻轉,以同時與供熱通道內傳輸來的熱氣混合達到 有效烘干目的;更為主要的是,在熱氣烘干濕污泥后,其所產生的飛灰 廢熱中含有的大量粉塵等危險因素可自然的隨專門設置的回風通道引 導至外部相應的飛灰廢熱處理設備,從而避免了傳統的“飛灰廢熱隨干 泥同時排出”所導致的環境污染乃至人身安全等狀況的發生。此外,傾 斜布置的滾筒,也有效的確保了濕污泥在進入容納腔并不斷翻轉干化 后,其最終干泥能夠適時的在重力及滾筒旋轉力的作用下被自然輸送至 滾筒低端部處的出料口,以達到自動進料和排泥目的,其結構簡潔,操 作可靠,工作效率高而安全穩定。
2)、回風通道的布置,亦為本實用新型的其中一個重點,也即:回 風通道不單單是連通容納腔并輸送飛灰廢熱的通道,同時,利用回風通 道內的飛灰廢熱本身仍具備一定溫度的特點,而將其緊鄰容納腔布置, 換句話說,此時回風通道內的飛灰廢熱包覆容納腔外壁或貼附在容納腔 外壁進行流動;其整個氣體流向,經熱風供氣到飛灰廢熱排出形成類似 “U”狀流向,“U”狀流向所圍合的區域內即為容納腔所在區域,此時 隔熱通道形成對于濕污泥的“直接”的第一道烘干,而含有部分溫度的 回風通道內的飛灰廢熱再排出過程中再次經過容納腔外壁,而“間接” 的實現對于其內濕污泥的第二次烘干流程;多達兩道的烘干程序,從而 在確保濕污泥烘干質量的前提下也大大的降低了其實際的培烘干化成 本,一舉多得。
3)、喇叭狀熱風導向口,其用意在于實現容納腔內飛灰廢熱的引導 指向;這是由于滾筒本身的傾斜布置,而其自身的排料結構由必須保證 其高端進料而低端出料,同時熱風為低端進風而高端出風,因此,為避 免培烘后的飛灰廢熱可能在容納腔內直接隨干泥沿其出料口排除,一方 面通過熱風導向口實現“氣閘”效果,確保飛灰廢熱不至于由滾筒出料 口直接排出而引起事故,另一方面,熱風導向口處吹出的熱風所產生的 氣流,引導并驅使飛灰廢熱向滾筒高端部處升騰,并最終沿連通容納腔 的位于滾筒高端部的一端處的回風通道進風端得以順利排出。整個流程 整潔高效,從而為前述的回風通道的正常工作提供保證。
4)、破泥筋條的設置,確保了濕污泥在進入滾筒后的打散效果,避 免濕污泥在進入容納腔后成團淤積而導致的無法有效翻轉烘干現象;容 納腔的內壁處設置的凸齒部,更是確保濕污泥在沿容納腔內壁翻滾時, 能夠適時的不斷被凸齒部翻動耙松,以為滾筒的實際干化效率作出有利 影響。
5)、本實用新型的容納腔,實際布置為多個,可以理解為首先布置 中心容納腔環繞中心容納腔布置的供熱通道,再以中心容納腔軸心為圓 心,周向環繞均布有多個的旁支容納腔,同時旁支容納腔也相應的布置 供熱通道,最終形成本實用新型的滾筒培烘結構。實際使用時,對應不 同的滾筒進料口,通過外部機械的輸送,中心容納腔不間斷的供料,因 此其進料口徑較小,從而滿足其不間斷小流量供料效果;而旁支容納腔 存在旋轉和間斷供料現象,因此必須通過大的進料口徑以滿足其短時間 大流量的供料目的。本實用新型通過上述設計結構,避免了采用單個的 大型容納腔所導致的或濕污泥進料過多而產生無法快速烘干,或濕污泥 進料少卻本身生產效率不足的缺陷,一方面分散化后的小型容納腔保證 了濕污泥的快速烘干需求,而依靠多個的容納腔,則確保了單位時間內 的濕污泥處理量,最終確保其實際生產效率。
6)、供風通路的實際結構,此處以其階梯管狀或錐形管狀為主,從 而確保其內熱風在不斷沿通風孔逸散的過程中,仍能在供風通路內形成 較高的風壓,以保證供風通路末端處的熱風供應能力。旁支容納腔的布 局數目,可根據實際生產情況而定,此處就不再一一贅述。
7)、“八”字形環板的設置,也就是在螺旋輸送機的進料口處形成 兜底結構,以避免濕污泥在沿螺旋輸送機進入容納腔時,出現污泥飛濺 或散漏現象,最終起到聚攏濕污泥和部分的導向濕污泥的效果;而擋泥 引導板,更是考慮到了由于旁支進料口僅為一個而且是不斷出料的,在 其沿滾筒周向旋轉并不斷向各旁支容納腔輸料的過程中,兩兩相鄰的旁 支容納腔之間能夠依靠其引導板特性,從而在旁支進料口位于兩旁支容 納腔之間時,仍能夠確保濕污泥沿其引導板進入其中一個旁支容納腔 處,以確保其濕污泥供應效果。
8)、滾筒外部設置外殼體,也即滾筒與外殼體間構成可拆卸式配合, 解決了傳統的因污泥被攪拌乃至干化后的與容納腔壁的劇烈摩擦磨損, 而出現的滾筒使用壽命下降問題;實際操作時,一旦產生上述情況,即 可直接通過人為或機械方式進行滾筒拆卸并重新加設新的滾筒,從而繼 續起到可靠工作的目的;其裝拆效率高,不但有效的確保了整機的實際 使用壽命,更可極大的縮減其維護成本,從而也就間接的提升了其實際 工作效率。
9)、通過固定單元的沿外殼體軸向及長度方向的均布作用,從而起 到對于其內滾筒的全方位的約束效果,在驅動組件的帶動下,自始自終 滾筒都能確切的產生旋轉動作,其工作可靠穩定。隔熱層的使用,則是 考慮到固定單元本身的直徑需求;使用時為保證固定單元工作剛度,必 然使用尺寸較粗的螺栓,而過大尺寸的螺栓其熱傳導面積也就更大;通 過隔熱層的存在,會極大的避免加熱腔道內的熱量直接通過螺栓部而傳 輸發散到外部,從而確保了加熱腔道內熱量的集中性和不逸散性,以為 確保整機的工作效率打下基礎。
10)、本實用新型依靠支撐架上的輪組與驅動組件的配合,以起到 驅動斜向布置的滾筒乃至整個外殼體的旋轉目的;定向輪的設置,更是 保證了滾筒旋轉時的適時導向校正,最終確保滾筒工作時的可靠穩定 性。
11)、實際上,滾筒的高端部,也即為滾筒傾斜后的相對較高的一 端,其低端部反之亦然。而通過布置于滾筒部高端部處也即與外殼體相 應端間呈固接布置的回風罩,從而形成上述“U”形流道的底部轉折部, 依靠回風罩所形成的連接腔道,實現了熱風由主供熱管、供熱通道、通 氣孔、容納腔,并在與濕污泥反應轉變為飛灰廢熱后,再由連接腔道、 回風通道最終至外部尾氣處理設備的一條龍流程。主供熱管與主回風管 所形成的同心套接結構,更是確保了其上密封結構的最簡化,主回風管 外壁處布置的齒輪部和相應動力源的聯動,最終構成驅動組件,從而完 成對于滾筒的驅動功能,其結構功能清楚,工作可靠穩定而效率高。







