申請日2013.08.27
公開(公告)日2014.03.26
IPC分類號B08B9/20
摘要
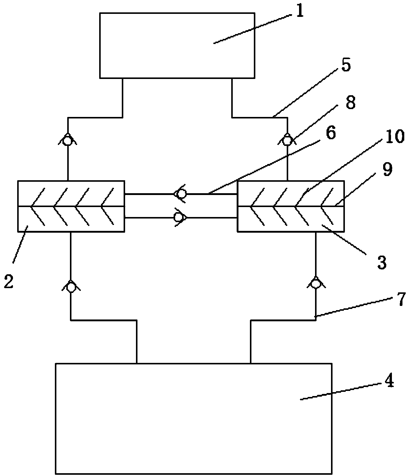
本實用新型公開了一種飲料瓶清洗廢水的循環利用系統,其特征在于:包括有水塔、一號清洗池、二號清洗池以及污水池,所述水塔通過兩個進水管道分別與一號清洗池和二號清洗池連通,所述一號清洗池和二號清洗池之間設有相互連通的兩放水管道,所述一號清洗池和二號清洗池與污水池之間分別通過出水管道連通,且出水管道、放水管道以及進水管道上均設有單向水閥,所述一號清洗池、二號清洗池中分別架設有攪拌棒,所述攪拌棒上分布有套有橡膠套的攪拌桿。本實用新型結構設計合理,既節約了水資源,降低了生產成本,又保證了產品的后期質量,同時攪拌桿的端部套裝橡膠套,避免攪拌過程中損壞瓶子。
權利要求書
1.一種飲料瓶清洗廢水的循環利用系統,其特征在于:包括有水塔、一號清洗池、二號清洗池以及污水池,所述水塔通過兩個進水管道分別與一號清洗池和二號清洗池連通,所述一號清洗池和二號清洗池之間設有相互連通的兩放水管道,所述一號清洗池和二號清洗池與污水池之間分別通過出水管道連通,且出水管道、放水管道以及進水管道上均設有單向水閥,所述一號清洗池、二號清洗池中分別架設有攪拌棒,所述攪拌棒上分布有套有橡膠套的攪拌桿。
說明書
一種飲料瓶清洗廢水的循環利用系統
技術領域
本實用新型涉及飲料瓶裝罐生產設備領域,尤其涉及一種飲料瓶清洗廢水的循環利用系統 。
背景技術
目前,飲料瓶在灌裝前需要對其進行清洗,而清洗瓶時,大都清洗一次,每次清洗后的水都是直接排放,這樣浪費了大量的水資源,不能達到資源的合理利用,提高了生產成本,同時清洗一次的質量差,影響產品后期質量。
實用新型內容
本實用新型的目的是為了彌補已有技術的不足,提供了一種飲料瓶清洗廢水的循環利用系統。
本實用新型是通過以下技術方案來實現的:
一種飲料瓶清洗廢水的循環利用系統,其特征在于:包括有水塔、一號清洗池、二號清洗池以及污水池,所述水塔通過兩個進水管道分別與一號清洗池和二號清洗池連通,所述一號清洗池和二號清洗池之間設有相互連通的兩放水管道,所述一號清洗池和二號清洗池與污水池之間分別通過出水管道連通,且出水管道、放水管道以及進水管道上均設有單向水閥,所述一號清洗池、二號清洗池中分別架設有攪拌棒,所述攪拌棒上分布有套有橡膠套的攪拌桿。
其原理是:采用兩個清洗池,將一號清洗池中第二次清洗的水排放到二號清理池中,作為二號清理池中的第一次清洗水,清洗后將水排放到污水池中,然后對二號清洗池進行二次清洗,清洗后,二號清洗池的清洗水排放到一號清洗池中,作為下批清洗飲料瓶的清洗水,如此往復操作即可,既節約了水資源,降低了生產成本,又保證了產品的后期質量,同時通過攪拌棒進行攪拌,加速了清洗效率,攪拌桿的端部套裝橡膠套,避免攪拌過程中損壞瓶子。
本實用新型的優點是:
本實用新型結構設計合理,既節約了水資源,降低了生產成本,又保證了產品的后期質量,同時攪拌桿的端部套裝橡膠套,避免攪拌過程中損壞瓶子。







