申請日2013.11.28
公開(公告)日2014.07.16
IPC分類號C02F9/14
摘要
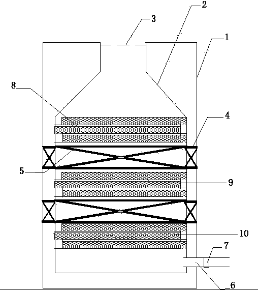
一種新型污水處理裝置由由外置罐體1及內置罐體2組成,外置罐體1及內置罐體2內部均設置有抗壓裝置,內置罐體2由柵格3、吸附池8、生化處理池9及鋼料池10組成,本實用新型的有益效果是:裝置整體結構簡單,由于其采用垂直設計方式,充分利用了重力原理,水流自動向下流動從而節約了資源,由于其采用斷槽多層設計,因而增加了處理能力顯著增加了污水凈化效果。
權利要求書
1.一種新型污水處理裝置由由外置罐體及內置罐體組成,外置罐體及內置罐體內部均設置有抗壓裝置,內置罐體由柵格、吸附池、生化處理池及鋼料池組成,所述的柵格柵格位于內置罐體的頂部,所述的吸附池、生化處理池及鋼料池在內置罐體內部按照自上而下的方式排列設置,所述的吸附池、生化處理池及鋼料池為斷槽多層池。
2.根據權利要求1所述的一種新型污水處理裝置,其特征在于抗壓裝置分別設置在外置罐體與內置罐體的連接處及內置罐體的內側壁上。
說明書
一種新型污水處理裝置
技術領域
本實用新型涉及一種污水處理裝置,尤其涉及一種能顯著增強凈化效果及抗壓能力的新型污水處理裝置。
背景技術
水是生命之源,由于人口及生產能力的增加隨之產生了數量驚人的污水,但由于技術所限現實生活中很少或沒有對污水進行再處理并對其進行循環應用,造成這一現象的原因很多,但歸根究底是現有技術無法對污水進行方便、高效的處理功效,并由于技術缺陷如污水處理裝置埋與地下,但沒有考慮污水處理裝置的抗腐蝕能力及抗壓效果導致裝置使用壽命較短,其產生的經濟效益不足與維護設備的運行或利潤較低,導致污水處理設備沒有較大范圍的推廣。
發明內容
為解決上述缺陷,本實用新型提供一種新型污水處理裝置,其采用斷槽多層池來增加污水凈化效果,在裝置內部通過設置抗壓裝置增加裝置整體的抗壓效果,并通過在內置罐體的外部設置外置罐體增加其抗腐蝕能力,延長其使用壽命。
為實現上述目的,本實用新型采用以下技術方案:一種新型污水處理裝置由由外置罐體1及內置罐體2組成,外置罐體1及內置罐體2內部均設置有抗壓裝置,內置罐體2由柵格3、吸附池8、生化處理池9及鋼料池10組成,所述的柵格3位于內置罐體2的頂部,所述的吸附池8、生化處理池9及鋼料池10在內置罐體2內部按照自上而下的方式排列設置,所述的吸附池8、生化處理池9及鋼料池10為斷槽多層池。
進一步,所述的抗壓裝置分別設置在外置罐體1與內置罐體2的連接處及內置罐體2的內側壁上。
進一步,所述的吸附池8、生化處理池9及鋼料池10為斷槽多層池。
進一步,所述的吸附池8、生化處理池9及鋼料池10在內置罐體2內部按照自上而下的方式排列。
進一步,所述的抗壓裝置由抗壓圈4及條狀支撐臂5組成,抗壓圈4分別安裝在外置罐體1的內側壁與內置罐體2的外側壁連接處,抗壓圈4還安裝在內置罐體2的內側壁上,抗壓圈4之間通過條狀支撐臂5加以支撐,條狀支撐臂5的交匯處通過固定裝置11加以固定。
進一步,所述的內置罐體2底部設置有凈水出水管6,凈水出水管6上設置有提升泵7。
進一步,所述的柵格3位于內置罐體2的頂部,用于攔截流入罐體的污水中的較大體積污染物。
進一步,所述的內置罐體2位于外置罐體1的內部。
本實用新型的有益效果是:裝置整體結構簡單,由于其采用垂直設計方式,充分利用了重力原理,水流自動向下流動從而節約了資源,由于其采用斷槽多層設計,因而增加了處理能力顯著增加了污水凈化效果。







