申請日2013.08.28
公開(公告)日2015.03.18
IPC分類號E03D1/00; E03C1/12; E03D5/00
摘要
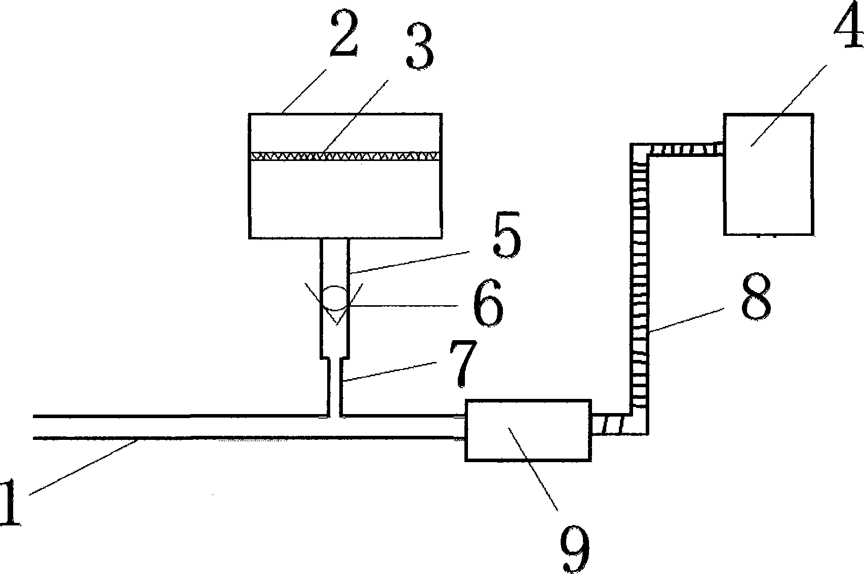
本發明涉及一種二次利用廢水沖洗的家用抽水馬桶,屬于衛浴領域。一種二次利用廢水沖洗的家用抽水馬桶包括:自來水上水管(1)和抽水馬桶水箱(4),其特征是,還包括廢水儲備箱(2),所述廢水儲備箱(2)通過出水管(5)與自來水上水管(1)連接,在出水管(5)上設單向閥(6);在出水管(5)位于單向閥(6)之下到自來水上水管(1)的一段為縮頸管(7);在廢水儲備箱(2)內設置有過濾網(3)。廢水通過廢水儲備箱(2)收集后被吸入抽水馬桶水箱(4)進行二次利用,用來沖洗家用抽水馬桶。
權利要求書
1.一種二次利用廢水沖洗的家用抽水馬桶,包括自來水上水管(1)和抽水馬桶水箱(4), 其特征是,還包括廢水儲備箱(2),廢水儲備箱(2)通過出水管(5)與自來水上水管(1) 連接,在出水管(5)上設單向閥(6);在出水管(5)位于單向閥(6)之下到自來水上水管(1) 的一段為縮頸管(7)。
2.根據權利要求1所述的一種二次利用廢水沖洗的家用抽水馬桶,其特征是,在自來 水上水管(1)與抽水馬桶水箱連接管(8)之間采用連接管(9)套連接。
3.根據權利要求1所述的一種二次利用廢水沖洗的家用抽水馬桶,其特征是,在廢水 儲備箱(2)內設置有過濾網(3)。
說明書
一種二次利用廢水沖洗的家用抽水馬桶
技術領域
本發明涉及一種抽水馬桶,尤其涉及一種二次利用廢水沖洗的家用抽水馬桶,屬于 衛浴領域。
背景技術
現在很缺水,尤其是淡水,家庭用水中占了淡水使用的大部分,同時浪費情況很嚴 重,洗澡、洗菜、洗衣服的水痘需要清潔的水,但是沖沖水馬桶的水不需要這么干凈, 洗澡、洗菜、洗衣服的水用來沖抽水馬桶也沒問題,但目前的抽水馬桶用的都是自來水 上水管直接通來的清潔自來水,這樣做是很不必要的,屬于水資源的浪費。
現有一種技術采用引入海水沖洗抽水馬桶以達到節約淡水資源的效果,但這需要設 計到整個市政建設,作為家庭無能為力,家庭可以利用的是洗澡、洗菜、洗衣服的廢水。
發明內容
針對上述問題,提出本發明的技術發明。
本發明目的是:節約用水,充分利用水資源,對廢水二次利用。
本發明要解決的關鍵技術是如何設計一種可以方便儲備廢水并對其二次利用來沖 洗抽水馬桶的結構。
本發明采用的技術方案是:
一種二次利用廢水沖洗的家用抽水馬桶,包括自來水上水管(1)和抽水馬桶水箱(4), 其特征是,還包括廢水儲備箱(2),所述廢水儲備箱(2)通過出水管(5)與自來水上水管(1) 連接,在出水管(5)上設單向閥(6);在出水管(5)位于單向閥(6)之下到自來水上水管(1)的 一段為縮頸管(7)。
進一步的,在自來水上水管(1)與抽水馬桶水箱連接管(8)之間采用連接管(9)套連接。
進一步的,所述廢水儲備箱(2)內設置有過濾網(3)。
所述連接管9是起到穩流的作用,自來水管在流動時,將縮徑管7中的水有吸入后, 需進行穩流,再對抽水馬桶水箱供水。因此,連接管9管徑比自來水上水管略大即可, 可采用1.5倍,若新型連接管管徑較自來水上水管管徑過大的話,會對抽水馬桶供水壓 力造成一定影響。
所述縮頸管7的管徑小于儲水箱出水管5即可,但為了使供水管對縮徑管中水的吸 附作用更明顯,因此,采用1/2倍管徑后,縮徑管的吸附作用產生很好。
本發明的有益效果是,可以收集廢水并對其二次利用,節約了水資源。
本發明的特點是:結構簡單、造價低、經濟性好,操作簡單,。







