申請日2014.11.07
公開(公告)日2015.03.11
IPC分類號B67D7/02
摘要
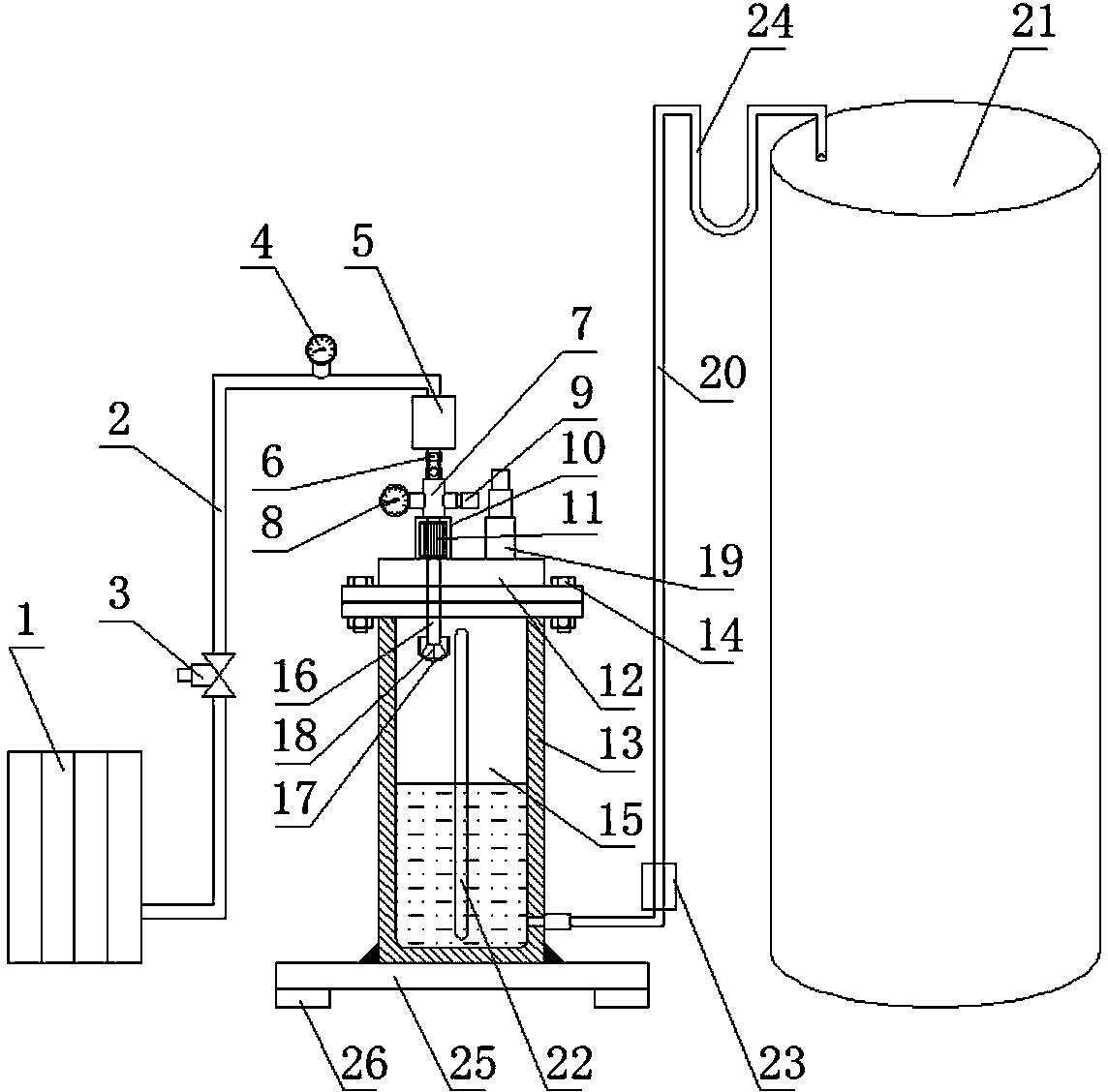
本實用新型提供一種污水罐加藥裝置,屬于污水處理設備技術領域,其結構包括氣體壓力管網、加藥罐和污水罐,氣體壓力管網上連接有壓縮氣輸送管,壓縮氣輸送管上設置有電磁閥和管道壓力表,壓縮氣輸送管末端連接減壓溢流閥上端,減壓溢流閥下端連接有單向閥,單向閥下端連接到四通管的上端,四通管的兩個側端分別連接終端壓力表和備用外接管,四通管下端連接有空氣過濾器,空氣過濾器內設置有空氣過濾濾芯,空氣過濾器連通到封頭上,封頭與加藥罐之間通過法蘭連接,加藥罐內設置為藥液內腔;加藥罐底部連通有加藥管,加藥管末端連接到污水罐的罐頂。該污水罐加藥裝置節省人工,提高操作安全,提高工作效率。
權利要求書
1.污水罐加藥裝置,其特征在于包括氣體壓力管網、加藥罐和污水罐,
氣體壓力管網上連接有壓縮氣輸送管,壓縮氣輸送管上設置有電磁閥和管道壓力表,
壓縮氣輸送管末端連接減壓溢流閥上端,減壓溢流閥下端連接有單向閥,單向閥下端連接到四通管的上端,四通管的兩個側端分別連接終端壓力表和備用外接管,四通管下端連接有空氣過濾器,空氣過濾器內設置有空氣過濾濾芯,空氣過濾器連通到封頭上,封頭與加藥罐之間通過法蘭連接,加藥罐內設置為藥液內腔;
空氣過濾器末端的連通管伸入到藥液內腔頂部,且連通管末端設置有氣流擋碗,氣流擋碗碗口朝向連通管末端管口,連通管和氣流擋碗之間通過連桿架固定連接;
封頭上設置有泄壓閥;
加藥罐底部連通有加藥管,加藥管末端連接到污水罐的罐頂。
2.根據權利要求1所述的污水罐加藥裝置,其特征在于空氣過濾濾芯采用紙質干式空氣過濾濾芯。
3.根據權利要求1所述的污水罐加藥裝置,其特征在于加藥罐上設置有液位儀。
4.根據權利要求1所述的污水罐加藥裝置,其特征在于加藥管上設置有流量計。
5.根據權利要求1所述的污水罐加藥裝置,其特征在于污水罐的罐頂一段的加藥管上設置有U型液封管。
6.根據權利要求1所述的污水罐加藥裝置,其特征在于加藥罐底部固定焊接在底座上,底座底部設置有支腳。
說明書
污水罐加藥裝置
技術領域
本實用新型涉及污水處理設備技術領域,具體地說是一種污水罐加藥裝置。
背景技術
一般的,污水管經常冒沫,欲要改變冒沫現象,需經常性地往污水罐中添加藥液;污水罐原沒有任何加藥裝置,需人工爬梯子到6米高的池子頂部進行加藥,非常不方便,實際使用過程中存在以下不足:爬梯子到灌頂進行加藥,工作人員負重量大,人身不安全,且工作效率低,無法實時操作和控制加藥量。
發明內容
本實用新型的技術任務是解決現有技術的不足,提供一種污水罐加藥裝置。
本實用新型的技術方案是按以下方式實現的,該污水罐加藥裝置,其結構包括氣體壓力管網、加藥罐和污水罐,
氣體壓力管網上連接有壓縮氣輸送管,壓縮氣輸送管上設置有電磁閥和管道壓力表,
壓縮氣輸送管末端連接減壓溢流閥上端,減壓溢流閥下端連接有單向閥,單向閥下端連接到四通管的上端,四通管的兩個側端分別連接終端壓力表和備用外接管,四通管下端連接有空氣過濾器,空氣過濾器內設置有空氣過濾濾芯,空氣過濾器連通到封頭上,封頭與加藥罐之間通過法蘭連接,加藥罐內設置為藥液內腔;
空氣過濾器末端的連通管伸入到藥液內腔頂部,且連通管末端設置有氣流擋碗,氣流擋碗碗口朝向連通管末端管口,連通管和氣流擋碗之間通過連桿架固定連接;
封頭上設置有泄壓閥;
加藥罐底部連通有加藥管,加藥管末端連接到污水罐的罐頂。
空氣過濾濾芯采用紙質干式空氣過濾濾芯。
加藥罐上設置有液位儀。
加藥管上設置有流量計。
污水罐的罐頂一段的加藥管上設置有U型液封管。
加藥罐底部固定焊接在底座上,底座底部設置有支腳。
本實用新型與現有技術相比所產生的有益效果是:
該污水罐加藥裝置利用原有的壓縮空氣,在地面就能把藥液打到污水罐頂部,無須人工爬梯子到污水罐頂部加藥,節省人工,提高操作安全,提高工作效率。
該污水罐加藥裝置使用方便、有利于提高生產效率及杜絕安全隱患。
該污水罐加藥裝置為了避免安全隱患及操作方便,加藥裝置是設置在污水罐底部的地面上。
該污水罐加藥裝置為了節約能源,壓縮空氣可以利用工廠配置的現有的氣體壓力管網。
該污水罐加藥裝置設計合理、結構簡單、安全可靠、使用方便、易于維護,具有很好的推廣使用價值。







