申請日2013.09.24
公開(公告)日2014.03.26
IPC分類號C02F1/461
摘要
本實用新型涉及電化學工業循環冷卻水處理、污水處理領域,具體為一種漸進三級電化學水處理設備。解決了目前電化學水處理過程中有毒有害物質處理效果不夠明顯以及陰極上的被吸附物質清理較為困難的技術問題。一種漸進三級電化學水處理設備,包括呈筒狀且上端口設有上端蓋的缸體;上端蓋上開有進水口;缸體的上端蓋上開有出水口;所述缸體內部設有三個軸線與缸體軸線重合的直徑不等的筒狀網型陽極;缸體內部還設有兩個軸線與缸體軸線重合的筒狀陰極。本實用新型所述的水處理設備采用三級結構進行水處理,水與電極接觸面積大,去除能力強;陰極除污裝置的設計實現了陰極吸附物的自動化清理,極大的提高了工作效率。
權利要求書
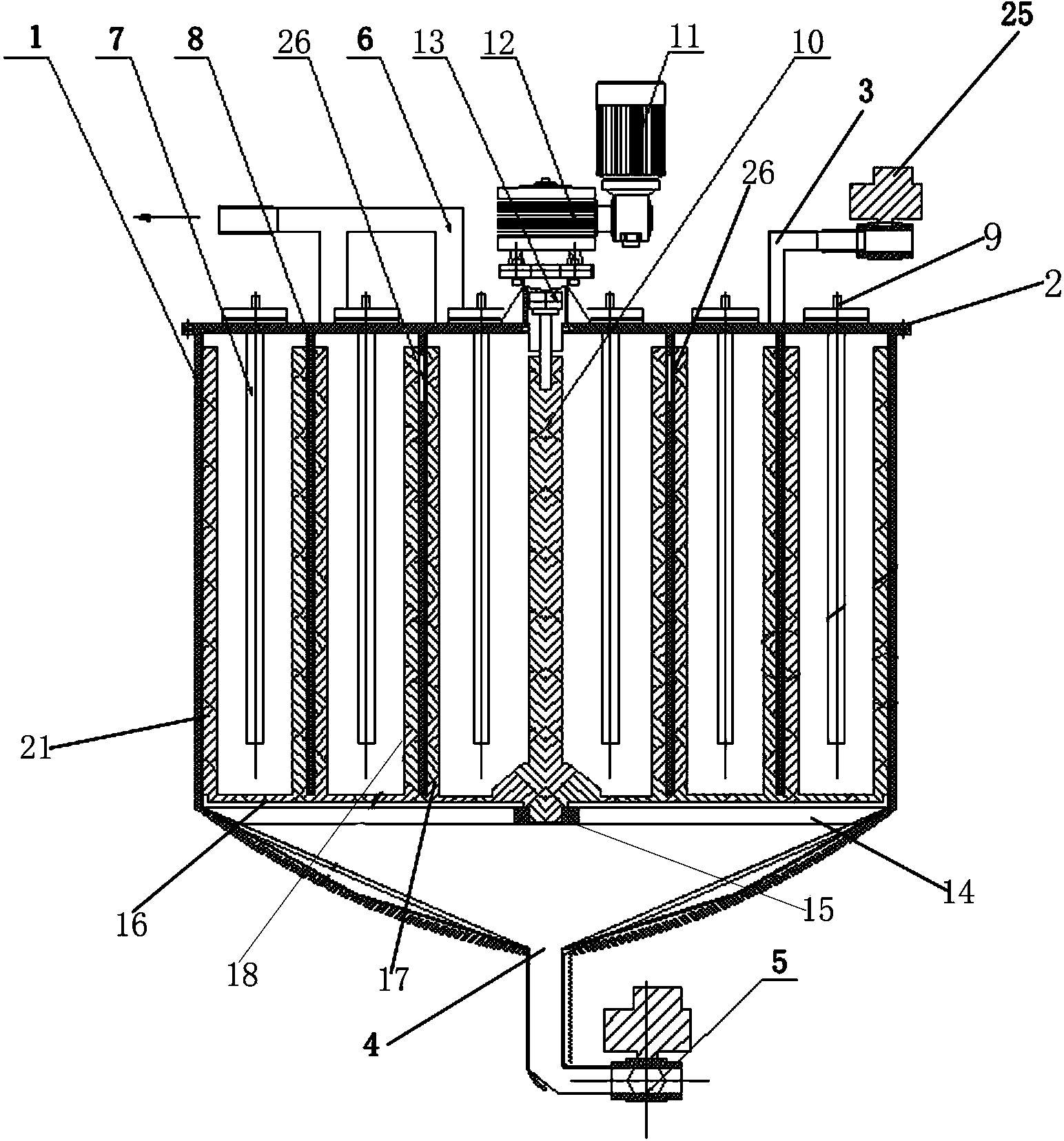
1.一種漸進三級電化學水處理設備,包括呈筒狀且上端口設有上端蓋(2)的缸體(1);上端蓋(2)上開有進水口(3);缸體(1)的底部設有排污口(4),排污口(4)連接有排污管路,排污管路上設有排污閥門(5);缸體(1)的上端蓋(2)上開有出水口(6);其特征在于:所述缸體(1)內部設有三個直徑不等的筒狀網型陽極(7);缸體(1)內部還設有兩個直徑不等的筒狀陰極(8);所述筒狀網型陽極(7)與筒狀陰極(8)的上下端均開口,所述兩個筒狀陰極(8)與三個筒狀網型陽極(7)交替嵌套排列;位于最內側的為筒狀網型陽極(7),位于最外側與缸體(1)側內壁相鄰的也為筒狀網型陽極(7);筒狀網型陽極(7)與筒狀陰極(8)的下端部與缸體(1)內底面有間隔;所述筒狀網型陽極(7)與筒狀陰極(8)的上端部與缸體(1)的上端蓋(2)的下端面相固定連接;所述筒狀網型陽極(7)與缸體(1)的上端蓋(2)絕緣連接;所述每個筒狀網型陽極(7)的上端均通過多個絕緣接線端(9)穿過開在上端蓋(2)上的孔伸出缸體(1);位于最內側的筒狀陰極(8)靠近上端口的位置開有導流口(26)。
2.如權利要求1所述的漸進三級電化學水處理設備,其特征在于,所述筒狀陰極(8)以及筒狀網型陽極(7)的軸線與缸體(1)的軸線重合;還包括陰極除污裝置;所述陰極除污裝置包括豎直設置在缸體(1)內部中心的刮刀連動軸(10)以及設在缸體(1)外部的動力系統;所述動力系統包括電機(11)以及由電機(11)驅動的減速器(12),所述減速器(12)的傳動軸(13)由位于缸體(1)上端蓋(2)中心的孔伸入缸體(1)內部并與刮刀連動軸(10)的上端相連接;所述缸體(1)內通過設置在缸體(1)內壁上的水平支架(14)設有一個位于缸體(1)下中部中心的低于筒狀網型陽極(7)以及筒狀陰極(8)下端面的軸承(15),刮刀連動軸(10)的下端設在軸承(15)內;靠近刮刀連動軸(10)下端處由刮刀連動軸(10)向外水平輻射設有若干個環繞刮刀連動軸(10)均勻排列且等長的支撐板(16);所述每個筒狀陰極(8)均配有多個底部設在支撐板(16)上的豎直設置的第一刮刀,所述每個第一刮刀包括以刀刃相對且分別位于筒狀陰極(8)內外兩側的豎直設置的呈長條形的第一刀片(17)與第二刀片(18);第一刀片(17)以及第二刀片(18)的底部均設在支撐板(16)上;對應于每個筒狀陰極(8)的多個第一刮刀稱為一組,每組第一刮刀的第一刀片(17)之間由下向上水平設有多個第一連接圈(19),第二刀片(18)之間由下向上水平設有多個第二連接圈(20);每組第一刮刀的第一連接圈(19)與第二連接圈(20)成對設置;缸體(1)內壁配有多個底部固定在支撐板(16)另一端上的豎直設置的第二刮刀(21),所述第二刮刀(21)刀刃向外并與缸體(1)內壁相配合;所述第二刮刀(21)之間由下而上水平設有若干個第三連接圈(22)。
3.如權利要求2所述的漸進三級電化學水處理設備,其特征在于,缸體(1)的中下部呈向下收縮的漏斗狀,所述排污口(4)設在漏斗狀缸體的最下端;所述水平支架(14)設在缸體(1)中下部口徑開始收縮的位置。
4.如權利要求2或3所述的漸進三級電化學水處理設備,其特征在于,所述支撐板(16)之間還設有底部連接圈(23);所述底部連接圈(23)包括連接在支撐板(16)的另一端之間的外部連接圈以及連接在支撐板(16)非端部之間的中部連接圈;中部連接圈包括連接在相鄰支撐板(16)之間與每個第一刮刀對應的位置處的多個圓弧狀連接板,對應于同一組第一刮刀的多個圓弧狀連接板組成一個中部連接圈。
5.如權利要求2或3所述的漸進三級電化學水處理設備,其特征在于,所述第一刮刀共有兩組,每組共有四個第一刮刀,四個第一刮刀相互間均勻環布;第二刮刀(21)為四個,四個第二刮刀(21)之間均勻環布。
6.如權利要求4所述的漸進三級電化學水處理設備,其特征在于,所述第一刮刀共有兩組,每組共有四個第一刮刀,四個第一刮刀相互間均勻環布;第二刮刀(21)為四個,四個第二刮刀(21)之間均勻環布。
7.如權利要求2或3所述的漸進三級電化學水處理設備,其特征在于,刮刀連動軸(10)的上端設有卡槽(24),刮刀連動軸(10)通過卡槽(24)與減速器(12)的傳動軸(13)相連接。
8.如權利要求4所述的漸進三級電化學水處理設備,其特征在于,刮刀連動軸(10)的上端設有卡槽(24),刮刀連動軸(10)通過卡槽(24)與減速器(12)的傳動軸(13)相連接。
9.如權利要求6所述的漸進三級電化學水處理設備,其特征在于,刮刀連動軸(10)的上端設有卡槽(24),刮刀連動軸(10)通過卡槽(24)與減速器(12)的傳動軸(13)相連接。
說明書
漸進三級電化學水處理設備
技術領域
本實用新型涉及電化學工業循環冷卻水處理、污水處理領域,具體為一種漸進三級電化學水處理設備。
背景技術
目前用于工業循環冷卻水處理、污水處理的電化學方法一般是通過陰陽兩電極對工業循環冷卻水、污水進行電解處理,在外加電流作用下:方法1、犧牲陽極法:如電解法使陽極(陽極采用Fe、Al)在電解時產生大量的陽離子(如Fe離子、Al離子等),與氫氧根離子結合生成的Fe(OH)2具有絮凝、吸附和沉淀的作用,能夠對被處理水中的眾多雜物進行絮凝、吸附、沉淀去除。方法2、電化學陰極保護法:陽極采用貴金屬涂層,阻止陽極犧牲,通過電解產生的化學反應,使被處理的水中需要去除的物質在專用陰極吸附、結垢析出(比如碳酸鹽、重金屬),通過刮垢作用使其從陰極脫落,再通過反沖洗方法把需要去除的物質排出運行系統。
目前常用的電化學法去除含重金屬水中的重金屬離子的處理設備和去除水中結垢物質的水處理設備,由于電極與被處理水接觸面積較小,水中的有毒有害物質去除效果不明顯,不能達到回用或者排放的標準,因此需要一種去除能力強的水處理設備。陰極在水處理過程中會吸附大量的重金屬及其它物質,處理結束后需要清理,目前多采用人工刮掉,費時費力,因此需要一種能夠快速、自動清理陰極吸附的雜質的裝置。
發明內容
本實用新型為解決目前電化學水處理過程中結垢物質和有毒有害物質處理效果不夠明顯以及陰極上的被吸附物質清理較為困難的技術問題,提供一種漸進三級電化學水處理設備。
本實用新型是采用如下技術方案實現的:一種漸進三級電化學水處理設備,包括呈筒狀且上端口設有上端蓋的缸體;上端蓋上開有進水口;缸體的底部設有排污口,排污口連接有排污管路,排污管路上設有排污閥門;缸體的上端蓋上開有出水口;所述缸體內部設有三個直徑不等的筒狀網型陽極;缸體內部還設有兩個直徑不等的筒狀陰極;所述筒狀網型陽極與筒狀陰極的上下端均開口,所述兩個筒狀陰極與三個筒狀網型陽極交替嵌套排列;位于最內側的為筒狀網型陽極,位于最外側與缸體側內壁相鄰的也為筒狀網型陽極;筒狀網型陽極與筒狀陰極的下端部與缸體內底面有間隔;所述筒狀網型陽極與筒狀陰極的上端部與缸體的上端蓋的下端面相固定連接;所述筒狀網型陽極與缸體的上端蓋絕緣連接;所述每個筒狀網型陽極的上端均通過多個絕緣接線端穿過開在上端蓋上的孔伸出缸體;位于最內側的筒狀陰極靠近上端口的位置開有導流口。
待處理水由缸體上部的進水口進入缸體內部,并逐漸充滿缸體,缸體內的陽極與陰極兩兩配對,其中位于最外側的陽極與缸體內壁配對,將陽極的絕緣接線端與電源的正極連接,電源負極與缸體的外殼連接,缸體的外殼與筒狀陰極相連通,這樣陰陽極通過電流的作用,開始對被處理水中的結垢物質和有害物質特別是重金屬離子進行電化學吸附處理。結垢物質和重金屬離子被吸附在陰極上,結垢物質和形成重金屬物質在陰極析出。由于采用三對筒狀的陽極以及陰極,擴大了陰極與被處理水的接觸面積,極大的增強了吸附的功能,除污效果更好。吸附結束后,陰極表面的結垢物質和重金屬物質和碳酸鹽可通過刀片刮落,結垢物質和重金屬物質和碳酸鹽向下落至缸體底部,并反沖洗經底部的排污口排出。被處理的水經過出水口排出循環利用。筒狀陽極與筒狀陰極的下端部與缸體內底面有間隔,這樣需要處理的水能夠經筒狀陽極與筒狀陰極與缸體內底面之間的間隔充滿整個缸體。所述網型陽極表面呈網格狀,有利于被處理水的流動以及水中雜物的吸附。導流口能夠促進缸體內的水上下循環流動,促進水體與陰陽電極的接觸,使水體中的雜質吸附的更加徹底。
進一步的,所述筒狀陰極以及筒狀網型陽極的軸線與缸體的軸線重合;還包括陰極除污裝置;所述陰極除污裝置包括豎直設置在缸體內部中心的刮刀連動軸以及設在缸體外部的動力系統;所述動力系統包括電機以及由電機驅動的減速器,所述減速器的傳動軸由位于缸體上端蓋中心的孔伸入缸體內部并與刮刀連動軸的上端相連接;所述缸體內通過設置在缸體內壁上的水平支架設有一個位于缸體下中部中心的低于筒狀網型陽極以及筒狀陰極下端面的軸承,刮刀連動軸的下端設在軸承內;靠近刮刀連動軸下端處由刮刀連動軸向外水平輻射設有若干個環繞刮刀連動軸均勻排列且等長的支撐板;所述每個筒狀陰極均配有多個底部設在支撐板上的豎直設置的第一刮刀,所述每個第一刮刀包括以刀刃相對且分別位于筒狀陰極內外兩側的豎直設置的呈長條形的第一刀片與第二刀片;第一刀片以及第二刀片的底部均設在支撐板上;對應于每個筒狀陰極的多個第一刮刀稱為一組,每組第一刮刀的第一刀片之間由下向上水平設有多個第一連接圈,第二刀片之間由下向上水平設有多個第二連接圈;每組第一刮刀的第一連接圈與第二連接圈成對設置;缸體內壁配有多個底部固定在支撐板另一端上的豎直設置的第二刮刀,所述第二刮刀刀刃向外并與缸體內壁相配合;所述第二刮刀之間由下而上水平設有若干個第三連接圈。
陰極吸附結束后,開啟電機帶動刮刀連動軸轉動并帶動支撐板以及設在支撐板上的第一刮刀以及第二刮刀轉動,將筒狀陰極表面以及缸體內壁的陰極上的吸附、結垢物刮掉,被刮掉的吸附、結垢物落入缸體的底部,打開排污口通過反沖洗將吸附、結垢物以及其它雜物排出缸體。所述第一刮刀與筒狀陰極相配,是指第一刮刀的兩個刀片分別位于筒狀陰極的內外兩側,且與筒狀陰極的間距可以保證刮刀正常轉動將陰極表面吸附的重金屬、結垢物質刮掉,同時又不會對陰極產生損害,所述第二刮刀與缸體的內側壁相配合,也是指第二刮刀可以將缸體內壁上的吸附、結垢物刮掉,同時不會損壞內壁表面。采用了在陰極表面去除吸附、結垢物質的刮刀裝置后除污實現了自動化,除污更快且效果更好。第一連接圈與第二連接圈用于加固第一刮刀的第一、第二刀片,第三連接圈用于加固第二刮刀。
本實用新型所述的水處理設備采用三級結構進行水處理,水與電極接觸面積大,去污能力強;陰極除污裝置的設計實現了陰極吸附、結垢物的自動化清理,極大的提高了工作效率。







