申請日2013.09.24
公開(公告)日2014.03.19
IPC分類號F17D1/14
摘要
本實用新型提供一種滲濾液處理車在線泵組的管網結構,包括多個在線泵、多個膜柱、以及管網,所述管網包括原水進水管、濃縮液循環管、在線泵進水管、在線泵出水管、膜柱進水管、膜柱濃縮液出水管、及濃縮液排放管,所述原水進水管用于引入原水至所述多個在線泵的進口處,所述濃縮液循環管連接在所述膜柱濃縮液出水管與所述在線泵進水管之間,所述多個在線泵并聯設置在所述在線泵進水管與所述在線泵出水管之間,所述在線泵出水管連接至所述膜柱進水管上,所述多個膜柱并聯設置在所述膜柱進水管與所述膜柱濃縮液出水管之間,所述濃縮液排放管連接至所述膜柱濃縮液出水管上。
權利要求書
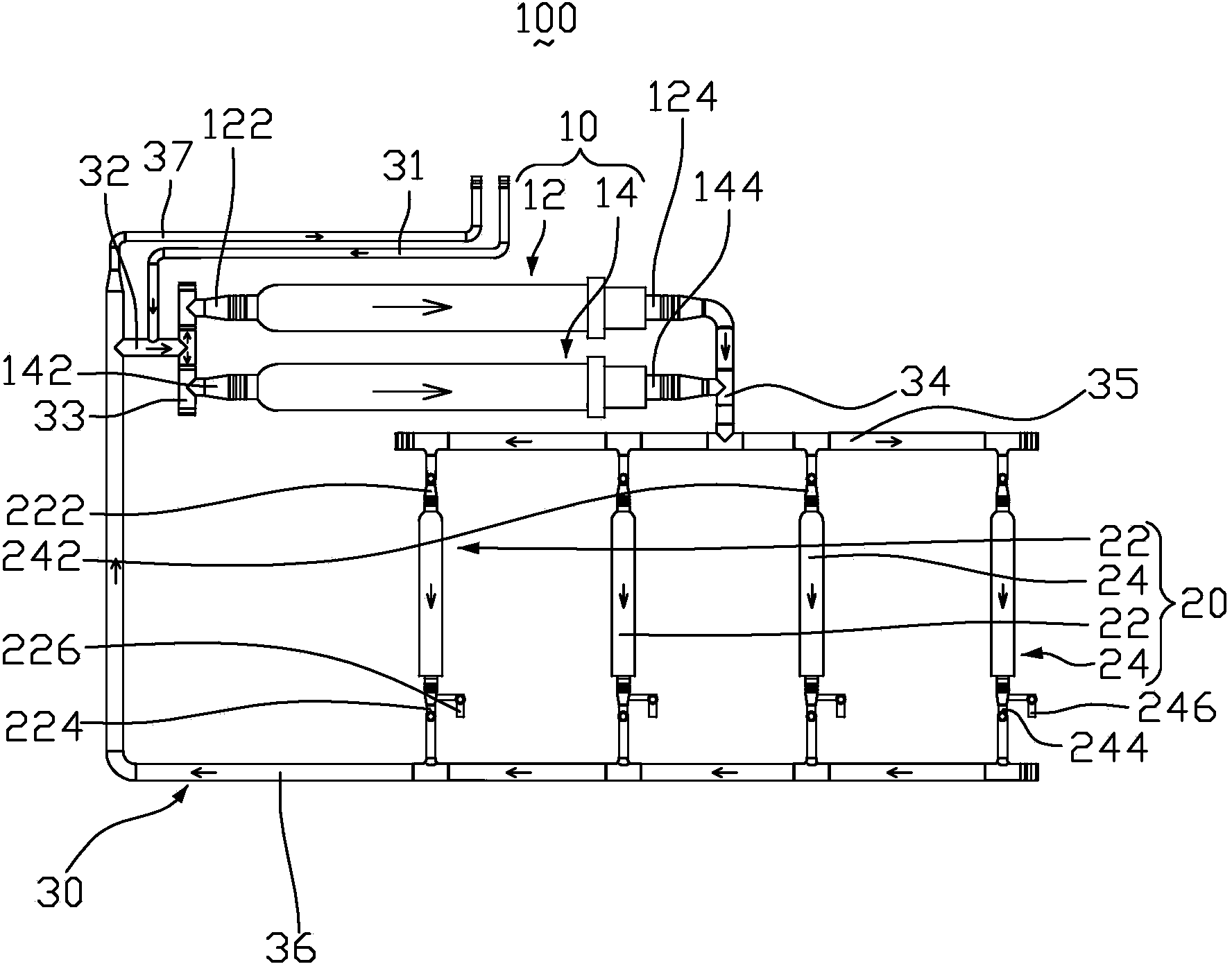
1.一種滲濾液處理車在線泵組的管網結構(100),其特征在于:包括多個在線泵(10)、 多個膜柱(20)、以及管網(30),所述管網(30)包括原水進水管(31)、濃縮液循環管(32)、 在線泵進水管(33)、在線泵出水管(34)、膜柱進水管(35)、膜柱濃縮液出水管(36)、及 濃縮液排放管(37),所述原水進水管(31)用于引入原水至所述多個在線泵(10)的進口(122、 142)處,所述濃縮液循環管(32)連接在所述膜柱濃縮液出水管(36)與所述在線泵進水管 (33)之間,所述多個在線泵(10)并聯設置在所述在線泵進水管(33)與所述在線泵出水 管(34)之間,所述在線泵出水管(34)連接至所述膜柱進水管(35)上,所述多個膜柱(20) 并聯設置在所述膜柱進水管(35)與所述膜柱濃縮液出水管(36)之間,所述濃縮液排放管 (37)連接至所述膜柱濃縮液出水管(36)上。
2.如權利要求1所述的滲濾液處理車在線泵組的管網結構(100),其特征在于:所述 原水進水管(31)連接至所述濃縮液循環管(32)或所述在線泵進水管(33)上。
3.如權利要求1所述的滲濾液處理車在線泵組的管網結構(100),其特征在于:所述 原水進水管(31)連接至所述濃縮液循環管(32)上,且所述原水進水管(31)的出水端與 所述濃縮液循環管(32)的中部連通。
4.如權利要求1所述的滲濾液處理車在線泵組的管網結構(100),其特征在于:所述 在線泵進水管(33)的中部與所述濃縮液循環管(32)的出水端連通,所述在線泵進水管(33) 的兩端分別與所述多個在線泵(10)的進口(122、124)連通。
5.如權利要求1所述的滲濾液處理車在線泵組的管網結構(100),其特征在于:所述 多個在線泵(10)的出口(124、144)分別與所述在線泵出水管(34)連通,所述在線泵出 水管(34)的出水端與所述膜柱進水管(35)的中部連通。
6.如權利要求5所述的滲濾液處理車在線泵組的管網結構(100),其特征在于:所述 多個膜柱(20)沿著所述膜柱進水管(35)的長度方向上均勻間隔排布。
7.如權利要求1所述的滲濾液處理車在線泵組的管網結構(100),其特征在于:所述 多個膜柱(20)并聯設置在所述膜柱進水管(35)與所述膜柱濃縮液出水管(36)的前端之 間,所述膜柱濃縮液出水管(36)的后端與所述濃縮液排放管(37)的進水端和所述濃縮液 循環管(32)的進水端連通。
8.如權利要求7所述的滲濾液處理車在線泵組的管網結構(100),其特征在于:所述 多個膜柱(20)的進口(222、242)均與所述膜柱進水管(35)連通,所述多個膜柱(20) 的濃縮液出口(224、244)均與所述膜柱濃縮液出水管(36)的前端連通。
9.如權利要求7所述的滲濾液處理車在線泵組的管網結構(100),其特征在于:所述 膜柱濃縮液出水管(36)的后端分成兩個支路,其中一個支路與所述濃縮液循環管(32)的 進水端連通,另一個支路與所述濃縮液排放管(37)的進水端連通。
10.如權利要求1至9任意一項所述的滲濾液處理車在線泵組的管網結構(100),其特 征在于:所述原水進水管(31)和所述濃縮液排放管(37)的管徑相比所述管網(30)中的 其他管體的管徑小。
說明書
滲濾液處理車在線泵組的管網結構
技術領域
本實用新型涉及垃圾滲濾液處理設備領域,尤其涉及一種滲濾液處理車在線泵組的管網 結構。
背景技術
滲濾液處理車在線泵組是滲濾液處理車的滲濾液處理系統的重要組成部分,在線泵組為 滲濾液處理系統中膜組件的過濾提供充足的循環水量和跨膜水壓。為了實現這一目的,需要 通過一定的管網結構將在線泵接入滲濾液處理系統中,以實現滲濾液處理系統的有效運行。
參照圖1、圖2所示,現有的滲濾液處理車在線泵組的管網結構200,包括在線泵70、 膜柱80、及管網90。在線泵70包括第一線泵72和第二在線泵74。膜柱80包括第一膜柱82 和第二膜柱84。管網90包括原水進水管91、在線泵進水管92、在線泵出水管93、膜柱進水 管94、膜柱濃縮液出水管95、濃縮液循環管96、及濃縮液排放管97。在線泵進水管92包括 第一在線泵進水管922和第二在線泵進水管924,在線泵出水管93包括第一在線泵出水管932 和第二在線泵出水管934,膜柱進水管94包括第一膜柱進水管942和第二泵膜柱進水管944, 膜柱濃縮液出水管95包括第一膜柱濃縮液出水管952和第二膜柱濃縮液出水管954,濃縮液 循環管96包括第一濃縮液循環管962、第二濃縮液循環管964和第三濃縮液循環管966。
現有的滲濾液處理車在線泵組的管網結構200采用兩條串聯管路,其管網結構為:第一 在線泵進水管922、第一在線泵72、第一在線泵出水管932、第一膜柱進水管942、第一膜柱 82、及第一濃縮液出水管952串聯,然后第一在線泵進水管922進水端分別與原水進水管91 出水端和第一濃縮液循環管962的出水端連通,第一濃縮液出水管952出水端分別與第一濃 縮液循環管962的進水端和第二濃縮液循環管964的進水端連通;第二在線泵進水管924、 第二在線泵74、第二在線泵出水管934、第二膜柱進水管944、第二膜柱84、第二濃縮液出 水管954串聯,然后第二在線泵進水管924進水端分別與第二濃縮液循環管964的出水端和 第三濃縮液循環管966出水端連通,第二濃縮液出水管954的出水端分別與第三濃縮液循環 管966進水端和濃縮液排放管97進水端連通。
現有的滲濾液處理車在線泵組的管網結構200存以下弊。
1、根據流體力學原理,由于過濾后的濃縮液經循環支路962進入原水的循環支路,且循 環量約為進入原水的8倍,從而使得原水只可能通過第一在線泵72進入第一膜柱82,而不 可能分配到第二在線泵74進入第二膜柱84,且第二膜柱84的濃縮液不可能分配進入到第一 在線泵72進而進入第一膜柱82,因此原水分配嚴重不均,而第一在線泵72進而進入第一膜 柱82中的水為過濾后的濃縮液水。
2、第一膜柱82進入的水中,未經過濾的原水占的比重大,水質較差,水量較大,長期 運行將導致第一膜柱82工作性能快速下降,甚至損傷第一膜柱82。
3、采用兩根濃縮液循環管輸送在線泵70的循環水,管道支管多,管路焊接難度大;水 質水量分配嚴重不均,而造成局部管路壓力過大,壓力最大處可高達7MP。
實用新型內容
鑒于上述狀況,有必要提供一種優化的滲濾液處理車在線泵組的管網結構。
本實用新型提供一種滲濾液處理車在線泵組的管網結構,包括多個在線泵、多個膜柱、 以及管網,所述管網包括原水進水管、濃縮液循環管、在線泵進水管、在線泵出水管、膜柱 進水管、膜柱濃縮液出水管、及濃縮液排放管,所述原水進水管用于引入原水至所述多個在 線泵的進口處,所述濃縮液循環管連接在所述膜柱濃縮液出水管與所述在線泵進水管之間, 所述多個在線泵并聯設置在所述在線泵進水管與所述在線泵出水管之間,所述在線泵出水管 連接至所述膜柱進水管上,所述多個膜柱并聯設置在所述膜柱進水管與所述膜柱濃縮液出水 管之間,所述濃縮液排放管連接至所述膜柱濃縮液出水管上。
根據本實用新型的一個實施例,所述原水進水管連接至所述濃縮液循環管或所述在線泵 進水管上。
根據本實用新型的一個實施例,所述原水進水管連接至所述濃縮液循環管上,且所述原 水進水管的出水端與所述濃縮液循環管的中部連通。
根據本實用新型的一個實施例,所述在線泵進水管的中部與所述濃縮液循環管的出水端 連通,所述在線泵進水管的兩端分別與所述多個在線泵的進口連通。
根據本實用新型的一個實施例,所述多個在線泵的出口分別與所述在線泵出水管連通, 所述在線泵出水管的出水端與所述膜柱進水管的中部連通。
根據本實用新型的一個實施例,所述多個膜柱沿著所述膜柱進水管的長度方向上均勻間 隔排布。
根據本實用新型的一個實施例,所述多個膜柱并聯設置在所述膜柱進水管與所述膜柱濃 縮液出水管的前端之間,所述膜柱濃縮液出水管的后端與所述濃縮液排放管的進水端和所述 濃縮液循環管的進水端連通。
根據本實用新型的一個實施例,所述多個膜柱的進口均與所述膜柱進水管連通,所述多 個膜柱的濃縮液出口均與所述膜柱濃縮液出水管的前端連通。
根據本實用新型的一個實施例,所述膜柱濃縮液出水管的后端分成兩個支路,其中一個 支路與所述濃縮液循環管的進水端連通,另一個支路與所述濃縮液排放管的進水端連通。
根據本實用新型的一個實施例,所述原水進水管和所述濃縮液排放管的管徑相比所述管 網中的其他管體的管徑小。
如上所述,本實用新型實施例的技術方案帶來的有益效果是:本實用新型的滲濾液處理 車在線泵組的管網結構,利用濃縮液循環管起到均勻水質的作用,利用在線泵進水管起到均 勻分配進水的作用,使進入兩并聯在線泵的水質和水量相同,利用在線泵出水管從膜柱進水 管的中部接入,阻力相等且進入各膜柱的水量相等,實現膜柱性能均勻發揮,各膜柱產水均 勻。







