申請日2013.09.24
公開(公告)日2014.01.15
IPC分類號C02F9/14
摘要
本發明提供了一種高效脫氮除磷污水處理系統及其工藝,涉及污水處理技術領域。針對現有的處理系統單位面積污水處理能力有限,造成設施和設備的浪費;處理工藝采用重力沉淀,固液分離效率低,污泥濃縮效果差,導致處理能力低下問題。系統包括串聯的脫氮除磷反應單元和固液分離單元,脫氮除磷反應單元包括依次連通的厭氧區、缺氧區和好氧區,好氧區與缺氧區連通,固液分離單元包括相連通的二沉池、溶氣深池和氣浮池,好氧區的輸出端與二沉池的輸入端連通。工藝:一、厭氧釋磷反應;二、反硝化反應;三、碳氧化、好氧吸磷和硝化反應;四、泥水分離;五、深池溶氣;六、固液分離。本發明尤其適用于污水處理廠的改造工程。
權利要求書
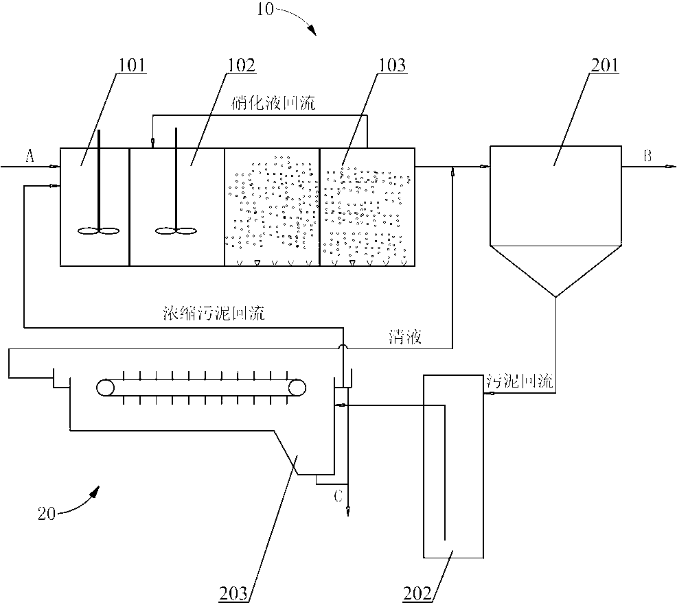
1.一種高效脫氮除磷污水處理系統,包括相連通的脫氮除磷反應單元和固液分離單元,所述脫氮除磷反應單元包括依次連通的厭氧區、缺氧區和好氧區,所述好氧區與所述缺氧區的輸入端通過管路連通,所述固液分離單元包括二沉池,所述好氧區的輸出端與所述二沉池的輸入端連通,其特征在于:所述固液分離單元還包括依次連通的溶氣深池和氣浮池,所述二沉池的輸出端與所述溶氣深池的輸入端連通。
2.根據權利要求1所述的高效脫氮除磷污水處理系統,其特征在于:所述溶氣深池的深度為30m~100m。
3.根據權利要求2所述的高效脫氮除磷污水處理系統,其特征在于:所述溶氣深池深度為40m~50m。
4.根據權利要求1所述的高效脫氮除磷污水處理系統,其特征在于:所述氣浮池通過管路與所述厭氧區的輸入端連通。
5.一種采用權利要求1至4任一項權利要求所述的污水處理系統的高效脫氮除磷污水處理工藝,步驟如下:
一、厭氧釋磷反應:在所述厭氧區,待處理污水與所述氣浮池回流到所述厭氧區的濃縮的活性污泥混合發生厭氧釋磷反應;
二、反硝化反應:在所述缺氧區,經所述步驟一后的所述厭氧區的出水,與所述好氧區回流到所述缺氧區的硝化液進行反硝化反應;
三、碳氧化、好氧吸磷和硝化反應:在所述好氧區,經所述步驟二后的所述缺氧區的出水,進入所述好氧區進行碳氧化、好氧吸磷和硝化過程,所述好氧區的出水一部分回流至所述缺氧區,另一部分進入所述二沉池;
四、泥水分離:經所述步驟三的好氧區出水在所述二沉池中進行泥水分離;
五、深池溶氣:經所述步驟四泥水分離后的泥水混合物回流進入所述溶氣深池中完成溶氣過程;
六、固液分離:經所述步驟五的泥水混合物進入所述氣浮池進行濃縮,所述氣浮池表面形成的濃縮的活性污泥回流至所述厭氧區,其余則作為剩余污泥排出系統。
6.根據權利要求5所述的高效脫氮除磷污水處理工藝,其特征在于:所述步驟五中,所述二沉池回流的泥水混合物是進入深度為30m~100m的所述溶氣深池進行加壓溶氣的。
7.根據權利要求6所述的高效脫氮除磷污水處理工藝,其特征在于:所述溶氣深池的深度為40m~50m。
8.根據權利要求5所述的高效脫氮除磷污水處理工藝,其特征在于:所述步驟六中,所述氣浮池回流至所述厭氧區的所述濃縮的活性污泥量占所述二沉池回流污泥總量的30%~60%。
9.根據權利要求8所述的高效脫氮除磷污水處理工藝,其特征在于:所述氣浮池回流至所述厭氧區的所述濃縮的活性污泥占所述二沉池回流污泥總量的45%。
說明書
一種高效脫氮除磷污水處理系統及其工藝
技術領域
本發明涉及污水處理技術領域,特別涉及一種采用深池氣浮的高效率的脫氮除磷污水處理系統及其工藝。
背景技術
隨著國民經濟的快速發展,城市污水的處理量及處理標準均日益提高,許多污水處理廠因出水已不能滿足要求,而面臨需升級改造的窘境。直接擴建新工程不僅需要大量的工程投資,而且還需新增建設用地,而目前我國正處于工業化、城鎮化快速發展時期,城市地價持續攀升,建設用地十分緊缺。因此,采取措施深入發掘現有污水處理設施的潛力便顯得十分必要。
長期的污水處理廠設計運行經驗表明:污水處理工藝的效能與系統中活性污泥的濃度息息相關,而活性污泥的濃度又受泥水分離效果的限制。
專利號200410091587.8,授權公告號CN 1309665C,名稱為脫氮除磷工藝-NPR工藝的中國發明專利,請參見附圖1(圖中BAF為生物濾池),其處理工藝分為兩個主體生物段,第一主體生物段設置有厭氧池、缺氧池和氧保持池共三部分。在厭氧池中,回流的污泥充分釋放磷,部分有機物進行降解;在缺氧池進行反硝化脫氮,同時去除大部分有機物;氧保持池只保持溶解氧的濃度,氧保持池的出水經二沉池沉淀處理后,進入第二主體生物段,第二主體生物段的生物濾池中安裝有生物濾料,完成對污水中有機物的降解、氨氮的硝化和磷的去除;處理后的出水一部分排放,另一部分回流到缺氧池中進行反硝化。二沉池產生的污泥一部分回流到厭氧池,磷通過排泥被除去,另一部分含有磷的剩余污泥排出系統之外進行脫水處理。
上述技術方案的處理系統,其單位面積污水處理能力有限,造成設施和設備的浪費;其處理工藝中采用二沉池進行泥水分離,固液分離效率低,污泥濃縮效果差,回流到厭氧池的活性污泥濃度只能維持在2000mg/L~3000mg/L,使得生化反應池(即第一主體生物段)內的微生物難以維持較高的濃度,導致污水處理廠處理能力始終處于較低水平。因此,設計開發更加穩定高效的回流污泥濃縮系統及其工藝是迫切需要解決的技術難題。
發明內容
針對現有的污水處理系統單位面積污水處理能力有限,造成設施和設備的浪費;污水處理工藝采用重力沉淀,固液分離效率低,污泥濃縮效果差,使得
生化反應池內的微生物難以維持較高的濃度,導致處理能力低下的問題,本發明的目的是提供一種高效脫氮除磷污水處理系統及其工藝,其污水處理能力提高,且固液分離效果好,適用于脫氮除磷污水處理廠的新建工程,尤其是污水處理廠的改造工程。
本發明解決其技術問題所采用的技術方案是:它包括相連通的脫氮除磷反應單元和固液分離單元,所述脫氮除磷反應單元包括依次連通的厭氧區、缺氧區和好氧區,所述好氧區與所述缺氧區的輸入端通過管路連通,所述固液分離單元包括二沉池,所述好氧區的輸出端與所述二沉池的輸入端連通,所述固液分離單元還包括依次連通的溶氣深池和氣浮池,所述二沉池的輸出端與所述溶氣深池的輸入端連通。
進一步地,所述溶氣深池的深度為30m~100m。
優選地,所述溶氣深池深度為40m~50m。
所述氣浮池通過管路與所述厭氧區的輸入端連通。
另外,本發明還提供了一種高效脫氮除磷污水處理工藝,步驟如下:
一、厭氧釋磷反應:在所述厭氧區,待處理污水與所述氣浮池回流到所述厭氧區的濃縮的活性污泥混合發生厭氧釋磷反應;
二、反硝化反應:在所述缺氧區,經所述步驟一后的所述厭氧區的出水,與所述好氧區回流到所述缺氧區的硝化液進行反硝化反應;
三、碳氧化、好氧吸磷和硝化反應:在所述好氧區,經所述步驟二后的所述缺氧區的出水,進入所述好氧區進行碳氧化、好氧吸磷和硝化過程,所述好氧區的出水一部分回流至所述缺氧區,另一部分進入所述二沉池;
四、泥水分離:經所述步驟三的好氧區出水在所述二沉池中進行泥水分離;
五、深池溶氣:經所述步驟四泥水分離后的泥水混合物回流進入所述溶氣深池中完成溶氣過程;
六、固液分離:經所述步驟五的泥水混合物進入所述氣浮池進行濃縮,所述氣浮池表面形成的濃縮的活性污泥回流至所述厭氧區,其余則作為剩余污泥排出系統。
所述步驟五中,所述二沉池回流的泥水混合物是進入深度為30m~100m的所述溶氣深池進行加壓溶氣的。
所述溶氣深池的深度為40m~50m。
進一步地,所述步驟六中,所述氣浮池回流至所述厭氧區的所述濃縮的活性污泥量占所述二沉池回流污泥總量的30%~60%。
更進一步地,所述氣浮池回流至所述厭氧區的所述濃縮的活性污泥占所述二沉池回流污泥總量的45%。
本發明的效果在于:本發明的高效脫氮除磷污水處理系統,在二沉池后設置了串聯的溶氣深池和氣浮池,以實現高效的固液分離。溶氣深池利用水柱靜壓增加泥水混合物中的空氣溶解量,上述泥水混合物再進入氣浮池進行固液分離得到濃縮的活性污泥。與常規處理系統相比,在占地面積相同的情況下,采用本發明的具有溶氣深池和氣浮池的污水處理系統,其污水處理量增加了20%,有效提高了污水處理系統單位面積的污水處理能力。
本發明的高效脫氮除磷污水處理工藝,將經過脫氮除磷處理的泥水混合物在二沉池中進行泥水分離,再回流至溶氣深池中進行加壓溶氣,以提高混合液中的氣體含量,最后進入氣浮池進行固液分離,在氣浮池中可形成濃度為20000mg/L~40000mg/L的濃縮的活性污泥,增加了回流污泥的濃度。相比單獨采用氣浮池進行固液分離的處理工藝,本發明的處理工藝使泥水混合物中空氣溶解度增大,確保了氣浮效果,水力停留時間短,降低了能耗。本處理工藝中輸送至厭氧區的濃縮的活性污泥占二沉池回流污泥總量的30%~60%,使得進入脫氮除磷反應單元中的濃縮污泥濃度可達到5000mg/L以上,極大地提高了活性污泥的濃度,能夠充分發揮污水處理系統的處理潛力,顯著提升污染物的去除效率。







