申請日2013.09.25
公開(公告)日2014.04.16
IPC分類號C02F3/00; C02F11/14
摘要
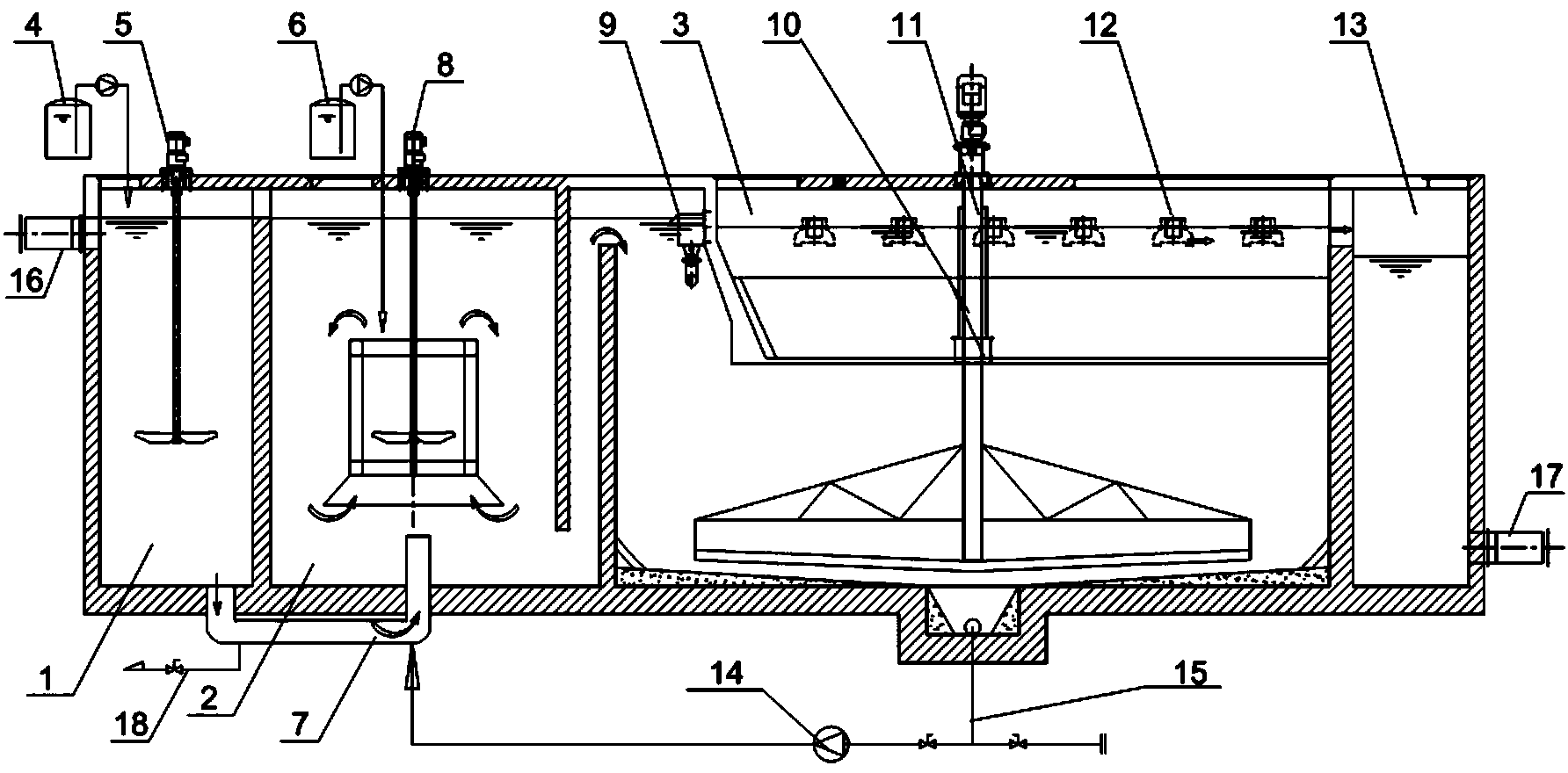
本實用新型公開了一種污泥化學除磷沉淀分離裝置,本實用新型包括依次連接的混凝反應池、絮凝反應池、澄清池和清水池組成,所述混凝反應池與絮凝反應池之間用污泥連接管連接,所述澄清池的底部設置有污泥排放管,且污泥排放管通過管道與污泥連接管連接,并在污泥排放管與污泥連接管之間的管道上設置污泥回流泵。本裝置采用機械混凝、機械絮凝使藥劑和污水的混合更快速、更充分,因此強化了混凝化學除磷、絮凝的效果,同時采用污泥循環回流節約了藥劑,提高除磷和沉淀效率。
權利要求書
1.一種污泥化學除磷沉淀分離裝置,其特征在于:包括依次連接的混凝反應池(1)、絮凝反應池(2)、澄清池(3)和清水池(13)組成,所述混凝反應池(1)與絮凝反應池(2)之間用污泥連接管(7)連接,所述澄清池(3)的底部設置有污泥排放管(15),且污泥排放管(15)通過管道與污泥連接管(7)連接,并在污泥排放管(15)與污泥連接管(7)之間的管道上設置污泥回流泵(14)。
2.根據權利要求1所述的一種污泥化學除磷沉淀分離裝置,其特征在于:所述污泥連接管(7)設置有連接管放空管(18)。
3.根據權利要求1所述的一種污泥化學除磷沉淀分離裝置,其特征在于:所述混凝反應池(1)中安裝有混凝攪拌機(5)。
4.根據權利要求1所述的一種污泥化學除磷沉淀分離裝置,其特征在于:所述絮凝反應池(2)中安裝有絮凝攪拌機(8)。
5.根據權利要求1所述的一種污泥化學除磷沉淀分離裝置,其特征在于: 所述澄清池(3)中安裝有刮泥機(11),澄清池(3)進水端設置有浮渣斗(9)。
說明書
一種污泥化學除磷沉淀分離裝置
技術領域
本實用新型涉及污泥除磷處理,具體涉及一種污泥化學除磷沉淀分離裝置。
背景技術
在污水處理工藝中采用活性污泥法時,污泥回流是污水處理工藝中的最重要環節。需要將沉淀池中污泥回流回流到生物池,但是由于含磷量過高,直接影響污水生物處理系統除磷效果,除去的磷又回到生物池中;還有污泥含水過高回流量增加,降低生物池中活性污泥含量。因此有必要對污泥進行化學除磷和沉淀分離操作。
實用新型內容
本實用新型的目的在于提供一種能將回流污泥進行化學除磷和沉淀分離的裝置,提高污水生物處理系統的除磷效果。
本實用新型的目的主要通過以下技術方案實現:一種污泥化學除磷沉淀分離裝置包括依次連接的混凝反應池、絮凝反應池、澄清池和清水池組成,所述混凝反應池與絮凝反應池之間用污泥連接管連接,所述澄清池的底部設置有污泥排放管,且污泥排放管通過管道與污泥連接管連接,并在污泥排放管與污泥連接管之間的管道上設置污泥回流泵。
所述污泥連接管設置有連接管放空管。連接管放空管有效防止污泥連接管堵塞。
所述混凝反應池中安裝有混凝攪拌機。
所述絮凝反應池中安裝有絮凝攪拌機。
進一步的,所述澄清池中安裝有刮泥機,澄清池進水端設置有浮渣斗。
本實用新型與現有技術相比具有以下優點和有益效果:本裝置由機械混凝、機械絮凝代替了水力混凝、水力絮凝,由于機械攪拌使藥劑和污水的混合更快速、更充分,因此強化了混凝化學除磷、絮凝的效果,同時也節約了藥劑,抗沖擊負荷能力強,懸浮物的去除率高。采用污泥循環回流,可減少藥劑使用,提高除磷和沉淀效率。







