申請日2013.09.25
公開(公告)日2013.12.25
IPC分類號C02F9/14
摘要
本發明涉及一種聚合物采油污水深度處理系統。本發明屬于污水處理技術領域。一種聚合物采油污水深度處理系統,包括隔油機構、緩沖機構、臭氧氣浮機構、循環處理反應機構及膜生物反應器;隔油機構油水自然分離進入緩沖機構;緩沖機構的污水經過均質、均量后進入臭氧氣浮機構;臭氧氣浮機構設有接觸區、分離區、出水區、排渣區、出水管道,污水經過絮凝、臭氧化和氣浮三重作用后進入循環處理反應機構;循環處理反應機構設有生物選擇器、主反應區、集水區、污泥回流管道及曝氣管道;膜生物反應器設有膜組件、出水管道和曝氣管道,污水經過膜生物反應器生物處理和膜分離后外排。本發明具有處理效率高,出水水質好,結構緊湊,占地小,高效節能等優點。
權利要求書
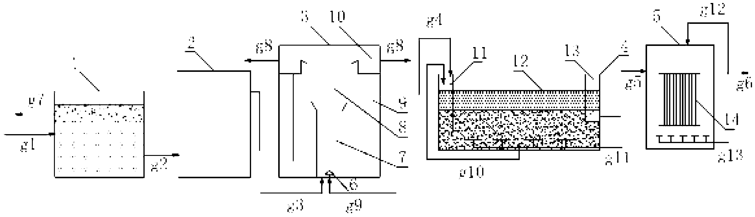
1.一種聚合物采油污水深度處理系統,其特征是:處理系統包括隔油機構、緩沖機構、 臭氧氣浮機構、循環處理反應機構及膜生物反應器;隔油機構設有進水管道和出水 管道,聚合物采油污水經過進水管道進入隔油機構,油水自然分離后污水經出水管 道進入緩沖機構;緩沖機構設有出水管道,緩沖機構的污水經過均質、均量后經出 水管道進入臭氧氣浮機構;臭氧氣浮機構設有接觸區、分離區、出水區、排渣區、 出水管道,污水經過絮凝、臭氧化和氣浮三重作用后進入出水區經出水管道進入循 環處理反應機構,油渣進入排渣區排出;循環處理反應機構設有生物選擇器、主反 應區、集水區及曝氣管道,污水經過循環處理反應機構除碳、脫氮除磷處理后經出 水管道進入膜生物反應器,曝氣管道為循環處理反應機構生物反應提供氧氣;膜生 物反應器設有膜組件、出水管道和曝氣管道,污水經過膜生物反應器生物處理和膜 分離后經出水管道外排,曝氣管道為生物反應提供氧氣同時對膜進行空氣清洗。
2.根據權利要求1所述的聚合物采油污水深度處理系統,其特征是:隔油機構設有出 油管道,聚合物采油污水經過隔油機構進行油水自然分離后污油經出油管道排出。
3.根據權利要求1所述的聚合物采油污水深度處理系統,其特征是:臭氧氣浮機構設 有排渣管道,油渣進入排渣區經排渣管道排出。
4.根據權利要求1所述的聚合物采油污水深度處理系統,其特征是:循環處理機構設 有污泥回流管道,活性污泥由主反應區回流到生物選擇器。
5.根據權利要求1所述的聚合物采油污水深度處理系統,其特征是:膜生物反應器設 有反沖洗管道,對膜組件進行反沖洗。
說明書
一種聚合物采油污水深度處理系統
技術領域
本發明屬于污水處理技術領域,特別是涉及一種聚合物采油污水深度處理系統。
背景技術
目前,油田進入石油開采中后期,聚合物驅油技術在油田得到廣泛應用。聚合物采油 污水具有水量大、成分復雜和難以處理的特點,其中高黏度、強乳化穩定性和可生化性更 差是其區別于其它采油污水的主要特征,使得油田已建含油污水處理站的處理能力顯著下 降。同時隨著環保意識提高、水資源日趨緊張,含油污水處理技術面臨嚴峻挑戰,其發展 對油田的生存和發展起著舉足輕重的作用。
現有的煉油廠含油污水處理大部分采用“隔油除油—氣浮(或混凝、沉淀)—生化” 三段處理工藝,再輔以阻垢、緩蝕、殺菌、膜處理或物理化學法處理等。“老三套”方法 雖然有一定的效果,但是還存在很多問題,如隔油池只能去除大粒徑的油珠,不能去除水 中乳化油和溶解油;氣浮法采用空氣作為氣源,處理效果在一定范圍內達到極限,不能達 到高濃度污水的生化進水要求;經過前段物化處理后油田含油污水的COD一般在300~ 500mg/L,但污水中的有機物屬于難生物降解物質,污水中含鹽量高,可生化性差,因此 生化法處理油田含油污水的效果不是很理想。與常規水處理工藝相比,膜分離技術出水水 質更好,無需投加化學藥劑,自動化程度高,占地面積小,但是隨著運行時間增加,膜通 量成倍下降,使得出水水質惡化和需進行高頻率的清洗,最終運行成本和基建投資高。這 些技術都存在“二次污染”及投資大等技術問題。
發明內容
本發明為解決公知技術中存在的技術問題而提供一種聚合物采油污水深度處理系統。
本發明的目的是提供一種具有處理效率高,出水水質好,且具有系統結構緊湊、占地 面積小、自動化控制、高效節能等特點的聚合物采油污水深度處理系統。
本發明針對現有含油污水生化處理系統占地面積大、污泥膨脹、脫氮除磷效果不理想、 運行周期長等問題,采用循環式活性污泥工藝(CAST工藝)作為一級生化處理。CAST工 藝集曝氣與沉淀于同一池內,布置緊湊、占地省。污水分批進入機構,按曝氣、沉淀、排 水、閑置四個階段完成一個操作周期,各階段的長短均可根據進水、出水水質及污水量的 變化靈活調整,抗水質、水量沖擊能力較大。CAST機構前端設置生物選擇器,臭氧氣浮 來水首先進入生物選擇器,與從主反應區回流的活性污泥混合,減少進水有機物濃度變化, 選擇有益生物菌群,有效防止污泥膨脹,處理效果好。CAST機構缺氧和好氧交替進行, 能更好的實現脫氮除磷。
膜生物反應器(MBR)是生物處理與膜分離相結合而成的一種高效污水處理新工藝。 其工作原理是利用反應器的好氧微生物降解污水中的有機污染物,同時利用反應器內硝化 細菌轉化污水中的氨氮,通過膜的截留作用,維持高的生物量濃度,提高體積負荷,降低 污泥負荷,具有極強的抗沖擊能力,并且剩余污泥量少。MBR出水水質更好,無需投加化 學藥劑,自動化程度高,占地面積小,但是MBR對進水水質尤其是含油量有著嚴格的要求。 鑒于此,本發明將MBR工藝設置在臭氧氣浮工藝及CAST工藝后,聚合物含油污水經過臭 氧氣浮機構絮凝、臭氧化和氣浮三重作用及CAST機構生化處理后,出水水質可滿足MBR 的進水水質要求,有效控制膜污染,保證出水水質,同時降低了清洗頻率,增加膜壽命, 從而減少了成本。MBR機構設置反沖洗管道,一部分出水經反沖洗管道進入MBR膜中沖洗 膜孔,使膜孔通暢,必要的反沖洗減少了MBR膜的更換次數,簡化了反洗處理過程,節約 了成本。
控制系統選擇PLC控制器。PLC是一種專門為在工業環境下應用而設計的數字運算操 作的電子機構。它采用可以編制程序的存儲器,用來在其內部存儲執行邏輯運算、順序運 算、計時、計數和算術運算等操作的指令,并能通過數字式或模擬式的輸入和輸出,控制 各種類型的機械或生產過程。
本發明聚合物采油污水深度處理系統所采取的技術方案是:
一種聚合物采油污水深度處理系統,其特點是:處理系統包括隔油機構、緩沖機構、 臭氧氣浮機構、循環處理反應機構及膜生物反應器;隔油機構設有進水管道和出水管道, 聚合物采油污水經過進水管道進入隔油機構,油水自然分離后污水經出水管道進入緩沖機 構;緩沖機構設有出水管道,緩沖機構的污水經過均質、均量后經出水管道進入臭氧氣浮 機構;臭氧氣浮機構設有接觸區、分離區、出水區、排渣區及出水管道,污水經過絮凝、 臭氧化和氣浮三重作用后進入出水區經出水管道進入循環處理反應機構,油渣進入排渣區 排出;循環處理反應機構設有生物選擇器、主反應區、集水區、污泥回流管道及曝氣管道, 污水經過循環處理反應機構除碳、脫氮除磷處理后經出水管道進入膜生物反應器,曝氣管 道為循環處理反應機構生物反應提供氧氣,活性污泥由主反應區經過污泥回流管道回流到 生物選擇器以便于選擇優勢菌種;膜生物反應器設有膜組件、出水管道和曝氣管道,污水 經過膜生物反應器生物處理和膜分離后經出水管道外排,曝氣管道為生物反應提供氧氣并 對膜進行空氣清洗。
本發明聚合物采油污水深度處理系統還可以采用如下技術方案:
所述的聚合物采油污水深度處理系統,其特點是:隔油機構設有出油管道,聚合物采 油污水經過隔油機構進行油水自然分離后污油經出油管道排出。隔油機構是利用油與水之 間的相對密度差,通過油粒自然上浮到水面,然后將油除去的方法,主要用于去除污水中 直徑較大的粗分散性可浮油粒。
所述的聚合物采油污水深度處理系統,其特點是:臭氧氣浮機構設有排渣管道,油渣 進入排渣區經排渣管道排出。臭氧氣浮機構以臭氧代替空氣作為溶氣氣源,在分離器內部 釋放產生均勻臭氧微氣泡,同時實現臭氧氣泡與污染物的接觸粘附和對污染物的氧化過 程,最終完成氣浮分離。
所述的聚合物采油污水深度處理系統,其特點是:循環處理反應機構將曝氣池與沉淀 池合二為一,即生化反應和泥水分離在同一反應池中進行,污水分批進入機構,按曝氣、 沉淀、排水、閑置四個階段完成一個操作周期,機構前端設置生物選擇器。
所述的聚合物采油污水深度處理系統,其特點是:膜生物反應器設有反沖洗管道,對 膜組件進行反沖洗。膜生物反應器將膜分離技術與生物處理技術相結合,對污染物的去除 率高,抗污泥膨脹能力強,脫氮除磷,出水水質穩定可靠,去除SS、濁度、細菌和病毒 等。
本發明具有的優點和積極效果是:
聚合物采油污水深度處理系統由于采用了本發明全新的技術方案,與現有技術相比, 本發明針對聚合物采油污水成分復雜、高黏度、強乳化穩定性和可生化性更差等特點以及 氣浮法在含油污水處理過程中局限性,利用臭氧代替空氣與氣浮結合。臭氧具有極強的氧 化,僅次于氟,高于氯和高錳酸鉀,且臭氧在水中可短時間內自行分解,沒有二次污染。 通過高壓溶氣,增加臭氧在水中的溶解,提高臭氧有效利用率,并且使常規的氣液界面氧 化轉化為液液體系內的氧化,強化了臭氧氣體與聚合物及其他污染物的傳質作用,從而提 高了氣浮的去除效率,滿足生化進水要求。
本發明針對聚合物的存在嚴重干擾絮凝劑使用效果,使絮凝作用變差,大大增加了藥 劑的用量的問題,利用臭氧強氧化性使部分聚合物氧化分解成易生化降解的小分子有機 物,且在臭氧氣浮機構設置接觸區使來自緩沖池的聚合物采油污水與臭氧溶氣水充分接觸 粘附,不僅導致有效的預臭氧化,而且在水流上升的過程中強化絮凝作用,減少絮凝劑的 投加量控制二次污染。







